室内植物栽培装置、室内植物栽培装
转让价格:2000万元
名称:室内植物栽培装置、室内植物栽培装置及其栽培法 专利人: 牛大永 专利号:202221062932.5、202210484966.1 技术领域 本实用新型涉及植物栽培技术领域,特别涉及一种室内植物栽培装置。 背景技术 日光温室已成为重要的农业生产设施。但在封闭环境中栽培植物,随

名称:室内植物栽培装置、室内植物栽培装置及其栽培法 专利人: 牛大永 专利号:202221062932.5、202210484966.1 技术领域 本实用新型涉及植物栽培技术领域,特别涉及一种室内植物栽培装置。 背景技术 日光温室已成为重要的农业生产设施。但在封闭环境中栽培植物,随

名称:一种农作物手动播种器 专利人: 覃国潮 专利号:202311390874.8 技术领域 本发明涉及农具技术领域,具体是指一种农作物手动播种器。 背景技术 随着农业机械技术的不断进步,播种机大面积推广,极大方便了农民的播种。但在沟壑、丘陵等地区,或是农户小面积种植时,需要人工种

名称:一种多功能园林绿化机 专利人: 陈道理 专利号:201620538020.9 技术领域 本实用新型涉及园林绿化机械用具,尤其是涉及一种多工功能园林绿化机。 背景技术 随着国家城镇化的进程,园林绿化行业也发展迅速,在园林中有些景观树木树干高,树冠大,在对树冠进行修剪或者驱虫时,

名称:鱼竿防脱装置及钓具 鱼竿防脱装置 鱼竿防脱装置及钓具 专利号:CN201711239335. CN201730565527.3 CN201721645534.5 专利权人:张松表 项目介绍:本发明的目的在于提供一种鱼竿防脱装置及钓具,以解决现有技

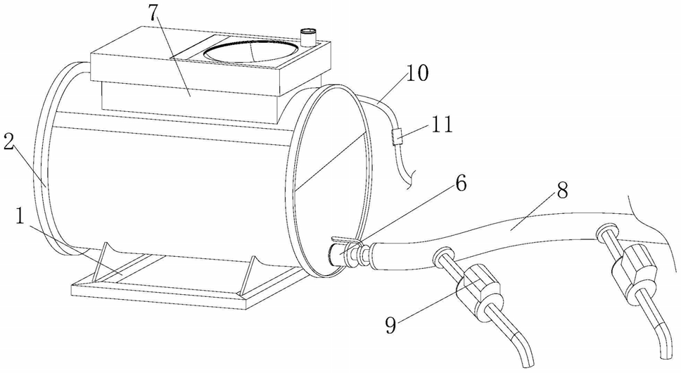
名称:一种花椒育苗用水肥灌溉装置 专利号:202011524057.3 专利人: 刘霞 技术领域 本发明涉及花椒育苗相关领域,具体是一种花椒育苗用水肥灌溉装置。 背景技术 花椒是芸香科、花椒属落叶小乔木;高可达7米的茎干上的刺常早落,枝有短刺,叶有小叶片,叶轴常有甚狭窄的叶翼;小叶

名称:一种农业温室遮阳保温的单向双驱同步卷扬机组总成 专利号: CN202021349334.7 专利人: 甘肃田丰瑞农业设施工程科技有限公司 技术领域 本实用新型属于农业工程设备领域,尤其涉及一种农业温室遮阳保温的单向双驱同步卷扬机组总成。 背景技术 现有卷扬机为双向单驱卷扬机,

名称:一种用于农业温室遮阳保温的复合软传动系统 专利号:CN201310261320.8 专利人: 田宣宁 技术领域 本发明涉及农业工程设备技术领域,特别涉及一种用于农业温室遮阳 保温的复合软传动系统。 背景技术 温室又称暖房,能透光保温,用来栽培植物的设施。在不适宜植物生 长的季

名称:一种农作物采摘装置 专利号:202223295790.X 专利人: 王永杰 技术领域 本实用新型涉及农作物采摘领域,尤其涉及一种农作物采摘装置。 背景技术 农作物的生长,离不开科学的科技生产技术,以及新型工业制造出来的能辅助农业生产的机械设备,对达到成熟度的果实进行采摘的过程

名称:一种对农作物施肥量断定的方法 专利人: 衷成华 专利号:202111519062.X 技术领域 本发明属于农作物施肥技术领域,尤其涉及到让所有农作物种植农户能够学会科学施肥技术,能够具备科学施肥的主动性,对种植的农作物实施高产、高效的平衡施肥。 背景技术 通过20多年基层政府

名称:一种具有辅助游泳功能的救生衣 专利人: 黄贤庆 专利号:202220481767.0 技术领域 本实用新型属于救生衣技术领域,尤其涉及一种具有辅助游泳功能的救生衣。 背景技术 救生衣又称救生背心,设计类似背心,采用尼龙面料或氯丁橡胶,浮力材料或可充气的材料,反光材料等制作而成

名称:一种稻田流水阀 专利人: 徐光涛 专利号:202220997519.1 技术领域 本实用新型涉及排水装置技术领域,具体而言,涉及一种稻田流水阀。 背景技术 稻田排水装置是稻田地里经常用到的一种农用机械,它可以替代传统的沙袋、土埂堵水方法,具有操作省时省力的特点,但是现有技术中

专利权人:常防震 专利名称:一种蔬菜栽种机 专利号:201911384152.5 项目简介: 本发明专利公开了一种蔬菜栽种机,具有效率高、劳动强度小、经济实用等特点。本发明的技术方案包括秧苗放置供应系统、秧苗导向系统、坑穴形成系统和秧苗钩取系统。工作过程为:调整钩爪及配套系统的间距