一种机房网线理线器
转让价格:面议
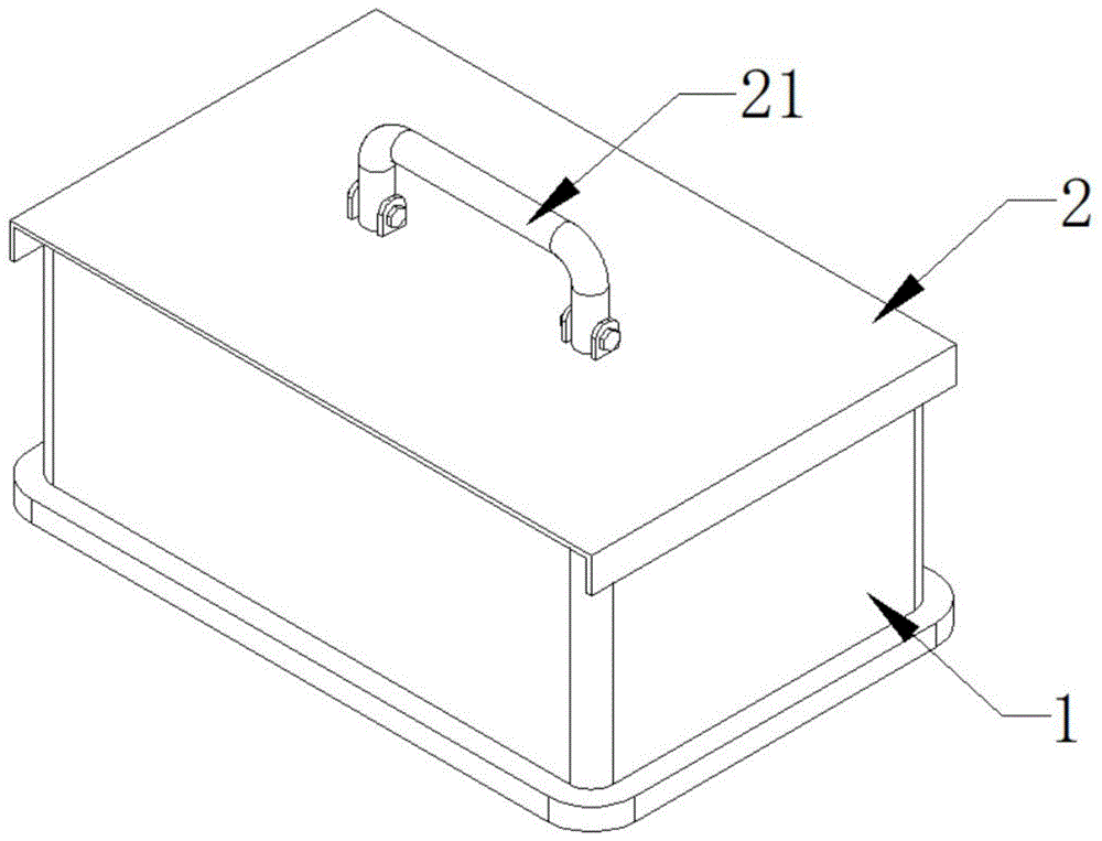
名称:一种机房网线理线器 专利人: 杨孟新 专利号:202222680147.2 技术领域 本实用新型涉及一种机房网线理线器。 背景技术 在互联网数据中心机房的施工建设过程中会涉及到铺设大量网线,由于网线自身柔软易卷曲,当网线过多或过长时会相互缠绕成团状,继而阻碍施工速度

名称:一种机房网线理线器 专利人: 杨孟新 专利号:202222680147.2 技术领域 本实用新型涉及一种机房网线理线器。 背景技术 在互联网数据中心机房的施工建设过程中会涉及到铺设大量网线,由于网线自身柔软易卷曲,当网线过多或过长时会相互缠绕成团状,继而阻碍施工速度

名称:基于PHP的高性能远程过程调用(RPC)系统及方法 专利号: CN202310872246.7 专利人:田雨 技术领域 本申请涉及的是计算机技术领域中PHP编程语言,RPC(远程过程调用)系统及方法。 背景技术 RPC(远程过程调用),在分布式系统中实现跨网络边界的通信和协作

名称:柔性显示屏展开结构 专利人: 关伟核 专利号: CN201920789329.9 技术领域 本实用新型属于显示屏技术领域,具体涉及一种柔性显示屏展开结构。 背景技术 柔性显示屏是一种可以弯曲的屏幕装置,随着社会的发展,已经出现了能够弯曲180的薄的显示屏,这种显示屏属于现有技

名称:一种房屋供水管道管理漏水保护系统 登记号:2022-A-00156674 作者:王和平

名称:一种房屋管道管理监测报警系统 申请(专利)号: CN202110884685.0 申请权利人: 王和平 技术领域 本发明涉及房屋供水系统技术领域,具体是指一种房屋管道管理监测报警系统。 背景技术 目前城市供水存在的客观缺点在于:城市基本以中高层建筑为主,供水方式以分段加压供水

名称:一种基于差压式流量计的气体流量计算方法及系统 专利号:202310499425.0 专利人: 胡治兵 技术领域 本发明涉及气体流量计算领域,具体而言,涉及一种基于差压式流量计的气体流量计算方法及系统。 背景技术 差压式流量计是一种常见的流量测量设备,它通过对物体的流量进行测量

名称:一种多屏显示可操控视频播放方法、系统、设备及介质 专利人: 罗树莹 专利号;202210406000.6 技术领域 本发明涉及视频播放领域,具体而言,涉及一种多屏显示可操控视频播放方法、系统、设备及介质。 背景技术 目前手机短视频已成为人们空闲生活的重要部分,人们能够顺应潮流

名称:一种搜索方法 专利权: 何杨洲 专利号:CN201510238007.1 技术领域 本发明涉及信息资源积累及搜索技术领域,尤其涉及一种搜索方法。 背景技术 目前,用户通常使用搜索引擎来搜索互联网上的信息。具体地,用户先输入搜索词,然后搜索引擎根据用户输入的搜索词匹配网页

专利权人:李健荣 专利名称:《一种化学教具箱》 专利号:202022536534.X 项目简介: 本实用新型公开了一种化学教具箱,包括内置的化学实验装置拼图,外包装的底部壳体,底部壳体的顶部设置有顶盖,且顶盖呈U型结构,顶盖的内侧对称设置有滑槽,顶盖的内侧顶部设置有标贴,标贴靠近顶盖的一侧设置有黏贴层,标贴的

专利名称:档案管理记录显示板 申请权利人; 高晓青 申请(专利)号:201720755388.5 技术领域 本实用新型涉及档案管理、白板结构技术领域,尤其涉及档案管理记录显示板。 背景技术 我们在车间实际生产过程中,多会根据实际生产,会临时性的在办公桌面的相关

专利名称:一种实验室用的可连接手机相机的新型拍照支架 申请权利人:秦涛 申请专利号: 202023155911.1 技术领域 本实用新型涉及实验室手机拍照支架,具体讲是一种实验室用的可连接手机相机的新型拍照支架。 背景技术 在实验室中,菌落培养平板、电泳凝胶以及薄层板这些待拍照样品

申请(专利)号: CN201811070964.8 申请权利人: 王春晖; 名称:一种语音弹幕系统 本发明提供一种语音弹幕系统,客户端能够以弹幕的形式播放所述弹幕信息,简化了用户发送弹幕的处理流程,而且所述弹幕信息可为语音信号或文本内容,改善了现有的弹幕都是均以文字的形式呈现、用户需要在发布弹幕信息