名称:自动识别测量植物样方设备
专利号:202510139784.4
专利权人:次平
技术领域
本发明涉及植物样方测量器具技术领域,具体为自动识别测量植物样方设备。
背景技术
林草综合监测-草原监测在其《技术规程》规定样方内选取3个1m×1m测产小样方进行剪割称重,剪割时样方内所有植物齐地面剪割。根据2024年《技术规程》显示在全国范围内完成4410个样地调查,经测算仅在2024年全国剪割草地面积达13230平方米,如连续监测10年剪割面积更是达13.23万平方米。
这不仅对草原生态系统带来极大的破坏,特别是对极为脆弱的高原高寒草甸草原产生不可恢复的破坏。另一方面,剪割工具(翘嘴剪刀)原始落后,给调查人员带来极为不便的同时耗费大量时间进行剪割、分类。
为了杜绝监测带来的直接破坏草原面积的影响,以及减轻调查人员的工作量,需发明一种设备将监测手段更好的服务于生态保护。
发明内容
本发明为了解决现有技术的问题,提供了自动识别测量植物样方设备。
为了解决上述技术问题,本发明是通过以下技术方案实现的:自动识别测量植物样方设备,包括机壳,机壳的一侧可拆卸的连接有交互显示器,机壳的一侧可抽拉伸缩的连接有称重设备,机壳的底端固定连接有支撑架,机壳的底端一侧设置有激光投影仪与摄像机;
机壳的内部还包括有中央处理器、电池,中央处理器与交互显示器进行电性数据连接,电池对中央处理器进行供电,称重设备、激光投影仪与摄像机均与中央处理器进行电性数据连接。
在一些具有的实施方式中,机壳一侧设有放置槽,放置槽的内壁放置有交互显示器。
在一些具有的实施方式中,放置槽的内壁设有电性插接头,可与放置在放置槽内壁的交互显示器进行电性连接。
在一些具有的实施方式中,机壳的一侧设有抽拉槽,抽拉槽的内壁与称重设备进行滑动连接,用于储存及抽拉称重设备。
在一些具有的实施方式中,支撑架由三角支架与支撑杆构成,三角支架位于支撑杆的底端。
在一些具有的实施方式中,支撑杆设置为伸缩杆,可通过调节改变长度,三角支架设置为可折叠式,便于收纳。
在一些具有的实施方式中,激光投影仪的内部输出预定形状的激光线束,对土地进行照射出投影光线范围;
激光投影仪的光线输出端设置为可调节,用于根据需要调节投影尺寸。
在一些具有的实施方式中,投影光线设置为方形。
在一些具有的实施方式中,中央处理器内部置有植物识别算法,算法可选用百度植物识别,识别的植物类型通过交互显示器进行展示说明。
在一些具有的实施方式中,交互显示器通过操作选择优势种植物种名,结合样本重量、摄像头识别功能、激光样方范围自动计算该物种在样方内的总重量。
本发明的有益效果为:
1.传统监测方法往往需要剪割大量草原植被以获取样本,这对草原生态系统造成了直接的破坏,特别是对脆弱的高原高寒草甸草原而言。而自动识别测量植物样方设备通过非破坏性监测手段,避免了剪割操作,显著降低了对草原植被的破坏程度;
2.该设备集成了摄像机、激光投影仪、样本称重台和交互显示器等多个功能模块,能够实现对样方内植物种类的快速识别、精确称重和数据分析。这不仅提高了监测的效率和准确性,还降低了人为因素导致的误差;
3.传统监测方法需要调查人员携带大量工具,进行繁琐的剪割、分类和称重操作。而自动识别测量植物样方设备简化了操作流程,调查人员只需进行简单的样本采集和触屏操作即可完成监测任务,大大减轻了工作量。
附图说明
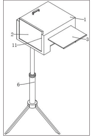
图1是本发明的整体结构示意图。
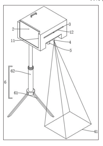
图2是本发明的投影状态结构示意图。
图3是本发明的系统控制结构示意图。
图1至图3中:1、机壳;2、交互显示器;3、称重设备;4、激光投影仪;5、摄像机;6、支撑架;7、中央处理器;8、电池;11、放置槽;12、抽拉槽;41、投影光线;61、三角支架;62、支撑杆。
具体实施方式
下面将结合本发明实施例,对本发明实施例中的技术方案进行清楚、完整地描述,显然,所描述的实施例仅仅是本发明一部分实施例,而不是全部的实施例。基于本发明中的实施例,本领域普通技术人员在没有做出创造性劳动前提下所获得的所有其他实施例,都属于本发明保护的范围。
如图1至图3所示的自动识别测量植物样方设备,包括机壳1,机壳1一侧设有放置槽11,放置槽11的内壁放置有交互显示器2,放置槽11的内壁设有电性插接头,可与放置在放置槽11内壁的交互显示器2进行电性连接;
机壳1的一侧设有抽拉槽12,抽拉槽12的内壁与称重设备3进行滑动连接,用于储存及抽拉称重设备3;
支撑架6由三角支架61与支撑杆62构成,三角支架61位于支撑杆62的底端。支撑杆62设置为伸缩杆,可通过调节改变长度,三角支架61设置为可折叠式,便于收纳;
机壳1的底端一侧设置有激光投影仪4与摄像机5,激光投影仪4的内部输出方形;
机壳1的内部还包括有中央处理器7、电池8,中央处理器7与交互显示器2进行电性数据连接,电池8对中央处理器7进行供电,称重设备3、激光投影仪4与摄像机5均与中央处理器7进行电性数据连接;
中央处理器7内部置有植物识别算法,算法可选用百度植物识别,识别的植物类型通过交互显示器2进行展示说明。
交互显示器2通过操作选择优势种植物种名,结合样本重量、摄像头识别功能、激光样方范围自动计算该物种在样方内的总重量。
综上所述,本发明具有以下工作原理:
首先,调查人员使用设备在待监测的草原上投射出一个1m×1m的样方范围。然后,摄像机开始捕捉样方内的植物图像,并通过植物识别算法进行植物种类的识别;
在识别出样方内的植物种类后,调查人员会人工采集不同种类的草种样本,并将它们放置在样本称重台上进行现场称重。称重台会实时将重量数据传输给中央处理;
调查人员通过可拆卸屏幕选择优势种植物种名,并输入相关参数(如样方面积、采集样本数量等)。中央处理器会根据这些信息,结合摄像机识别的植物种类、样本重量和激光样方范围,自动计算出该物种在样方内的总重量;
最后,中央处理器会将所有监测数据存储在内部存储器中,并可以生成详细的监测报告。这些报告可以用于后续的生态分析和保护策略制定。
该设备不仅显著提高了草原监测的效率和准确性,还大大降低了对草原生态系统的破坏。通过减少剪割面积和简化操作流程,它有效减轻了调查人员的工作量,并使他们能够更专注于生态保护工作。
尽管已经示出和描述了本发明的实施例,对于本领域的普通技术人员而言,可以理解在不脱离本发明的原理和精神的情况下可以对这些实施例进行多种变化、修改、替换和变型,本发明的范围由所附权利要求及其等同物限定。

