名称:一种花椒育苗用水肥灌溉装置
专利号:202011524057.3
专利人: 刘霞
技术领域
本发明涉及花椒育苗相关领域,具体是一种花椒育苗用水肥灌溉装置。
背景技术
花椒是芸香科、花椒属落叶小乔木;高可达7米的茎干上的刺常早落,枝有短刺,叶有小叶片,叶轴常有甚狭窄的叶翼;小叶片对生,无柄,卵形,椭圆形,稀披针形,位于叶轴顶部的较大,叶缘有细裂齿,齿缝有油点;在花椒育苗的过程中需利用水肥灌溉装置对花椒的种子进行浇灌。
现有技术花椒育苗的水肥装置结构简单,在使用时随着水肥的浇灌使水中的肥性较低,不便实时的对水和肥料进行配制,影响对种子的浇灌效率,并且在刚成长处幼苗时不便改变浇灌水的流量,容易使幼苗被冲坏,影响幼苗的成活率。
发明内容
因此,为了解决上述不足,本发明在此提供一种花椒育苗用水肥灌溉装置。
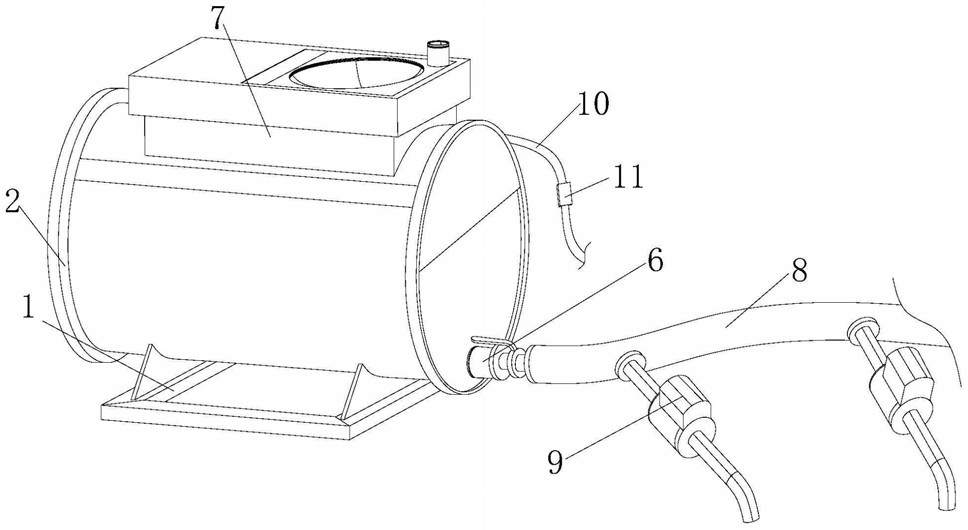
本发明是这样实现的,构造一种花椒育苗用水肥灌溉装置,该装置包括支撑座、筒座、防护罩、水泵、进水管、阀管、进料混料机构、软管、喷管结构、电源线和控制开关,所述支撑座顶端面通过螺栓与筒座相固定,所述筒座内部右下侧嵌有防护罩,所述防护罩内部通螺栓固定连接有水泵,所述水泵右侧进水端与进水管相连接,并且进水管另一端贯穿防护罩设置于筒座内部底侧,所述水泵前部出水端与阀管相连接,所述阀管后侧与筒座相连接,并且阀管右端面连接有软管,所述筒座右侧设置有电源线,所述电源线内侧连接有控制开关,所述进料混料机构嵌于筒座顶部内侧,所述喷管结构后侧与软管相连接,所述进料混料机构包括动力结构、顶架、料槽、加水管和搅架,所述动力结构嵌于筒座顶部中侧,所述动力结构顶端面连接有顶架,所述顶架内部右侧开设有料槽,所述加水管贯穿固定于顶架右后侧,所述动力结构底侧与搅架相连接。
优选的,所述动力结构包括支板、电机组、矩形片、连杆、滑槽、挡片和旋转往复组件,所述支板底侧左部通过螺栓锁紧固定有电机组,所述电机组顶部输出端贯穿支板并与矩形片相连接,所述矩形片顶部后侧与连杆转动连接,所述连杆底部右侧插入滑槽内侧与其横向滑动连接,所述滑槽横向开设于支板顶部中侧,所述连杆右端部与挡片相连接,所述电机组底侧输出端与旋转往复组件相连接。
优选的,所述电机组由上下对称设置的两个电机组成,并且上侧的电机输出端与矩形片相连接,下侧的电机输出端与旋转往复组件相连接。
优选的,所述挡片移动至最右侧时,挡片顶端面与料槽的底部开口相贴合。
优选的,所述旋转往复组件包括支片、主动齿轮、从动齿轮、支撑架、转动片、推杆和推片,所述支片右侧与支板相固定,所述支片底部右侧与主动齿轮转动连接,并且主动齿轮内侧中部与电机组下侧的电机输出端相连接,所述主动齿轮左侧与从动齿轮相啮合,所述从动齿轮底侧中部连接有支撑架,所述支撑架底部中侧与转动片相连接,所述转动片底侧另一端部通过推杆与推片转动连接,所述推片底侧另一端部与支撑架转动连接。
优选的,所述搅架顶部贯穿支撑架内侧与其转动连接,并且搅架顶端面与推片相连接。
优选的,所述喷管结构的个数不少于5个,并且喷管结构等距分布于软管前侧。
优选的,所述喷管结构包括连接片、后接管、调节组件和前管,所述连接片后侧与软管相连接,所述连接片前部中侧一体成型有后接管,所述后接管前端面与调节组件相固定,所述调节组件前部中侧连接有前管。
优选的,所述调节组件包括外罩座、驱动电机、齿轮、圆环齿轮圈、小齿轮、三角弧形片和圆环架,所述外罩座前后两侧中部分别与前管和后接管相固定,所述外罩座内部顶侧通过螺栓锁紧固定有驱动电机,所述驱动电机前部输出端与齿轮相连接,所述齿轮底侧与圆环齿轮圈相啮合,所述圆环齿轮圈内侧与小齿轮相啮合,所述小齿轮固定连接于三角弧形片后部内侧,所述三角弧形片转动连接于圆环架后侧,所述圆环架前端面与外罩座相固定。
优选的,所述搅架使用的材料为不锈钢。
优选的,所述外罩座为铝合金材质制成。
本发明具有如下优点:本发明通过改进在此提供一种花椒育苗用水肥灌溉装置,与同类型设备相比,具有如下改进:
优点1:本发明所述一种花椒育苗用水肥灌溉装置,通过优化设置了进料混料机构和喷管结构,以电机组作为动力源,通过矩形片与连杆的配合挡片间歇的挡在料槽底部实现肥料的间歇倒入,同时电机组可带动从动齿轮转动,进而可带动搅杆自身的转动和在筒座内转动,调高肥料在水中的溶解效率,并且在驱动电机的作用下可使三角弧形片相互靠近闭合,以实现调节浇灌水流的流速,提高浇灌的效率和保证了花椒幼苗的成活率,解决了现有技术花椒育苗的水肥装置结构简单,在使用时随着水肥的浇灌使水中的肥性较低,不便实时的对水和肥料进行配制,影响对种子的浇灌效率,并且在刚成长处幼苗时不便改变浇灌水的流量,容易使幼苗被冲坏,影响幼苗的成活率。
优点2:本发明所述一种花椒育苗用水肥灌溉装置,电机组由上下对称设置的两个电机组成,并且上侧的电机输出端与矩形片相连接,下侧的电机输出端与旋转往复组件相连接,便于进行传动,挡片移动至最右侧时,挡片顶端面与料槽的底部开口相贴合,有利于实现肥料的间歇倒入,搅架顶部贯穿支撑架内侧与其转动连接,并且搅架顶端面与推片相连接,便于带动搅架对肥料和水进行混匀。
优点3:本发明所述一种花椒育苗用水肥灌溉装置,喷管结构的个数不少于5个,并且喷管结构等距分布于软管前侧,有利于进行浇灌,外罩座内部前侧设置有隔板,并且驱动电机设置于驱动电机后侧,三角弧形片内侧开设有小弧形槽,便于对水肥的流出大小进行调节。







