名称:一种农作物采摘装置
专利号:202223295790.X
专利人: 王永杰
技术领域
本实用新型涉及农作物采摘领域,尤其涉及一种农作物采摘装置。
背景技术
农作物的生长,离不开科学的科技生产技术,以及新型工业制造出来的能辅助农业生产的机械设备,对达到成熟度的果实进行采摘的过程,是果树生产中用工较多的一个环节,及时和合理的采收,对果品当年和来年的产量、品质,以及果品的贮运加工和市场供应关系极大。
现有大多数农作物采摘,农民采用手工采摘的方式,农民手工采摘速度慢,时间较长,大多数农作物采摘在夏秋两季,采摘时极其辛苦,再者农作物采摘时限短,人工采摘不及时极易造成大量损失,使农民经济造成损失,故需要设计一种农作物采摘装置,便于提高采摘速度,扩大种植面积,增加农民收入。
实用新型内容
本实用新型的目的是为了解决现有技术中存在的缺点,而提出的一种农作物采摘装置,便于提高采摘速度,扩大种植面积,增加农民收入。
为实现上述目的,本实用新型提供了如下技术方案:
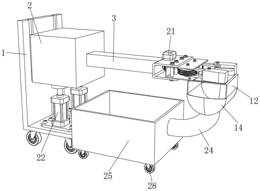
一种农作物采摘装置,包括底座,所述底座的前侧中部设置有控制箱,所述控制箱的前侧中部设置有机械臂,所述机械臂的前侧固定连接在第一固定座的后侧中部,所述第一固定座通过连接栓与第二固定座的靠后一侧固定连接,所述第二固定座的后端中部固定连接有第一电机,所述第一电机的转轴贯穿第二固定座的后侧中部并固定连接在涡杆的一端,所述涡杆的另一端转动连接在第二固定座的内侧前端中部,所述第二固定座的内部的左右侧均转动连接有涡轮,所述涡轮的上下端中部均固定连接在连接座的后侧上下部,所述连接座的靠内一侧前部进固定连接有剪切刀,所述底座的前侧设置有收集箱,所述收集箱的前侧中部固定连接在连通管的一端;
通过上述技术方案,机械臂带动第一固定座和第二固定座进行移动,识别系统检测并识别农作物,通过第一电机的转轴带动涡杆转动,使涡轮进行转动,使连接座和剪切刀对农作物进行剪切,便于农作物的采摘。
进一步地,所述第二固定座的底端前侧固定连接在安装座的上端后侧,所述安装座的内侧前端中部固定连接有检测装置,所述安装座的底端固定连接在兜板的上端,所述兜板的内侧底端中部设置有电控门,所述电控门的底端设置于连通管的另一端上部,所述电控门的长宽均为15cm;
通过上述技术方案,采摘后的农作物通过连通管落入收集箱内进行收集,并且在兜板内部可以设置有一层橡胶层,放置农作物落入兜板内部导致损坏,设置电控门尺寸一保证农作物能够通过电控门落入连通管内,防止堵塞,兜板的大小可根据具体需求进行调整,以防止兜板对剪切刀的工作造成干扰。
进一步地,所述控制箱的内部底端后侧固定连接在蓄电池的底端,所述控制箱的内部后侧上端设置有中枢控制系统,所述控制箱的内部上端中部设置有信息连接系统,所述剪切刀的长度为5cm;
通过上述技术方案,增加控制性能。
进一步地,所述控制箱的内部中前部上下端分别固定连接在隔板的上下端,所述隔板的前侧中部固定连接在第二电机的后端,所述第二电机的转轴固定连接在第一伸缩杆缸体底端,所述第一伸缩杆杆体顶端固定连接在机械臂的后端中部;
通过上述技术方案,第一伸缩杆推动机械臂,使机械臂能够前后移动增加距离,第二电机能够带动机械臂进行移动角度的旋转,对位置较偏或者相对倾斜的农作物进行剪切。
进一步地,所述第一固定座的上端中部固定连接有识别系统;
通过上述技术方案,通过识别系统检测并识别农作物。
进一步地,所述底座的上端左右侧均固定连接在第二伸缩杆缸体底端,所述第二伸缩杆杆体顶端均固定连接在连接盘的底端中部,所述连接盘的上端分别固定连接在控制箱的底端左右侧中部;
通过上述技术方案,通过第二伸缩杆推动控制箱向上移动。
进一步地,所述底座的前侧左右端上部均设置有滑槽,所述控制箱的后侧底端左右侧均固定连接有滑块,所述滑块的后侧均滑动连接在滑槽内;
通过上述技术方案,使滑块在滑槽内滑动,增加控制箱的连接性能。
进一步地,所述底座和收集箱的底端四角处均设置有滑轮;
通过上述技术方案,便于推动前进,增加实用性能。
本实用新型具有如下有益效果:
1、本实用新型中,首先第一伸缩杆推动机械臂,使机械臂能够前后移动增加距离,然后机械臂带动第一固定座和第二固定座进行移动,识别系统检测并识别农作物,通过第一电机的转轴带动涡杆转动,使涡轮进行转动,使连接座和剪切刀对农作物进行剪切,便于农作物的采摘,避免了传统方式人工采摘效率低,导致采摘不及时极易造成大量损失,使农民经济造成损失的问题。
2、本实用新型中,通过第二伸缩杆推动控制箱向上移动,使滑块在滑槽内滑动,增加采摘的高度,同时经剪切刀剪切后的农作物掉落至兜板内,然后检测装置检测到兜板满后,通过机械臂让兜板内设置的电控门位置移动至连通管的上方,打开电控门,使采摘后的农作物通过连通管落入收集箱内进行收集,便于多次采摘后进行收集,不需要在兜板满后对兜板内的农作物进行单独收集而浪费时间。



