一种雷达天线防护装置
转让价格:面议
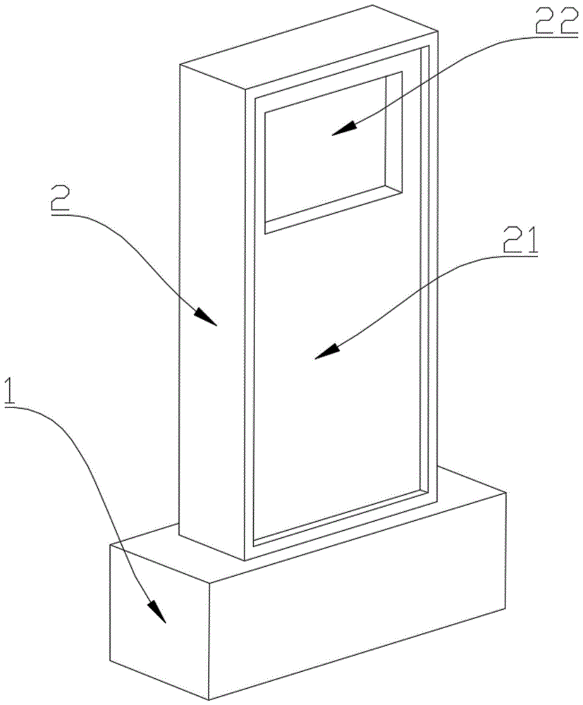
名称:一种雷达天线防护装置 专利人: 孟浩 专利号:202221970742.3 技术领域 本实用新型涉及雷达天线技术领域,具体为一种雷达天线防护装置。 背景技术 雷达用来辐射和接收电磁波并决定其探测方向的设备,雷达在发射时须把能量集中辐射到需要照射的方向,而在接收时又尽可能只接

名称:一种雷达天线防护装置 专利人: 孟浩 专利号:202221970742.3 技术领域 本实用新型涉及雷达天线技术领域,具体为一种雷达天线防护装置。 背景技术 雷达用来辐射和接收电磁波并决定其探测方向的设备,雷达在发射时须把能量集中辐射到需要照射的方向,而在接收时又尽可能只接

名称:高纯净度、高精度、低残余应力钢轨短流程生产工艺 专利人: 董志洪 专利号:202210464907.8 技术领域 本发明涉及钢轨的生产工艺,是一种高纯净度、高精度、低残余应力钢轨的生产工艺。 背景技术 钢轨是铁路所需的重要基础材料,其质量和性能的好坏直接关系到铁路运输的安全,

名称:一种电机定子的冷却结构 专利人: 许佳佳 专利号:202222125937.4 技术领域 本实用新型涉及一种电机定子的冷却结构。 背景技术 电机在运行过程中,由于线圈有电阻必然会发热,再者电流在铁芯中会产生涡流而发热,如果热量无法及时被散出,那么会导致电机温度不断上升,温度

名称:一种小学生体育锻炼装置 专利人: 毛宁 专利号:202221721149.5 技术领域 本实用新型涉及体育锻炼器械技术领域,具体为一种小学生体育锻炼装置。 背景技术 学校体育是教育的重要组成部分,而小学传统体育项目多为短跑、中长跑、立定跳远、跳高、跳绳、仰卧起坐、篮球、足球和

名称:一种方便取料的调料盒 专利号:202221133986.6 专利人:罗富军 项目简介:本实用新型公开了一种厨房用具,尤其是一种方便取调料的调料盒。其包括出料装置,所述出料装置包括储料盒、固定板、推板、滑动板,所述储料盒设置有进料口和出料口,所述出料口与所述固定板固接,所述固定

名称:一种颈椎牵引康复治疗仪 专利号:202210926202.3 专利人: 潘茎 技术领域 本发明属于医疗设备技术领域,具体涉及一种颈椎牵引康复治疗仪。 背景技术 颈椎,指颈椎骨,位于头以下、胸椎以上的部位。位于脊柱颈段,共7块,围绕在颈髓及其脊膜的四周。由椎间盘和韧带相连,形成

名称:一种油污焊接部位的焊接方法 专利人: 张炜 专利号:202210660839.2 技术领域 本发明涉及一种油污焊接部位的焊接方法。 背景技术 在设备检修过程中,会遇到油系统局部焊接,或带有油污部位设备的焊接, 往往处理不当,引起焊缝气孔、金属晶间裂纹,尤其是油箱、抗燃油等油

名称:一种用于卧床患者下肢及脚踝活动的辅助治疗仪 专利人: 庞增粉 专利号:202010528883.9 技术领域 本发明涉及医疗辅助装置技术领域,具体为一种用于卧床患者下肢及脚踝活动的辅助治疗仪。 背景技术 有些患有慢性疾病的病人,如糖尿病、血液病、肿瘤等,骨折后的病人,以及因脑

名称:一种瞌睡检测方法及其系统 专利人:程明 专利号:201410091854.5 技术领域 本发明涉及移动终端领域,尤其涉及的是一种瞌睡检测方法及其系统。 背景技术 瞌睡在人们的日常工作,学习,生活中是不可避免的,其产生原因可能是休息不够,睡眠不足或是空气不流通等。但人们在休息足

名称:一种多功能货叉架及叉车 专利人: 王福业 专利号:202220226508.3 技术领域 本实用新型属于叉车技术领域,涉及一种叉车的改进,具体说是一种多功能货叉架及叉车。 背景技术 现在叉车使用的货叉大多是人工调节货叉间距,以适用于不同地盘规格尺寸。由于人工调节货叉间距存在劳

名称:一种用于运动康复的便于收纳的头戴式VR设备 专利人: 张晓钰 专利号:202220487350.5 技术领域 本实用新型涉及VR设备技术领域,尤其涉及一种用于运动康复的便于收纳的头戴式VR设备。 背景技术 虚拟现实技术又称灵境技术,是20世纪发展起来的一项全新的实用技术。虚拟

名称:一种具有辅助游泳功能的救生衣 专利人: 黄贤庆 专利号:202220481767.0 技术领域 本实用新型属于救生衣技术领域,尤其涉及一种具有辅助游泳功能的救生衣。 背景技术 救生衣又称救生背心,设计类似背心,采用尼龙面料或氯丁橡胶,浮力材料或可充气的材料,反光材料等制作而成