名称:一种男性节育避孕装置
申请(专利)号: CN202111359228.6
申请权利人: 和林峰;
技术领域
本发明涉及节育避孕领域,特别是涉及一种男性节育避孕装置。
背景技术
现实生活中,男性通常采用避孕药、安全套或输精管结扎的方式进行避孕。然而大量服用避孕药则会导致男性乳房发育,阴茎变小,性功能减退;使用避孕套不仅会影响生殖器官的感觉,而且由于使用不当容易造成破裂的风险,进而造成意外怀孕;输精管结扎虽可以永久避孕,且手术简单,输精管结扎术后,最常见的并发症就是出血,血肿,痛性结节,附睾淤积等,且容易让男性产生心理负担。以上原因导致大多数男性拒绝选用避孕措施而采用让女性选择口服避孕药或体外射精来达到避孕目的,但女性口服避孕药会对女性引起月经不调,月经后延或提前,意外怀孕选择人流的方式更是对女性心理产生极大的创伤。
鉴于此,对于本领域普通技术人员来讲,设计一种通过改变尿道中尿液/精液流向的男性节育避孕装置以实现避孕的目的,且可降低男性女性的生理和心理负担显得尤为重要。
发明内容
本发明的目的是提供一种男性节育避孕装置,以解决上述现有技术存在的问题,以克服现有避孕措施对身体或身心产生负面影响或生殖器感觉不足的影响。
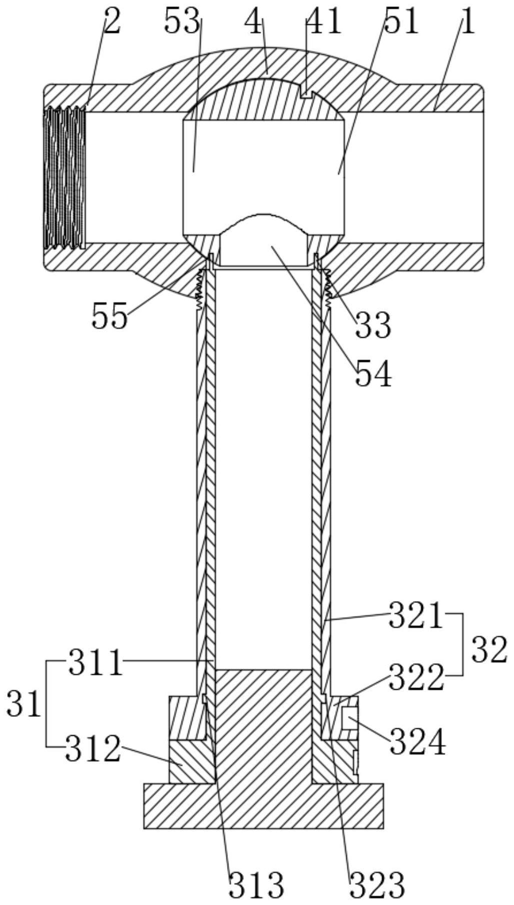
为实现上述目的,本发明提供了如下方案:本发明提供一种男性节育避孕装置,包括第一尿道杆、第二尿道杆、会阴杆和三通阀,所述第一尿道杆、第二尿道杆和会阴杆均为中空杆体,所述第一尿道杆、第二尿道杆、会阴杆分别依次与所述三通阀的输入端、第一输出端、第二输出端一一对应连通,所述第一尿道杆通过所述三通阀与会阴杆连通,所述第一尿道杆、第二尿道杆设置在同一轴线上,所述三通阀用于控制所述第一尿道杆与第二尿道杆之间连通。
进一步的,所述三通阀内转动连接有阀芯,所述阀芯包括相互连通的第一入口、第二入口、第一出口和第二出口,所述第一入口、第二入口设置有夹角,所述第一入口、第二入口可选择的与所述三通阀的输入端连通,所述第一入口同轴设置有所述第一出口,所述第一出口可选择的与所述三通阀的第一输出端连通,所述第二出口的轴线与所述第一入口、第二入口、第一出口所在平面垂直,所述第二出口与所述三通阀的第二输出端连通。
进一步的,所述第二输出端可拆卸连接有所述会阴杆,所述三通阀的会阴杆能够沿所述三通阀的第二输出端的轴心转动,所述会阴杆靠近所述三通阀的第二输出端的一端固接有连接杆,所述阀芯朝向所述会阴杆的侧壁上开设有与所述连接杆相适配的安装槽。
进一步的,所述会阴杆包括同轴设置且能相对转动的第一会阴杆和第二会阴杆,所述第一会阴杆靠近所述三通阀的第二输出端的一端固接有所述连接杆,所述第一会阴杆外侧套设有所述第二会阴杆,所述第二会阴杆和所述三通阀的第二输出端可拆卸连接,所述第一会阴杆远离所述三通阀的第二输出端的一端可拆卸连接有堵头。
进一步的,所述第一会阴杆包括第一杆部和第一旋钮部,所述第一杆部靠近所述三通阀的第二输出端的一端固接有所述连接杆,所述第一杆部远离所述三通阀的第二输出端的一端固接有所述第一旋钮部,所述第一旋钮部远离所述三通阀的第二输出端的一端可拆卸连接有堵头;
所述第二会阴杆包括第二杆部和第二旋钮部,所述第二杆部与所述三通阀的第二输出端可拆卸连接,所述第二杆部远离所述第二输出端的一端固接有所述第二旋钮部。
进一步的,所述第一杆部和/或第一旋钮部外侧壁设置有环状凸起,所述第二杆部和/或第二旋钮部内侧壁设置有环状凹槽,所述环状凸起嵌设在所述环状凹槽内。
进一步的,所述阀芯远离所述第二出口的侧壁上开设有定位槽,所述三通阀内壁连接有定位杆的一端,所述定位杆的另一端与所述定位槽滑动连接,所述定位槽与定位杆配合用于限制所述阀芯的旋转角度,所述第一入口和第二入口的夹角与所述旋转角度相等。
进一步的,所述第一旋钮部上设置有第一旋钮标记,所述第二旋钮部上设置第二旋钮标记,所述第一旋钮标记、第二旋钮标记用于识别第一旋钮部的旋转角度。
进一步的,所述第二旋钮部的侧壁上设置有凹口,所述凹口可拆卸连接有会阴安装杆;所述第二尿道杆远离所述三通阀的一端可拆卸连接有尿道安装杆。
进一步的,所述堵头为普通堵头、药物堵头或储精堵头。
本发明公开了以下技术效果:本方案结构小巧,通过控制三通阀的旋向,进而改变男性尿道中尿液/精液流向实现避孕的目的,节育方式简单快捷,相比传统避孕方式,能够有效降低男性和女性身体或身心上的负面影响。








