一种自动化臭豆腐点浆水质调控装置
转让价格:600万元
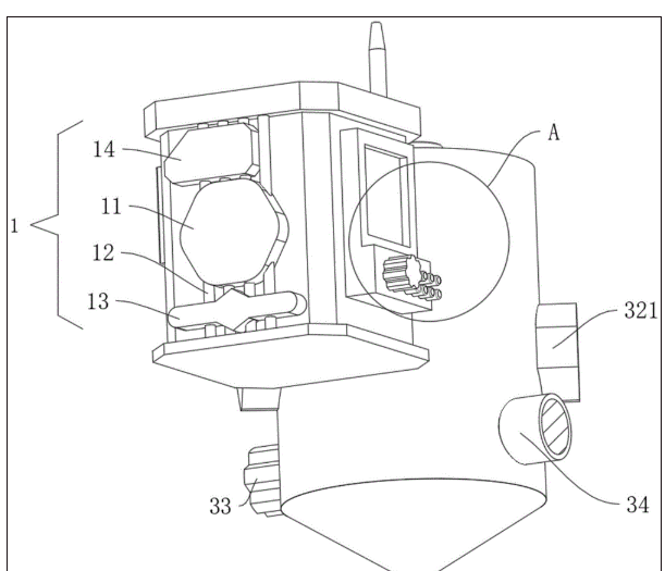
名称:一种自动化臭豆腐点浆水质调控装置及方法 专利号:202510241333.1 专利权人:何智贵 技术领域 本发明属于食品加工技术领域,具体为一种自动化臭豆腐点浆水质调控装置及方法。 背景技术 随着食品加工技术的发展,臭豆腐的生产工艺也在不断改进

名称:一种自动化臭豆腐点浆水质调控装置及方法 专利号:202510241333.1 专利权人:何智贵 技术领域 本发明属于食品加工技术领域,具体为一种自动化臭豆腐点浆水质调控装置及方法。 背景技术 随着食品加工技术的发展,臭豆腐的生产工艺也在不断改进

名称:地毯 专利号:202530088322.5 专利权人:史升强 1.本外观设计产品的名称:地毯。2.本外观设计产品的用途:用于地面的防尘、居家装饰和保护。3.本外观设计产品的设计要点:在于图案与色彩的结合。4.最能表明设计要点的图片或照片:主视图。5.请求保护的外

名称:一种径流型悬浮式水力发电装置 专利号:202420454481.2 专利权人:王恩礼 技术领域 本实用新型属于水力发电技术领域,特别涉及一种径流型悬浮式水力发电装置。 背景技术 在目前已经成熟的可再生能源发电利用中,水力发电以其较低的运行成本和

名称:一种中医观察眼睛的诊断系统及方法 专利号:202510799897.7 专利权人:孔祥凤 技术领域 本发明属于诊断技术领域,具体是指一种中医观察眼睛的诊断系统及方法。 背景技术 传统中医的眼诊方法虽有一定的理论基础,但缺乏系统性、标准化和现代化

名称:一种基于四边形分块图的外汇分析方法 专利号:202510610454.9 专利权人:王坤 技术领域 本发明涉及外汇分析与可视化技术领域,尤其涉及一种基于四边形分块图的外汇分析方法。 背景技术 随着全球金融市场的快速发展,外汇交易已成为金融市场的

名称:中国象棋马踏棋盘遍历游戏 专利权人:刘富胜 国作登字-2020-A-01040790 中国象棋马踏棋盘遍历游戏简介 在中国象棋的棋盘上,用一匹“马”按“马走日”的游戏规则(不限蹩马腿),从棋盘上

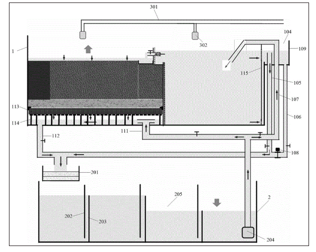
名称:一种水陆潮汐缸 专利号:202411548322.X 专利权人:马晓途 技术领域 本发明涉及鱼缸领域,特别涉及一种水陆潮汐缸。 背景技术 在现有技术中水陆潮汐缸内的陆地层和水位于同一区域。当水陆潮汐缸内的水涨潮后,水位上升,陆地层被水淹没,排出

名称:一种中医观察眼睛的诊断系统及方法 专利权人:孔祥凤 专利号:202510799897.7 技术领域 本发明属于诊断技术领域,具体是指一种中医观察眼睛的诊断系统及方法。 背景技术 传统中医的眼诊方法虽有一定的理论基础,但缺乏系统性、标准化和现代化

名称:口算练习图 登记号:2021-F-00165506 专利权人:刘富胜 口算练习图介绍 一. 构成 本图由3个同心圆组成,一共分成28个小格,格子里分别写着“+、-、×、÷、=”五个不同颜色的运算符号,两

名称:一种财税挂图可调显示器 专利权人:史哲峰 专利号:史哲峰 技术领域 本实用新型涉及演示工具技术领域,尤其涉及一种财税挂图可调显示器。 背景技术 财税挂图显示器是一种结合了静态挂图与动态显示器的设备,旨在提升财务与税务数据的展示效果。挂图提供全局

名称:一种外用敷贴中药及其制备方法 专利权人:林莉 专利号:202311571673.8 技术领域 本发明涉及医用药物技术领域,具体是指一种外用敷贴中药及其制备方法。 背景技术 中医外用膏药是运用中药归经原则,运用药物互相协调为用的效能,组成多味药物

项目名称: 基于多专利技术的系统性雨水资源化与防灾综合解决方案 项目核心理念: 变“水患”为“水利”, 将雨水从被防范的灾害, 转变为可收集、 可交易、 可调控的战略资源。 通过商业化运营, 系统性