一种层叠式抽纸包装方法
转让价格:面议
名称:一种层叠式抽纸包装方法 专利人: 韦阳 专利号:201910688423.X 技术领域 本发明涉及包装技术领域,具体涉及一种层叠式抽纸包装方法。 背景技术 抽纸作为日常用品,已经是人们生活中必不可少的物件之一。目前的抽纸由于整包厚度基本上都处于7-8cm,当使用一段时间之后,

名称:一种层叠式抽纸包装方法 专利人: 韦阳 专利号:201910688423.X 技术领域 本发明涉及包装技术领域,具体涉及一种层叠式抽纸包装方法。 背景技术 抽纸作为日常用品,已经是人们生活中必不可少的物件之一。目前的抽纸由于整包厚度基本上都处于7-8cm,当使用一段时间之后,

名称:一种心衰患者用轮椅 专利号:202122585913.2 专利人: 梁朋 技术领域 本实用新型涉及轮椅技术领域,具体为一种心衰患者用轮椅。 背景技术 心衰指由于心脏的收缩功能和(或)舒张功能发生障碍,不能将静脉回心血量充分排出心脏,导致静脉系统血液淤积,动脉系统血液灌注不足,

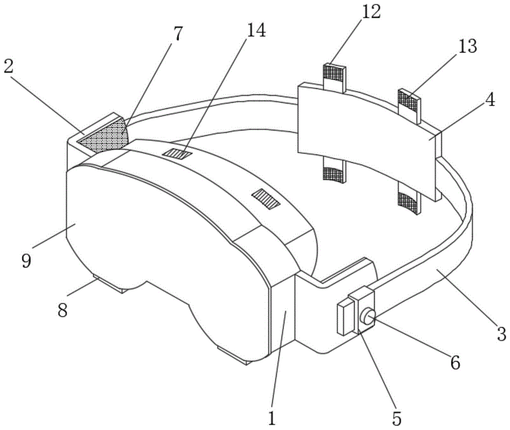
名称:一种便携式心电图仪 专利人: 梁朋 专利号:202320225213.9 技术领域 本实用新型涉及心电图技术领域,具体为一种便携式心电图仪。 背景技术 心电图仪能将心脏活动时心肌激动产生的生物电(心电信号)自动记录下来,为临床诊断和科研常用的医疗电子仪器。国内一般按照记录器输

名称:一种降血压改善视力的复方决明子颗粒 专利人:汪盛华 专利号:202410591819.3 本发明公布了一种降血压改善视力的决明子颗粒。配方独特,功效显著。既能降血压,又能防治几种并发症。共8种配方:决明子、芹菜籽、杜仲、菊花、丹参、山楂、黑莓、黑桑葚。决明子

名称:一种超声波探头无菌保护套 专利人: 符高飞 专利号:202321089202.9 技术领域 本实用新型涉及一种超声波探头无菌保护套,属于医疗器械技术领域。 背景技术 超声波探头是通过探头产生入射超声波(发射波)和接收反射超声波(回波),用来检测组织器官位置、特性的诊断设备。超

名称:一种农作物手动播种器 专利人: 覃国潮 专利号:202311390874.8 技术领域 本发明涉及农具技术领域,具体是指一种农作物手动播种器。 背景技术 随着农业机械技术的不断进步,播种机大面积推广,极大方便了农民的播种。但在沟壑、丘陵等地区,或是农户小面积种植时,需要人工种

名称:一种钢筋骨架距可调式的多层叠合板 专利人:齐齐哈尔大学 专利号:201810059958.6、201810016242.8 、202311093184.6 技术领域 本发明涉及一种装配整体式楼板,尤其是一种多层叠合板。 背景技术

名称:一种电热灶具 专利人:卫国 专利号:202021737323.6 技术领域 本实用新型涉及灶具技术领域,具体涉及一种电热灶具。 背景技术 目前,常用的灶具有天然气灶、煤气灶以及电磁炉,天然气灶和煤气灶存在气体泄漏引发事故的风险,而电磁炉使用时,在电磁炉周围会产生高频谐波辐射干

名称:一种保健豆腐及其制备方法和应用 专利人: 鲜开玲 专利号:202311070498.4 技术领域 本发明涉及食品加工技术领域,特别是涉及一种保健豆腐及其制备方法和应用。 背景技术 我国食用豆腐有着悠久的历史,因其具有很高的营养价值,并且食用方法广泛,而深受大众的喜爱,随着人们

名称:一种自动抱紧型气液卡盘 专利人: 刘明亮 专利号:201910454509.6 技术领域 本发明涉及机床用的卡盘装置技术领域,具体来说,是指一种自动抱紧型气液卡盘。 背景技术 卡盘是机床上用于夹紧工件的机械装置,它是利用均布在卡盘上的活动卡爪的径向移动把工件夹紧和定位的机床附

名称:一种集装箱列车装卸系统和方法 专利人:王欢 专利号:202410151708.0 技术领域 本申请涉及集装箱装卸控制技术领域,特别涉及一种集装箱列车装卸系统和方法。 背景技术 当前,铁路集装箱运输运量较低。一方面,铁路集装箱运输花费时间长。传统铁路集装箱运输中,铁路货运列车需

专利人: 傅钰铧 名称:一种黑发强肾中药配方 专利号:202311341200.9 技术领域 本发明涉及中药技术领域,具体是指一种黑发强肾中药配方。 背景技术 日常生活中巨大的压力也可能衍生白发,目前市场上出现了一些用于黑发的产品,主要是针对于这种现象的,但是目前的产品存在以下几点