名称:一种用于运动康复的便于收纳的头戴式VR设备
专利人: 张晓钰
专利号:202220487350.5
技术领域
本实用新型涉及VR设备技术领域,尤其涉及一种用于运动康复的便于收纳的头戴式VR设备。
背景技术
虚拟现实技术又称灵境技术,是20世纪发展起来的一项全新的实用技术。虚拟现实技术囊括计算机、电子信息、仿真技术于一体,其基本实现方式是计算机模拟虚拟环境从而给人以环境沉浸感。随着社会生产力和科学技术的不断发展,各行各业对VR技术的需求日益旺盛。VR技术也取得了巨大进步,并逐步成为一个新的科学技术领域。
现有的VR设备在收纳时通常缺乏对镜片的防护,容易使镜片沾染污物,影响使用。为此,我们提出一种用于运动康复的便于收纳的头戴式VR设备来解决上述问题。
实用新型内容
本实用新型的目的是为了解决现有技术中VR设备在收纳时通常缺乏对镜片的防护,容易使镜片沾染污物,影响使用的问题,而提出的一种用于运动康复的便于收纳的头戴式VR设备。
为了实现上述目的,本实用新型采用了如下技术方案:
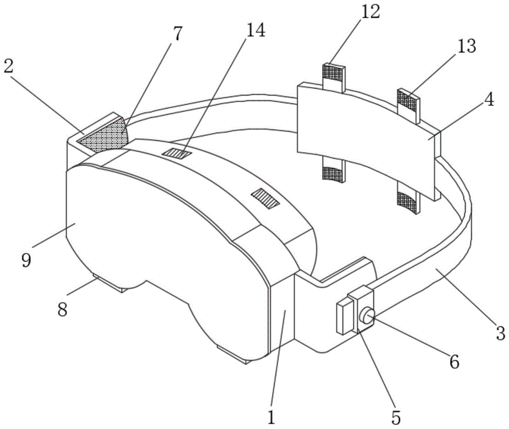
一种用于运动康复的便于收纳的头戴式VR设备,包括设备本体,所述设备本体的两侧均固定安装有夹板,两个所述夹板的外侧均安装有弹性带,所述弹性带远离设备本体的一端固定连接有防护罩;
所述夹板的外侧固定连接有U形壳体,所述弹性带贯穿于U形壳体的内部,所述U形壳体外侧的中部螺纹连接有锁紧螺栓,所述锁紧螺栓位于U形壳体内部的一端与弹性带的表面紧密接触。
优选的,所述夹板的内侧固定安装有防护垫。
优选的,所述设备本体正面底部的两侧均固定安装有底部支撑。
优选的,所述设备本体的正面粘贴有防刮薄膜。
优选的,所述设备本体正面的两侧均嵌装有第一磁铁,所述弹性带靠近设备本体一端的内侧嵌装有第二磁铁,所述第二磁铁与第一磁铁相适配。
优选的,所述防护罩的顶部和底部均固定连接有两个连接带,所述连接带的正面固定连接有第一魔术贴,所述设备本体的顶部和底部均固定连接有相对应的第二魔术贴,所述第二魔术贴与第一魔术贴粘接。
与现有技术相比,本实用新型的有益效果是:
本实用新型通过防护罩的设置,在佩戴时,增大了与后脑勺之间的接触面积,降低了佩戴的压力,而且,当对设备进行收纳时,拉动弹性带,使得防护罩紧贴于设备本体内侧的镜片,即可实现对镜片的防护,而且,第一魔术贴和第二魔术贴的设置,实现对防护罩位置的稳定固定。

