名称:一种具有辅助游泳功能的救生衣
专利人: 黄贤庆
专利号:202220481767.0
技术领域
本实用新型属于救生衣技术领域,尤其涉及一种具有辅助游泳功能的救生衣。
背景技术
救生衣又称救生背心,设计类似背心,采用尼龙面料或氯丁橡胶,浮力材料或可充气的材料,反光材料等制作而成,一般为背心式,用泡沫塑料或软木等制成,穿在身上具有足够浮力,使落水者头部能露出水,救生背心应尽量选择红色、黄色等较鲜艳的颜色,因为一旦穿戴者不慎落水,可以让救助者更容易发现落水人员。
救生衣一般是水上工作人员穿着,在落水时起到救护作用,或者是救护人员穿着在身上营救落水人员使用,在水中游动、工作或救护时会有较大的体力消耗,尤其是营救落水人员时,落水人员本能的挣扎会严重影响救护人员的正常游泳,消耗体力非常严重,容易出现体力不支无力游泳导致出现危险的情况,而现有的救生衣只能产生一些浮力,无法辅助穿戴人员游泳,功能较为单一,无法满足使用需求。
发明内容
本实用新型提供一种具有辅助游泳功能的救生衣,旨在解决现有的救生衣只能产生一些浮力,无法辅助穿戴人员游泳,功能较为单一,无法满足使用需求的问题。
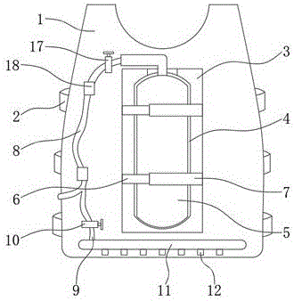
本实用新型是这样实现的,一种具有辅助游泳功能的救生衣,包括救生衣本体,所述救生衣本体的两侧均设置有若干个等间距的松紧带,所述救生衣本体正面的上部设置有向头部方向延伸的托板,所述救生衣本体的背表面设置有安装座,所述安装座的表面开设有气瓶槽,所述气瓶槽的内腔可拆卸地设置有压力气瓶,所述压力气瓶的瓶口处可拆卸地连通有连接管,所述连接管另一端连通有第一连通管和第二连通管,所述第一连通管的表面设置有第一阀门,所述救生衣本体背表面的底部设置有两端密封的喷气管,所述喷气管的底部连通有若干个等间距间隔设置的第一喷气头,所述喷气管的顶部与第一连通管连通,所述第二连通管的表面设置有第二阀门,所述救生衣本体正面的下部设置有朝向前方的喷气盘,所述喷气盘的进气口与所述第二连通管连通,所述喷气盘的前侧环形阵列分布有若干个第二喷气头,所述连接管的表面设置有总阀门。
优选的,所述安装座一侧设置有魔术贴子贴,所述安装座另一侧设置有与魔术贴子贴相适配的魔术贴母贴,所述魔术贴母贴与所述魔术贴子贴贴合时将所述压力气瓶扣紧在所述气瓶槽内。
优选的,所述压力气瓶为轻质耐压瓶体。
优选的,所述救生衣本体的背表面固定连接有定位块,所述定位块的数量为两个,所述连接管固定连接于所述定位块上。
优选的,所述救生衣本体的内壁面设置有加热组件,所述加热组件包括设置于救生衣本体内壁面的防水夹层,所述防水夹层的内腔设置有若干个加热片本体。
优选的,所述救生衣本体的内壁面设置有温度感应器本体,所述温度感应器本体位于防水夹层的上方,所述救生衣本体的正表面设置有控制器本体。
有益效果
与现有技术相比,本实用新型的有益效果是:本实用新型的一种具有辅助游泳功能的救生衣,通过设置托板,可以将穿戴者头部略微托起一定高度,使头部漏出水面,避免呛水、溺水,不需要穿戴者用力昂起头,通过设置喷气夹角约为90°的第一喷气头和第二喷气头,无论穿戴者处于俯趴或者是接近直立的姿态,两组喷头都没入水中,通过喷气产生浮力和推力,可以满足穿戴者在不同姿态下的漂浮、游动的需要,有利于穿戴者节省体力,提高安全性,避免穿戴者在水中因体力消耗过大无力游动出现危险情况,实用性好。



