名称:一种针对NR-V2X组播通信的功率节省方法
专利号:202080068307.9
专利权人:张波
技术领域
本申请涉及通信方法,尤其是涉及一种针对NR-V2X组播通信的功率节省方法。
背景技术
在通信领域,目前有两种电能管理机制,一种是空闲模式机制(Idel Mode)、一种是不连续接收机制(Discontinuous Reception,DRX)。
当用户(User Equipment,UE)进入空闲模式机制时,尽管网络仍然能够通过寻呼机制(Paging)来跟踪UE,但UE不再主动连接到基站(如4G基站eNB);空闲模式允许UE保持在非常低的功耗模式,因为UE仅需要在该模式下执行非常有限的功能。
在DRX模式下,UE可以按照eNB的指示,通过允许UE在预定时间间隔切断电源来节省功耗。DRX在资源利用和节能方面都提供了显着的好处,但要求在节能和传送延迟之间进行权衡,因此,为了平衡节省电池和传送延迟,LTE(Long Term Evolution)支持短DRX和长DRX的概念,并且允许UE被配置有两个DRX循环周期(DRX Cycle),即短DRX循环周期和长DRX循环周期。
在LTE-V2X(Long Term Evolution Vehicle-to-Everything)中,尽管仍涉及DRX循环周期,但节能机制十分独特。在Uu链路中,出于节省电池的目的,在DRX期间UE不接收下行链路信道。但是,在侧链中(Sidelink),V2X传输必须在传输前进行感测(Sensing),以减少随机资源选择冲突,从而提高数据包接收率(Packet Reception Ratio,PRR)性能。为此,LTE-V2X引入了部分感测(Partial Sensing)机制,该机制允许UE在特定的感测窗口(Sensing Window),并在有限的时间内进行感测操作。利用部分感测机制,每个UE被配置或预配置(即:(预)配置)有与感测相关的UE特定参数。例如,如果为行 人UE配置了部分感测,则在感测窗口(例如1000个子帧)内,在执行部分感测之前,UE需要得到两个参数:一个是用来指示可能的候选资源中包含的最小子帧数(表示为minNumCandidateSF),另一个是用来指示当将某些子帧视为候选资源时的感测子帧(表示为gap Candidate Sensing)。
在传统LTE-V2X中,感测和资源选择过程是针对周期数据包广播服务而设计的,通过周期触发方式来执行感测和接收,并且在感测窗口内的K个DRX循环周期中对DRX有效地进行配置,而传输过程则根据业务类型利用周期性或事件触发方式。一旦UE在子帧中感测,它可能不需要解码物理侧链路数据信道(PSSCH:Physical Sidelink Shared Channel)上的数据包,但是,一旦UE解码PSSCH上的数据包,它必须在子帧中预先感测或解码物理侧链路控制信道(PSCCH:Physical Sidelink Control Channel)上的SCI(Sidelink Control Information)。也就是说,只有当UE处于感测模式的时候,UE才可能执行接收和发送。UE是否要在第k个DRX循环周期中执行感测模式取决于(预)配置序列模型q K={q 1,q 2,…,q K}。这意味着,如果q k=1,UE应该在第k个DRX循环周期中执行感测模式,否则,UE应该保持在睡眠模式。这种部分感测机制可以很好地适用于广播和单播。
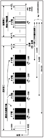
图1详细说明了LTE-V2X的部分感测规程,其中针对要激活的UE(预)配置感测子集(Sensing Subset),UE感测间隔X=5,DRX循环周期数K=10,以及使用序列模型(Sequence Pattern)q K={1100100001}进行有效的制定DRX循环周期。但是,此部分感测机制仅适用于具有周期性数据包流量的广播通信。
NR-V2X(New Radio Vehicle-to-Everything)应用领域非常广泛,它支持30多个用例,包括单播(Unicast),组播(Groupcast)和广播(Broadcast)通信。针对如此复杂的应用领域,实现节能的最大挑战是如何平衡组播性能和功率消耗。一般认为,单个DRX参数集不足以满足不同通信类型的服务,比如,在主要用例组播中,存在车辆组驾驶(Vehicle Platooning)、自动协作驾驶(Automated Cooperative Driving)、传感器信息共享(Sensor Sharing)、远程驾驶(Remote Driving)等;它们具有不同的性能要求,例如可靠性(如,Packet Reception Ratio,PRR),覆盖范围(如,通信范围,Communication Range) 和迟延(Latency)。因此,在实现组播功耗节省时,最大的挑战在于确保所有组成员都在相同的传输时隙来接收和感测信道。
由于NR-V2X中用例情况更为复杂,特别针对组播通信,传统LTE-V2X的节能机制将无法有效使用。在组播通信中,当组播成员UE在DRX循环周期内随机睡眠和唤醒时,存在部分成员UE相互无法通信的问题,会严重降低PRR的性能。组播有两种类型:第一种基于通信范围(Communication Range)的组播,该组播是由位于通信范围内的UE组成;第二种是由相同专用目标ID(Destination ID)的各个组播成员组成的组播,并拥有高层确定,并事先传递给每个组播成员。
图2给出了组播中部分感测的最坏情况,其中五个接受Rx UE(Receive UE)在DRX循环周期(例100ms)中随机睡眠和唤醒,无法接收来自Tx UE(Transmit UE)发送的数据包,因此导致PRR为零。如果组播UE被迫同时睡眠和唤醒,虽然所有组播UE都能够进行数据包接收,但是用于组播UE传输的可选资源被受到限制,因此出现Tx UE之间的资源冲突的问题。
发明内容
针对现有技术存在的问题,本申请提供了针对NR-V2X组播通信的功率节省方法。
本申请第一个方面是提供一种针对NR-V2X组播通信的功率节省方法,所述组播为基于通信范围的组播,沿第一方向设有至少2个区域,每个区域的长度为L、宽度为W,各个区域在长度方向上依次邻接;其中:
在通信范围内,各个区域内的所有Rx UE与Tx UE有相同的感测模式(Sensing Mode),所有Rx UE能够接收Tx UE发送的数据包,所有Rx UE与Tx UE均同时处于感测模式;以Tx UE区域为中心,在通信范围长度方向,形成UE区域相关窗口(UE Zone Correlation Window),所述UE区域相关窗口长度由区域长度L表示,即以区域数量计数,并至少是通信范围长度的两倍;
每个UE独立地在各自时隙上保持感测模式,并且相邻UE的感测间隔被位移一个或一个以上时隙(根据不同的应用,位移时隙数可以大于等于1的任何整数), Tx UE在第n(n为≥1的自然数)个时隙中进行组播通信,则所有Rx UE都能够进行接收;
所述方法包括:
将Zone-ID映射到时隙索引中,即,位于Zone-ID所代表的区域的UE在映射时隙中执行感测模式,映射规则定义为:所有UE位于的连续相邻区域映射到UE感测相邻时隙,即,位于相邻区域的UE也视为位于相邻时隙。
优选地,区域ID和时隙索引之间的映射关系可以由(预)配置指示(例如,通过RRC),或者可以由控制信息指示(例如,SCI,MAC CE)。
优选地,由时隙数(通常可以为奇数)来计数的UE的感测间隔,表示为(2Y+1)时隙;用时隙表示的感测间隔取决于区域的L和通信范围d cr;
Y min=d cr/L
Y min被定义为通信范围内区域数,等同于通信范围;被选择的Y为整数,并始终大于或等于Y min;
第n个区域的Zone-ID=n yN x+n x
其中,N x为Zone-ID的经度,N y为Zone-ID纬度值;x和y分别为UE当前位置经度,纬度与参考坐标(0,0)之间的距离,n x=0,1,…,N x-1和n y=0,1,…,N y-1。
每个DRX循环周期中的时隙索引为n c=0,1,…,N c-1,其中,N c为每个DRX循环周期中的时隙数;n c=n t mod N c;n t是时域上的时隙索引,为任意整数;
第n个区域和第m个区域之间区域相关系数为Z(n,m),第m个区域位于区域相关窗口的中心,因此,Z(n,m)(预)配置为:
其中n,m=0,1,…,N x-1。
在一种优选实施例中,n x=(n c+Δ k)mod N x;
其中Δ k被设置为第k个DRX循环周期中的映射偏移,0≤Δ k<N x。
更优选地,第k个DRX循环周期中的第n c个时隙的感测模式与第m个区域相关联,并定义为S k(n c,m);
S k(n c,m)=Z(n x,m);
当S k(n c,m)=1,位于第m个区域的UE,则在第k个DRX循环周期的、第n c个时隙中被激活处于感测模式,否则,该UE保持在睡眠模式。
更优选地,N x<N c,则一个n x可以映射到多个n c,从而在单个DRX循环周期内产生多个感测间隔。
更优选地,N x>N c,则可以将一个n c映射到多个n x中,从而在DRX循环周期内可能不产生任何感测间隔。
更优选地,N x=N c=N(N为自然数)。
在一种优选实施例中,DRX循环周期可以基于经度的DRX循环周期和/或基于纬度的DRX循环周期进行(预)配置,实现双重DRX循环周期。
更优选地,两个DRX循环周期可以在同一资源池中(预)配置,或者每个DRX循环周期可以针对每个独立的资源池进行(预)配置;例如:当UE在道路上行走或驾驶时,UE可以检测街道方向以及区域方向,然后选择相应的资源池进行V2X节能通信。这样UE就只需要感测部分的资源池,从而达到更有效的节能。
在一种优选实施例中,时隙索引为n,并且在感测窗口中的DRX循环周期数为K;(预)配置的序列模型Δ K={Δ 1,Δ 2,…,Δ K},在不同的DRX循环周期中改变映射偏移值Δ k,与第n个时隙相关联的DRX循环周期的索引k n为
其中,k n=1,2,…,K, 为天井函数。
在一种优选实施例中,根据NR-V2X中的规范,通信范围与数据包优先度相关联,具体的通信范围要求由SCI指示,优选地,至少由4比特来指示。
更优选地,通信范围至少可以有{50,80,180,200,350,400,500,700, 1000}米。
可以基于(预)配置的序列模型的方法来达到控制通信范围的目的。
在一种优选实施例中,固定区域尺寸,并基于(预)配置的序列模型在每个DRX循环周期中调整UE感测间隔参数Y。更优选地,保持每个区域中的UE数量不变。
优选地,在第k个DRX循环周期中UE感测间隔的值取决于Y K={Y 1,Y 2,…,Y K}的序列模型。其中,2Y k+1被定义为第k个DRX循环周期中UE感测间隔。
优选地,Tx UE在发送和通信范围相关的数据包时,它可以通过选择和通信范围相符合的(预)配置的UE感测间隔来选择其DRX循环周期内的资源。
在另一种优选实施例中,固定UE感测间隔,并在每个DRX循环周期中,通过(预)配置区域长度的L K={L 1,L 2,…,L K}序列模型或区域宽度的W K={W 1,W 2,…,W K}序列模型来控制通信范围。
优选地,固定N c,然后在每个DRX循环周期中静态地或动态地控制Zone-ID的经度N x和/或纬度N y。
优选地,参数Zone-ID的经度N x和纬度N y被扩展为N x,k和N y,k,而参数N c被扩展为N c,k;对N x,k(或N y,k),N c,k,Y k和L k元素的参数集进行静态的或动态的(预)配置;K个DRX循环周期相关的参数集可定义为
G K={G 1,G 2,…,G K},
其中,与第k个DRX周期相关的参数子集G k可定义为
G k={N x,k,N c,k,Y k,L k}。
本申请第二个方面是提供一种针对NR-V2X组播通信的功率节省方法,所述组播为基于由高层确定的专用目标ID来实现,不同的组播具有不同的目标L2ID,第j组播中的所有UE都事先知道与组播服务相关联的专用目标ID,将其标记为ID j,其中j=0,1,…,J-1,J是组播服务允许的最大组播数。
优选地,第j个组播中的成员UE在第k个DRX循环周期、第n k,j个时隙 中被激活,n k,j可以表示为
n k,j=(ID j+Δ k)mod N k,
其中,N k是第k个DRX循环周期的时隙数,即循环周期长度,Δ k是第k个DRX循环周期中的映射偏移,0≤Δ k<N k。
或者,优选地,第j个组播中的成员UE在第k个DRX循环周期的,第r k,j个资源池中被激活,r k,j可以表示为
r k,j=(ID j+Δ k)mod N R,
其中,N R是UE被(预)配置的资源池数,Δ k是第k个DRX循环周期中的映射偏移,0≤Δ k<N R。
优选地,与第j个组播相关联的所有UE在第k个DRX循环周期内的2Y k,j+1个时隙中进行感测。
更优选地,保持每个组播UE感测间隔基本恒定,Y k,j简化为Y j。
在一种优选实施例,使用连续时隙(Contiguous Slot)感测方式,将第k个DRX循环周期中的第n个时隙,第j个组播业务的感测状态S k,j(n)(预)配置为
其中n=0,1,…,N k-1,Y k,j是第k个DRX循环周期内第j个组播中UE感测间隔(预)配置参数。
优选地,S k,j(n)=1,则与目标ID指示的第j组播相关联的UE在第k个DRX循环周期中的第n个时隙被激活感测,否则UE保持在睡眠模式。
在另一种优选实施例中,使用分布式时隙(Distributed Slot)感测方式,第k个DRX循环周期中,与第n k,j个时隙相关联的第j个组播业务的N k时隙的感测状态S k,j(n k,j)可(预)配置为
S k,j(n k,j)={S k,j(0),S k,j(1),…,S k,j(N k-1),}
如:
优选地,S k,j(n k,j)中的第n个元素等于1,与目标ID(即ID j)指示的第j个组播相关联的UE在第k个DRX循环周期中的第n个时隙被激活感测,否则UE保持睡眠模式。
优选地,在第k个DRX循环周期中的总时隙感测状态 可以通过集合S k,j(n k,j)的并集计算获得,即
优选地,根据高层指示目标ID,UE也可以控制在部分的资源池中进行感测,从而达到节能效果。
优选地,第j个组播中的成员UE在第k个DRX循环周期、第r k,j个资源池中被激活,r k,j可以表示为
r k,j=(ID j+Δ k)mod N R,
其中,N R是UE被(予)配置的资源池数,Δ k是第k个DRX循环周期中的映射偏移,0≤Δ k<N R。
优选地,资源池被定义为侧链路传输或接收可用时隙和频率资源块的子集。时域中的资源池由比特映射指示,并以一定间隔重复。资源池的重复时间间隔可以假定与DRX周期相同,或者相互成整数倍。
更优选地,组播相关联的所有UE可以组合时隙和资源池相关联参数在不同的DRX循环周期中进行更有效节能感测。
本发明中采取使用区域ID(Zone-ID)和目标ID(Destination ID)作为控制参数,所有组成员均将其作为参考点,并静态或动态地控制DRX循环周期和UE的激活间隔(Active Interval)从而到达省电效果。两控制参数的作用不同,前一个用于基于通信范围的组播,而后一个用于高层指示目标ID的组播。本发 明机制可确保在节能,可靠性和延迟方面的整体性能。
附图说明
图1为LTE-V2X的部分感测规程示例,其中Y=5,K=10,q K={1100100001}。
图2为针对组播通信的随机睡眠和唤醒的部分感测示例。
图3为从位置角度的节能分析示例。
图4为从时间角度的节能分析示例。
图5为基于区域的部分感测示例,假设5个Rx UE,Y=2,K=10,Δ k=0,和q K={1100100000}。
图6为和区域相关的双重DRX循环周期示例。
图7为能够改善区域覆盖范围的双重DRX循环周期示例。
图8为动态映射偏移Δ K示例。
图9为基于DRX循环周期内(预)配置序列模型的动态UE感测间隔示例,,并带有可配置参数,如N=16,K=3和Y K={3,2,1}。
图10为基于DRX循环周期内(预)配置序列模型的动态区域尺寸示例。
图11为基于目标ID的连续时隙的部分感测方式。
图12为基于目标ID的分布式时隙感测方式的部分感测的示例。
图13为基于目标ID的部分资源池感测的示例。
具体实施方式
众所周知,组播有两种类型:第一种基于通信范围(Communication Range)的组播,该组播是由位于通信范围内的UE组成;第二种是由拥有相同专用目标ID(Destination ID)的各个组播成员组成的组播,该专用目标ID由高层确定,并事先传递给每个组播成员。
在第一种组播中,Tx UE会发送自己的位置和数据包相关的通信范围。所有的Rx UE通过计算和Tx UE的距离,比较通信范围,然后判断是否该组播成员。在第二种组播中,应用层确定目标L2 ID,事先将其传递到3GPP层,并通知每个组播成员。每当有组播数据包发送时,高层会将目标L2 ID与数据包一起传递到MAC层,Tx UE会将目标ID与数据包一起发送给所有的UE。然后,Rx UE 会根据事先拥有的目标ID和数据包一起接受到的目标ID相比,如果一致则数据包是该目标ID组播的数据包。一般,针对特定的服务,V2X UE会被允许同时支持多个单播连接或多个播组连接。因此,不同组播的目标L2 ID是不同的;有的组播目标ID可以在AS(Access Stratum)层内生成,而有的组播目标ID可以来自上层(如V2X应用层)。
不同类型的组播需要不同的侧链路控制信息(SCI:Sidelink Control Information)。针对基于通信范围的组播,Tx UE需要在SCI中传递其位置信息和通信范围,从而每个Rx UE通过Tx UE和Rx UE自己的位置判断Rx UE是否属于该组播范围。针对基于目标ID的组播,Tx UE需要在SCI中发送与组播相关联的目标ID,从而每个Rx UE可以判断是否属于该组播范围。一旦Rx UE判断是属于该组播范围(针对任何类型组播),Rx UE将启动HARQ进程,决定是否反馈ACK(Acknowledgement)或NACK(Negative Acknowledgement)。
针对基于通信范围的组播和基于目标ID的组播,本申请分别引入与Zone-ID和目标ID相关的参数用于解决功耗节能问题。
实施例1
在基于通信范围的组播中,最大的挑战是确保附近的所有组播成员UE同时具有足够时隙执行感测,从而具有足够的候选资源来选择资源。在这里,首先我们仅从UE位置角度考虑节能。图3中给出了一个示例,其中区域由区域长度L值和区域宽度W值组成。为简单起见,仅考虑Zone-ID经度来实现节能,其中在通信范围内的五个Rx UE(即Rx UE-1至Rx UE-5)将和Tx UE有相同的感测模式(Sensing Mode)。因此,所有Rx UE在相邻区域中同时处于感测模式,并且能够接收从Tx UE发送的数据包。这就要求位于通信范围内的所有Rx UE和Tx UE均同时处于感测模式,因此Tx UE与Rx UE之间就必须有着高度区域(或位置)相关性。本申请引入参数UE区域相关窗口(UE Zone Correlation Window),UE区域相关窗口长度以区域数量计数,并以Tx UE所在的区域为中心。UE区域相关窗口大小由区域长度L来表示,至少是通信范围的两倍长度。
图4给出了一个示例,其中每个UE在五个时隙上保持感测模式,并且两个相邻UE的感测间隔被移位一个时隙。如果Tx UE在第n个时隙中进行组播通信,则所有Rx UE(Rx UE-1Rx UE5)都能够进行相应的接收,从而保证了两 个区域的通信范围。
因此,组播中节能的解决方案是将Zone-ID映射到时隙索引中,这意味着如果UE位于该区域,则它应该在映射时隙中执行感测模式。区域ID和时隙索引之间的映射关系可以由(预)配置指示(例如,通过RRC),或者可以由控制信息指示(例如,SCI,MAC CE)。映射规则可以定义为UE位于连续相邻区域(即,UE区域相关窗口)映射到UE感测相邻时隙。例如,从位置角度来看,图3中的UE-1和UE-2属于相邻UE,而从时域角度来看,图4中的UE-1和UE-2也应该被视为相邻UE。基于(预)配置,每个Zone-ID被映射到具有索引的连续时隙中,其中连续时隙的数量取决于通信范围和区域尺寸(Zone Size)。基于该映射规则,只要UE知道其位于哪个区域(即Zone-ID),它就能够准确地判断相应的时隙进行感测,发送和接收。
注意的是,以上讨论是基于一维Zone-ID(经度或纬度)和时隙之间的映射规则。相同的映射规则也可以在二维Zone-ID(经度和纬度)与时隙之间实现。在实施例中,为简单起见,我们仅关注一维Zone-ID映射。
为了制定Zone-ID与时隙索引之间的关系,在此定义一些必要的参数,如下所示:
●由时隙数来计数的UE的感测间隔(UE Active Interval),表示为2Y+1时隙;
UE在检测侧链路信道时,感测间隔可以通过计时器来实现。
●用时隙表示的感测间隔取决于区域的长度L或宽度W(为简单起见,假设为L=W)和通信范围d cr;
参数Y min被定义为Y min=d cr/L;
针对不同的数据包通信范围是不同的,因此可以通过统计方式来确定最小Y min;
由于感测间隔的一部分是用于资源选择目的的,因此被选择的Y应始终大于或等于Y min,即Y≥Y min。
●Tx UE使用以下公式确定其所在的Zone-ID
和
Zone-ID=n yN x+n x,
其中,L为区域长度值,W为区域宽度值,N x为Zone-ID的经度,N y为Zone-ID纬度值,x和y分别为UE当前位置经度,纬度与参考坐标(0,0)之间的距离,n x=0,1,…,N x-1和n y=0,1,…,N y-1。为了简单起见,我们假设N x=N y。
●每个DRX循环周期中的时隙索引为n c,其中n c=0,1,…,N c-1,N c为每个DRX循环周期中的时隙数(例如,N c=100)。注意,DRX循环周期中的时隙索引n c和时间上的时隙索引n t之间的关系保持为n c=n tmod N c,其中n t时域上的时隙索引,为是任意整数。
为了公式化第n个区域与第m个区域之间的区域相关性,我们引入了一个与第m个区域相关联的新参数Z(n,m),即所谓的区域相关系数。第m个区域位于区域相关窗口的中心,因此,区域相关系数Z(n,m)可以(预)配置为
其中n,m=0,1,…,N x-1。
这意味着,如果Z(n,m)=1,则第n个区域位于与第m个区域相关联的区域相关窗口之内,否则就在区域相关窗口之外。
n x和n c之间的映射规则定义为n x=(n c+Δ k)mod N x,
其中n x=0,1,…,N x-1和n c=0,1,…,N c-1。另外,Δ k被设置为第k个DRX循环周期中的映射偏移(一般为整数),主要起到n x和n c之间的伪随机化作用,其中0≤Δ k<N x。该映射偏移可以由RRC信令配置或预配置的,也可以由SCI或MAC CE信令加以更新。关于映射偏移讨论将在实施例3中进行详细叙述。此外,参数n x和N x也可以被n y和N y替代。
因此,可以将第k个DRX循环周期中的第n c个时隙的感测模式与第m个区域相关联,并定义为S k(n c,m)
S k(n c,m)=Z(n x,m),
其中n x=0,1,…,N x-1和n c=0,1,…,N c-1。
这意味着,如果S k(n c,m)=1,位于第m个区域的UE,则应在第k个DRX循环周期的,第n c个时隙中被激活处于感测模式,否则,该UE应保持在睡眠模式。这样不但能保证同一组播的相邻UE同时处于感测模式,而且处于感测模式 的组播的相邻UE在Tx UE相关联的通信范围之内。
通常,N x和N c是不同的,即N x≠N c。如果N x<N c,则一个n x可以映射到多个n c,从而在单个DRX循环周期内产生多个感测间隔。另一方面,如果N x>N c,则可以将一个n c映射到多个n x中,从而在DRX循环周期内可能不产生任何感测间隔。对于使用周期流量服务的组播来说,可能会导致较大的延迟。N x和N c的相关讨论将在实施例6中进行详细叙述。
在此我们先简单地假设N x=N c=N(如,N=100),然后针对周期性流量的组播,考虑基于本映射机制,并基于区域的部分感测。图5举例说明了基于区域的部分感测,其中有五个部分感测Rx UE(即UE-1~5),Y=2,K=10,Δ k=0,序列模型q K={1100100000}。
实施例2
二维区域由区域ID的经度和区域ID的纬度组成。因此,DRX循环周期可以基于经度的DRX循环周期或基于纬度的DRX循环周期进行(预)配置,实现双重DRX循环周期。从实现角度,两个DRX循环周期可以在同一资源池中(预)配置,或者每个DRX循环周期可以针对每个独立的资源池进行(预)配置。前者有利于平衡UE的感测间隔和资源效率,后者有利于提高覆盖性能。作为用例,当UE在道路上行走或驾驶时,UE可以检测街道方向以及区域方向,灵活选择(预)配置的DRX循环周期,从而有效地用于部分感测。
图6举例说明了和区域相关的双重DRX循环周期,其中一个属于基于经度的DRX循环周期,另一个属于基于纬度的DRX循环周期。
与基于单循环周期的DRX相比,基于双循环周期的DRX可以提高覆盖范围和感测性能。经过两个DRX循环周期之后,组播感测面积可以加倍,并且处于感测模式的UE的数量也可以增加两倍,而UE节能效果没有变化。详细如图7所示。
实施例3
如果在不同的DRX循环周期中映射偏移Δ k值是固定的话,则Tx UE之间选择的资源冲突概率可能会增大。这是因为UE在相同的感测间隔所选择的资源候选在时域和频域会相同,从而降低了资源选择的自由度并影响NR-V2X整体性能。
在此,本实施例在DRX循环周期中配置不同的映射偏移值Δ k,从而减低UE选择资源冲突概率。为了简单起见,假定N x=N c=N,但本提案也适合于N x≠N c的情况。假设当前时隙索引为n,并且在感测窗口中的DRX循环周期数为K。与第n个时隙相关联的DRX循环周期的索引k n可以通过以下公式导出
其中,k n=1,2,…,K, 为天井函数。
为了减小资源冲突的可能性,本实施例考虑(预)配置的序列模型Δ K={Δ 1,Δ 2,…,Δ K},在不同的DRX循环周期中改变映射偏移值Δ k。图8错误!未找到引用源。举例说明了感测窗口内的动态映射偏移,并带有可配置的参数N=100,K=10,和配置序列模型Δ K={0,10,…,90}。
实施例4
根据NR-V2X中的规范,通信范围与数据包优先度相关联,具体的通信范围要求由SCI指示,至少由4比特来指示。通信范围至少可以有{50,80,180,200,350,400,500,700,1000}米。因此针对各种通信范围解决方案,必须引入新的机制。在这里,我们认为有两个参数在不同的DRX循环周期内是可以控制的。一个与UE感测间隔有关,可以在不同的DRX循环周期内(预)配置不同的UE感测间隔,并基于UE感测间隔序列模型来实现。另一个与区域尺寸相关,可以在不同的DRX循环周期内(预)配置不同的区域尺寸,并基于区域尺寸序列模型来实现。这些控制参数相互相关相补,可以同时被灵活(预)配置。但是,在我们的控制通信范围讨论中,为简单起见,其中一个参数将被固定不变,而将另一个参数被动态调整。当然,这两个参数也可以用于组合其他参数,例如映射偏移Δ k等。
本实施例中,为了实现针对各种数据包所需的各种通信范围的动态解决方案,我们固定区域尺寸,并基于(预)配置的序列模型在每个DRX循环周期中调整UE感测间隔参数Y。注意,固定区域尺寸等效地保持每个区域中的UE数量不变。在此,我们考虑在不同的DRX循环周期中(预)配置不同的UE感测间隔,并将它们与相应的通信范围关联起来。在第k n个DRX循环周期中UE感测间隔的值取决于Y K={Y 1,Y 2,…,Y K}的序列模型,其中k n与第n个时隙相关联, 在公式-1中被定义,k n=1,2,…,K。
在实际情况中,Tx UE在发送和通信范围相关的数据包时,它可以通过选择和通信范围相符合的(预)配置的UE感测间隔来选择其DRX循环周期内的资源。应当注意的是,通信范围变化越大,选择符合通信范围的DRX循环周期数就需要越多,Tx UE发送相关数据包的迟延就越长。
图9举例说明了感测窗口中可用的多个UE感测间隔,并带有可配置参数,如N=16,K=3和Y K={3,2,1}。
实施例5
如之前所讨论的,UE可以根据通信范围以及Zone-ID经度和纬度来确定区域尺寸。本实施例中,如果固定UE感测间隔,而改变每个DRX循环周期相关的区域尺寸,也可以相应地控制通信范围。注意,区域尺寸越大,每个区域中UE数就越多,Tx UE选择资源的冲突就越大,反之亦然。
在每个DRX循环周期中,通过(预)配置区域长度的L K={L 1,L 2,…,L K}序列模型或区域宽度的W K={W 1,W 2,…,W K}序列模型来控制通信范围。为简单起见,我们可以假定L K=W K。
在实际情况中,Tx UE在发送和通信范围相关的数据包时,它可以通过选择和通信范围相符合的(预)配置的区域尺寸来选择其DRX循环周期内的资源。
图10举例说明了感测窗口中可用的多个UE感测间隔,并带有可配置参数,如N=16,K=3和L K={4A,2A,A}。可以看到,在第1个DRX循环周期中,每个时隙与大小为4A的区域相关联,在第2个DRX循环周期中,每个时隙与大小为2A的区域相关联,在第3个DRX循环周期中,每个时隙与大小为A的区域相关联。在使用此(预)配置机制和映射规则时,如果Tx UE数据包的相关通信范围较大,则Tx UE可以选择第1个DRX循环周期中的资源进行数据包传输;如果相关的通讯范围较小,则Tx UE可以选择第3个DRX循环周期中的资源进行数据包传输。关于Rx UE在DRX循环周期中的感测规程,则没有任何变化。注意,通过使用此(预)配置机制和映射规则,相邻DRX周期中的通信范围以两倍的关系被调整。
实施例6
N x和N c通常是不同的。如果是N x<N c,则单个n x可以映射到多个n c,从 而在单个DRX循环周期内产生多个感测间隔。例如,当6比特专用于Zone-ID经度时,可以计算出N x=64。但是,当我们考虑周期为100ms的周期性流量时,则N c=100,其中时隙间隔为1ms。在这种情况下,UE可以在DRX循环周期中被最大激活两次。比较简单有效的解决方案是在每个DRX循环周期中设置最大感测间隔数,然后属于同一组播的所有UE根据升序或降序选择感测机会,具体由RRC信令(预)配置。
另一方面,如果N x>N c,则单个n c可以映射到多个n x,从而在DRX循环周期内没有UE的感测机会。对于使用定期流量服务的组播来说,这可能会导致较大的延迟。
针对以上两种情况,综合的解决方案是基于(预)配置方式来控制每个DRX循环周期中N x和N c之间的关系。针对周期性的流量,我们可以固定N c,然后在每个DRX循环周期中静态地控制N x。可以结合基于序列模型的可控区域尺寸来执行此机制。例如,根据来自高层的通信范围,如果需要减小Zone-ID的经度N x或纬度N y,则应增加区域的大小。在此,参数Zone-ID的经度N x和纬度N y被扩展为N x,k和N y,k,而参数N c被扩展为N c,k。其结果是,可以对N x,k(或N y,k),N c,k,Y k和L k元素的参数集进行静态的(预)配置。K个DRX循环周期相关的参数集可定义为
G K={G 1,G 2,…,G K},
其中,与第k个DRX周期相关的参数子集G k可定义为
G k={N x,k,N c,k,Y k,L k}。
实施例7
组播服务可以基于由高层确定的专用目标ID来实现;即,不同的组播具有不同的目标L2ID。因此,基于DRX的节能也能够有效地依赖于目标ID信息。通过获取目标L2ID的LSB(Least Significant Bit),每个UE可以基于DRX循环周期内的(预)配置值来确定UE感测间隔。
假设第j组播中的所有UE都事先知道与组播服务相关联的专用目标ID,将其标记为ID j,其中j=0,1,…,J-1,J是组播服务允许的最大组播数。这是因为NR-V2X是允许UE同时支持多个播组服务。因此,根据目标ID(即ID j)的指示,第j个组播中的成员UE应该在第k个DRX循环周期的,第n k,j个时隙中被 激活。n k,j可以表示为
n k,j=(ID j+Δ k)mod N k,
其中,N k是时隙中第k个DRX循环周期的长度,Δ k是第k个DRX循环周期中的映射偏移(一般为整数),主要起到伪随机化作用,0≤Δ k<N k。关于映射偏移参考实施例3。
针对发送和接收的UE,仅需要指定DRX循环周期中的单个时隙。然而,出于感测和资源选择的目的,则需要多个时隙,以确保在候选时隙集中获取足够的资源。因此,在这种情况下,与第j个组播相关联的所有UE需要在第k个DRX循环周期内的2Y k,j+1个时隙中进行感测。由于每个组播中的服务一般比较类似,因此可以保持每个组播UE感测间隔基本恒定。也就是说,参数Y k,j可以简化为Y j。
此外,可以基于连续时隙(Contiguous Slot)感测方式或分布式时隙(Distributed Slot)感测方式来(预)配置感测时隙。如果使用连续时隙感测方式,例如,将第k个DRX循环周期的第n个时隙,第j个组播业务的感测状态S k,j(n)(预)配置为
其中n=0,1,…,N k-1,Y k,j是第k个DRX循环周期内第j个组播中UE感测间隔(预)配置参数。
应该注意的是,如果S k,j(n)=1,则与目标ID指示的第j组播相关联的UE应该在第k个DRX循环周期中的第n个时隙被激活感测,否则UE应该保持在睡眠模式。每个DRX循环周期中,每个UE在不同组播之间的感测时隙可能会重叠,从而有助于减少DRX循环周期内的整个UE感测间隔,但不会影响整体的性能。
作为示例,假设UE间隔仅基于组播服务,而与DRX循环周期的索引无关。因此,如果给定可配置的参数N=16,K=3,J=2,Δ k=0,{ID 0 ID 1}={43 20},{Y 0 Y 1}={1 2},根据ID j值,我们能够推导n k,j
通过这些配置参数和推导值,图11示例了基于目标ID的连续时隙的部分感测方式。
如果使用分布式时隙感测方式,例如,在第k个DRX循环周期中,与第n k,j个时隙相关联的第j个组播业务的N k时隙的感测状态S k,j(n k,j)可(预)配置为
S k,j(n k,j)={S k,j(0),S k,j(1),…,S k,j(N k-1),}
例如:
应该注意的是,如果S k,j(n k,j)中的第n个元素S k,j(n)等于1,则与目标ID(即ID j)指示的第j个组播相关联的UE应该在第k个DRX循环周期中的第n个时隙被激活感测,否则UE应保持睡眠模式。因此,由 表示的总时隙可以通过集合S k,j(n k,j)的并集计算获得
例如,假设N=16,K=3,J=2,{ID 0 ID 1}={43 20}和{Y 0 Y 1}={1 2},我们可以根据比特映射方式对S k,j(n k,j)进行(预)配置
由于这两组播的UE感测间隔有部分重叠,因此这两组播的并集可以被描述为
图12中显示了基于目标ID和分布式时隙感测方式的部分感测的示例,其中两个组播共同激活了第13个时隙,从而可以减少了总的感测时隙数量。
值得注意的是,参数Y k,j不应被设置太大,较大的Y k,j需要更多的感测时间从而导致更大的功耗。适当的Y k,j值取决于组播服务的优先级。此外,重叠的感 测时隙越多,节能效果越好。但是,感测时隙重叠可能会降低候选时隙集中资源选择的自由度,并导致Tx UE间的资源选择冲突。
假设每个UE可以同时加入最多J个组播。如果UE希望进一步降低功耗,则需要限制UE感测组播数量。如果限制UE仅感测J lim组播,其中J lim≤J。UE加入哪个组播进行感测将取决于以下的因素:
●组播业务的优先级,或
●从高层传递的目标ID的新鲜度(即,组播业务持续的时间),或
●和目标ID组播相关的传输次数,或
●以上综合因素。
实施例8
根据目标ID(即ID j)的指示,第j个组播中的成员UE应该在第k个DRX循环周期的,第r k,j个资源池中被激活。r k,j可以表示为
r k,j=(ID j+Δ k)mod N R,
其中,N R是UE被(予)配置的资源池数,Δ k是第k个DRX循环周期中的映射偏移,0≤Δ k<N R。关于映射偏移参考实施例3。
应当注意,资源池被定义为侧链路传输或接收可用时隙和频率资源块的子集。时域中的资源池由比特映射指示,并以一定间隔重复。我们可以假设资源池的重复时间间隔与DRX周期相同,或者相互成整数倍。
因此,与第j组相关联的Tx UE选择第r k,j个资源池中的资源,在第k个DRX周期中发送数据包。同时,与第j组相关联的所有Rx UE仅需要访问第r k,j个资源池,并且在第k个DRX周期内的全部(或部分)时隙进行感测。注意,考虑部分时隙进行感测主要是可以将该资源池感测机制和前述的部分时隙感测机制相互结合,从而获得更有好的节能效果。
作为示例,UE仅需要感测相应的资源池。为了简单起见,我们假设资源池的重复时间间隔与DRX周期相同,资源池的感测是基于N R=3(由R 0,R 1和R 2资源池表示),K=3,M=2,{Δ 1 Δ 2 Δ 3}={0 2 1},和{ID 0 ID 1}={43 20}的配置假设。在此,我们可以推导给出资源池索引
和
使用这些配置参数和推导出的资源池索引,基于组播目标ID的资源池感测如图13所示。
通常,NR-V2X系统允许UE同时支持多种不同业务,例如基于目标ID的组播服务,基于通信范围的组播服务,以及单播服务。因此,以上提出的所有机制可以全面地参与在每个DRX循环周期中的UE感测间隔决定,从而更有效地实现NR-V2X的部分感测。




