名称:一种锂电锯防护罩
专利号:202420104784.1
专利权人:徐传保
技术领域
本实用新型属于锂电锯防护罩技术领域,具体涉及一种锂电锯防护罩。
背景技术
锂电锯是一种采用锂电池作为动力的电动工具,具有安全、便携、低维护成本、高效节能和环保健康等特点与传统油锯相比,锂电锯更加安全,因为锂电池本身更加安全,没有火灾爆炸风险;同时,由于锂电锯的使用方式更加便捷,可以更好地避免意外伤害的发生。此外,锂电锯还具有低维护成本、高效节能和环保健康等优势,是现代电动工具中的一种重要工具。
目前锂电锯的防护盖子仅仅是对于一侧进行简单的遮挡,但是在目前向下切割树干时,可能存在树干掉落地面崩开对人产生伤害,尤其是新手在使用电锯是,为此我们提出一种锂电锯防护罩来解决上述提出的问题。
实用新型内容
本实用新型的目的在于提供一种锂电锯防护罩,以解决上述背景技术中提出的问题。
为实现上述目的,本实用新型提供如下技术方案:一种锂电锯防护罩,包括电机机体,所述电机机体上安装有锂电池舱盖,且电机机体的一侧设置有链锯刀,所述电机机体上套设有两个防护组件,所述电机机体靠近链锯刀的一侧安装有两个调节、支撑防护组件的防护盖角度调节件,所述防护盖角度调节件上还滑动连接有清理链锯刀表面浮尘的清扫件。
优选的,所述电机机体上安装有把手,且电机机体上还通过螺钉连接有锂电池舱盖。
优选的,所述防护盖角度调节件包括支撑板,所述支撑板上开设有多个圆周排列的定位插孔,所述支撑板上转动连接有转轴,所述转轴上固定连接有连接板,所述连接板上插入有插杆,所述插杆的底端贯穿连接板并与相邻所述支撑板上相卡合;
其中,所述插杆与支撑板的卡合端上包覆有阻尼块。
优选的,上述连接板内安装有复位弹簧,所述复位弹簧的一端与连接板的内壁固定连接,且复位弹簧的另一端与插杆的表面相连,所述连接板与相邻所述防护组件相卡合,且连接板与防护组件的卡合部位螺纹连接有固定螺丝。
优选的,所述防护组件包括防护盖主体,所述防护盖主体包裹于链锯刀的外部,所述防护盖主体的两侧均连接有防护橡胶片。
优选的,所述防护盖主体上开设有滑槽,所述清扫件通过滑槽与防护盖主体滑动连接。
优选的,所述清扫件包括连接杆,所述连接杆的一端固定连接有拉手,所述连接杆的另一端连接有海绵块,所述连接杆上安装有与滑槽配合滑动滑轮。
与现有技术相比,本实用新型的有益效果是:
安全性增强:防护罩的设计能够全方位地保护链锯刀,防止操作人员在使用过程中受伤。防护组件和清扫件的设计有效地防止了链锯刀在工作时可能造成的意外伤害。
便利的清理和维护:清扫件的设计使得清理链锯刀变得简单快捷。通过拉动清扫件上的拉手,可以轻松清理链锯刀的表面和防护盖主体槽内的碎屑,大大提高了工作效率。
可调节性:防护盖角度调节件的设计使得防护组件可以调节角度,适应不同的工作需求。同时,通过皮带和皮带扣,可以将两个防护组件固定在一起,便于存储和携带。
耐用性和可靠性:插杆与支撑板之间的阻尼块设计增加了结构的稳定性,使得防护组件在使用过程中不易松动。复位弹簧和固定螺丝的设计则进一步增强了防护罩的耐用性。
易于操作:该装置结构简单,操作方便。使用者只需握住电机机体和把手即可启动链锯刀工作,无需复杂的操作步骤。
易于维护和更换电池:通过锂电池舱盖,可以方便地更换电机机体内部的电池,延长了整个装置的使用寿命。
综上所述,本实用新型提供的锂电锯防护罩具有高安全性、易于清理和维护、可调节性、耐用性和可靠性、易于操作以及易于维护和更换电池等优点,大大提高了操作的安全性和工作效率。
附图说明
图1为本实用新型的立体图图;
图2为本实用新型的俯视图;
图3为本实用新型防护组件与连接板连接的立体图;
图4为本实用新型中清扫件的立体图;
图5为本实用新型支撑板的局部剖面图。
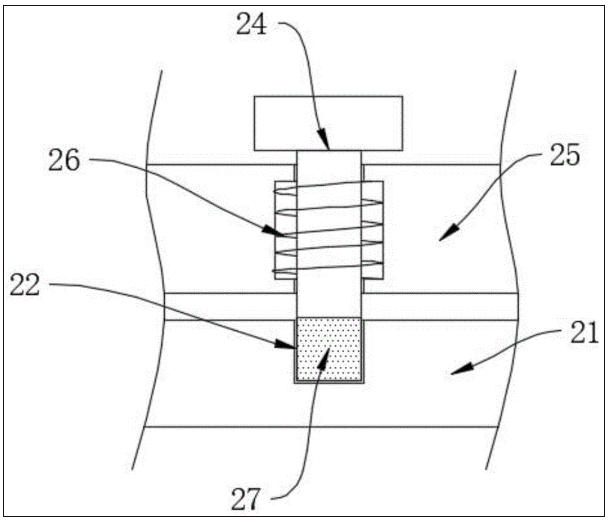
图中:1、电机机体;11、把手;12、锂电池舱盖;13、链锯刀;2、防护盖角度调节件;21、支撑板;22、定位插孔;23、转轴;24、插杆;25、连接板;26、复位弹簧;27、阻尼块;28、固定螺丝;3、防护组件;31、防护盖主体;32、滑槽;33、防护橡胶片;4、清扫件;41、拉手;42、连接杆;43、滑轮;44、海绵块。
具体实施方式
下面将结合本实用新型实施例中的附图,对本实用新型实施例中的技术方案进行清楚、完整地描述,显然,所描述的实施例仅仅是本实用新型一部分实施例,而不是全部的实施例。基于本实用新型中的实施例,本领域普通技术人员在没有做出创造性劳动前提下所获得的所有其他实施例,都属于本实用新型保护的范围。
请参阅图1-图5,本实用新型提供一种锂电锯防护罩,包括电机机体1,电机机体1上安装有锂电池舱盖12,且电机机体1的一侧设置有链锯刀13,电机机体1上套设有两个防护组件3,电机机体1靠近链锯刀13的一侧安装有两个调节、支撑防护组件3的防护盖角度调节件2,防护盖角度调节件2上还滑动连接有清理链锯刀13表面浮尘的清扫件4。
本实施例中,电机机体1上安装有把手11,且电机机体1上还通过螺钉连接有锂电池舱盖12。
本实施例中,防护盖角度调节件2包括支撑板21,支撑板21上开设有多个圆周排列的定位插孔22,支撑板21上转动连接有转轴23,转轴23上固定连接有连接板25,连接板25上插入有插杆24,插杆24的底端贯穿连接板25并与相邻支撑板21上相卡合;
其中,插杆24与支撑板21的卡合端上包覆有阻尼块27。
本实施例中,连接板25内安装有复位弹簧26,复位弹簧26的一端与连接板25的内壁固定连接,且复位弹簧26的另一端与插杆24的表面相连,连接板25与相邻防护组件3相卡合,且连接板25与防护组件3的卡合部位螺纹连接有固定螺丝28。
本实施例中,防护组件3包括防护盖主体31,防护盖主体31包裹于链锯刀13的外部,防护盖主体31的两侧均连接有防护橡胶片33。
本实施例中,防护盖主体31上开设有滑槽32,清扫件4通过滑槽32与防护盖主体31滑动连接。
本实施例中,清扫件4包括连接杆42,连接杆42的一端固定连接有拉手41,连接杆42的另一端连接有海绵块44,连接杆42上安装有与滑槽32配合滑动滑轮43。
进一步的,两个防护组件3远离防护盖角度调节件2的一端分别安装有皮带以及皮带扣,能够让整个装置在不使用的时候,将两个防护组件3远离防护盖角度调节件2的一端扣合。
本实用新型的工作原理及使用流程:该装置在使用时,通过打开锂电池舱盖12可以更换电机机体1内部的电池,在使用时,握住电机机体1、把手11即可使用,随后向上拉起两个插杆24,此时插杆24上的两个阻尼块27从支撑板21的内部抽出,此时在转轴23与连接板25的作用下,两个防护组件3可以向外打开呈剪刀状,并且最大开合角度可以达到锂电池舱盖120度,打开以后送开插杆24,在连接板25的回弹力作用下,插杆24会带动阻尼块27重新插入支撑板21上新开设的定位插孔22内,这样即可漏出链锯刀13,打开电机机体1即可启动链锯刀13工作,在工作时,树木是夹在链锯刀13以及其中一个防护盖主体31之间的,利用链锯刀13向下移动切割树木,当树木被切断时,会通过防护盖主体31的斜面缓慢落下不会直接落下崩开伤人,并且防护橡胶片33可以防止防护盖主体31表面被刮花,起到一定的缓冲作用,随后,清扫件4在滑槽32内滑动,当链锯刀13使用完成,两个防护组件3收起链锯刀13时,拉动两侧清扫件4上的拉手41带动连接杆42在滑槽32内移动,通过连接杆42上的滑轮43让连接杆42在滑槽32内移动的更加稳定顺滑,即带动两侧的海绵块44在防护盖主体31清理链锯刀13的表面以及防护盖主体31槽内的碎屑,操作方便快捷。
该实用新型内容中所使用的电子元器件及模块均可以为目前市场上普遍使用的、可以实现本案中具体功能的零件,且具体的型号与大小可以根据实际需要进行选择与调整。
以上显示和描述了本实用新型的基本原理、主要特征及优点。本行业的技术人员应该了解,本实用新型不受上述实施例的限制,上述实施例和说明书中描述的只是说明本实用新型的原理,在不脱离本实用新型精神和范围的前提下,本实用新型还会有各种变化和改进,这些变化和改进都落入要求保护的本实用新型范围内。本实用新型要求保护范围由所附的权利要求书及其等效物界定。



