名称:脊背经络疏通器
专利人: 聂春波
专利号:201821244901.5
技术领域
本实用新型涉及一种脊背经络疏通器,属于理疗器械技术领域。
背景技术
人体脊背部的“足太阳膀胱经”是与五脏六腑关系最为密切的一段经脉,贯穿有五脏六腑的全部俞穴,是人体第一保健区,“人体筋膜系统”是经络系统的形态物质基础,中医的一些外治疗法,如针灸、按摩、刮痧、拔罐以及微创等疗法都是是通过筋膜组织而产生疗效的,针刺时的酸、麻、胀、痛也是筋膜组织产生的特殊感觉,对脊背部的经络筋膜组织经常施以疏通治疗,这对防治脊椎和五脏六腑的多种病症以及健康长寿都具有重要价值。
目前已有的各种背部按摩器,如滚轮对相应穴位进行按摩,而滚轮属点压式,点压式的按压对对经络穴位尤其是深部筋膜组织的疏通效果普遍较差。
实用新型内容
本实用新型所要解决技术问题是提供一种对经络穴位刺激力度大、疏通经络效果好、占用空间小且制作成本低的脊背经络疏通器。
本实用新型采用如下技术方案:
本实用新型包括靠板、设置在靠板中部的运行孔、设置在运行孔内的推拉移动板、带动推拉移动板运动的驱动装置以及支撑装置;在所述推拉移动板顶面设置若干个与人体五脏六腑的全部俞穴相对应的顶压按摩装置。
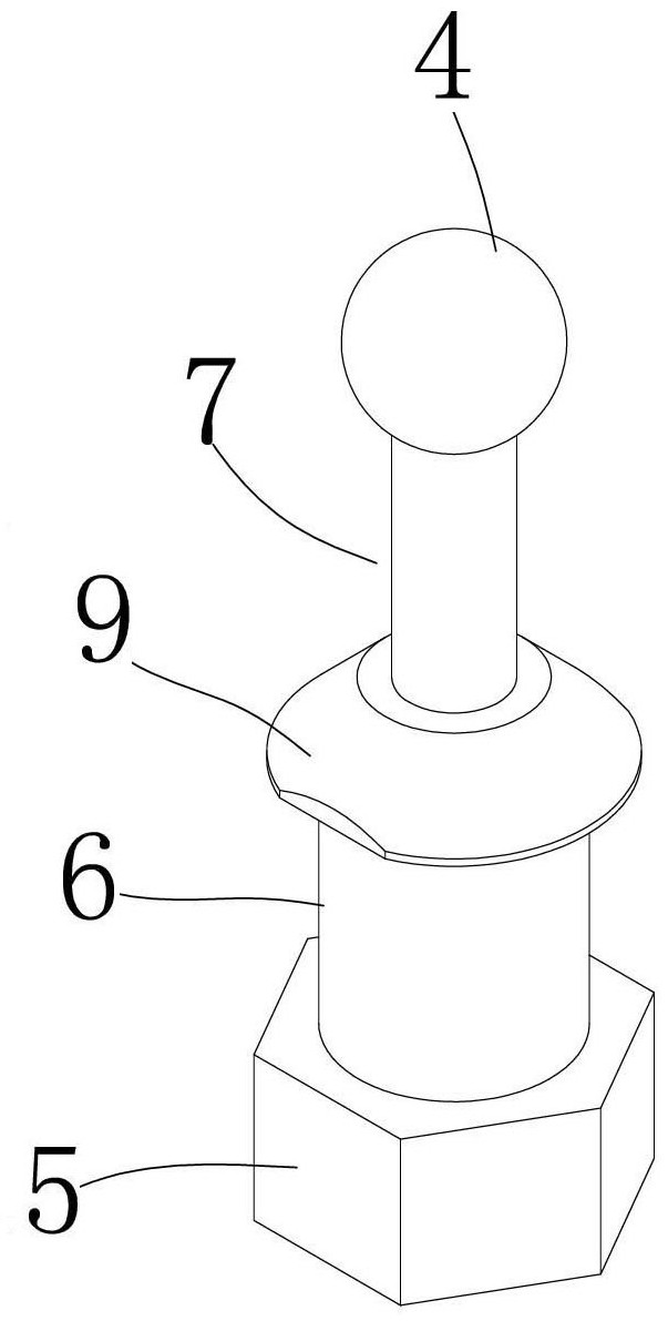
本实用新型所述顶压按摩装置包括安装在靠板底部的底座、穿过靠板安装在底座上的支撑管、套装在支撑管内的顶压柱以及安装在顶压柱底部与支撑管底壁之间的压缩弹簧,在所述支撑管顶部设置位于靠板顶面的锥形支撑帽,所述锥形支撑帽内侧设置卡台,在所述顶压柱底部设置凸台,所述卡台卡置着凸台,在所述顶压柱顶部安装球形软帽。
本实用新型所述底座与支撑管螺纹连接。
本实用新型所述支撑装置包括固定安装在靠板底部两侧的导轨槽、固定安装在推拉移动板两侧底部的固定杆以及安装在固定杆外端部的行走轮,所述行走轮对应的设置在导轨槽内并在其内支撑和限制推拉移动板前后运行;所述驱动装置包括固定安装在靠板端部下方的驱动电机、安装在驱动电机传动轴上的摇臂轮以及安装在摇臂轮外侧与推拉移动板端部铰连的推拉连杆。
本实用新型积极效果如下:本实用新型安装在推拉移动板上的顶压按摩装置与人体五脏六腑的全部俞穴相对应,通过推拉移动板约1-2cm的往返移动,使每个顶压按摩装置顶部对脊背部相应的俞穴实施强有力的顶压和推拉移动式按摩,疏通效果好,力道强。行走轮安装在导轨槽内,支撑限制推拉移动板前后定向运行,按摩时稳定可靠。本实用新型占用空间小,本实用新型只使用一个驱动电机,制作成本低,适合制成办公椅或沙发椅式按摩器,方便在办公室或家里使用,也可做成靠背式,躺椅式等多种款式。



