名称:城市轨道公交立体交通系统
专利人' 张博飞
专利号:201611193110.X
技术领域
本发明涉及城市公共交通系统,尤其是涉及城市轨道公交立体交通系统。
背景技术
随着科技的进步和城镇化建设进程的加速发展,城市交通拥堵是一个世界性的难题,每年因此造成的损失巨大。地下铁路(以下简称地铁)在城市交通系统担负着重要角色,是许多城市公共交通优先发展的交通项目。地铁的优点是不影响地面交通,载客多,速度快,不停顿(除了上下乘客之外),但其缺点也很明显:建造运营成本高、周期长,安全保障投入大,乘车换乘距离远。高架公路(高架桥)不仅存在建造运营成本高、周期长的问题,最根本的是不能实现乘车换乘,不适于城市公共客运交通运输。
发明内容
本发明目的在于提供一种城市轨道公交立体交通系统。
为实现上述目的,本发明采取下述技术方案:
本发明所述的城市轨道公交立体交通系统,包括按照纵、横布置的多条道路所构成的井字形交通系统,位于纵、横相交的所述道路十字路口的四角分别设置有站点及站点候车区;所述井字形交通系统自上而下为顶层、中间层和底层;每一层的每一条纵向道路分别位于开设在地面的同一条渠槽结构的纵向凹槽内,即:所述纵向凹槽为自上而下三层结构;每一层的每一条横向道路分别位于开设在地面的同一条渠槽结构的横向凹槽内,即:所述横向凹槽为自上而下三层结构;三层井字形交通系统的每个所述十字路口处的站点候车区上、下互通;每一条所述的纵向凹槽、横向凹槽的底层和中间层分别铺设有行车轨道,每一条纵向凹槽、横向凹槽的顶层为行人步道。
每一条所述的纵向凹槽、横向凹槽的底层和中间层的行车轨道均为单行轨道,即:每一条纵向凹槽的底层行车轨道和中间层行车轨道互为逆向行驶的行车轨道,每一条横向凹槽的底层行车轨道和中间层行车轨道互为逆向行驶的行车轨道。
本发明优点在于本着公共交通优先这是一个重要交通理念,设计了专用的公交轨道井字形立体交通系统。开设在地面的渠槽结构专用车道不同于地铁在地下,也不同于高架桥在空中,因此建设成本仅有同样长度地铁建设成本的五分之一以下,而且安全性大大提高。渠槽结构专用车道纵、横井字形直线布置,使得在一条公交线路上只单向运行一路公交车(不只是一辆,它们依一定规则分布在这一条公交线路上),因此具备以下显著进步:
一、对交通管理层来,线路设计大大简化,线路数量大大减少,管理难度大大降低;
二、对司机来说,劳动强度大大降低,同时车辆的车体可以更长(假设长100米),跑的可以更快;
三、对乘客来说,由于线路结构简单,可以很容易的辨别目的地方向,出行时乐于优先选择公交;
四、路口乘换:站点候车区设在十字路口,乘客很容易找到,乘车、换车都在这里,真正实现了纵向、横向的零距离换乘,大大方便了乘客;
五、穿梭运行:合理安排调度纵向、横向公交轨道车布局和运行间隔,实现了在一个平面内,纵向、横向公交运行时不冲突;
六、实现了公交的轨道化、电气化、智能化,满足了城市公交发展的趋势;可以方便、容易地实现公交的准时准点,并为进一步地实现公交的无人驾驶提供了技术保证。
七、本发明与现有公共交通道路如BRT等相比,不占用路面。
附图说明
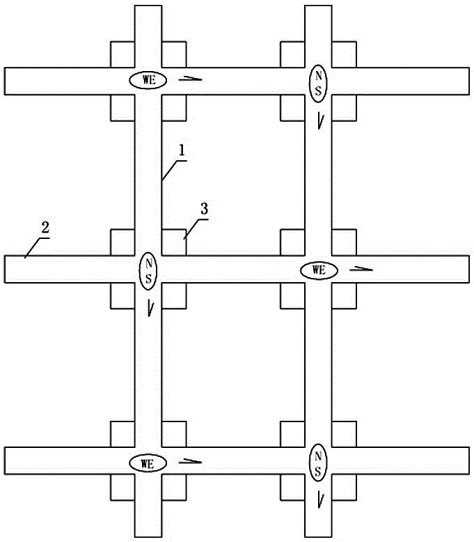
图1.1是本发明所述井字形交通系统i时刻车辆静态位置平面示意图。
图1.2是本发明所述井字形交通系统i+40秒时刻车辆静态位置平面示意图。
图2是本发明所述井字形交通系统位于十字路口四角的站点候车区平面布置示意图。
图3是本发明所述渠槽结构纵向凹槽(或横向凹槽)的纵向断面结构示意图。
图4是本发明所述渠槽结构纵向凹槽(或横向凹槽)的横向断面结构示意图。
具体实施方式
下面结合附图对本发明的实施例作详细说明,本实施例在以本发明技术方案为前提下进行实施,给出了详细的实施方式和具体的操作过程,但本发明的保护范围不限于下述实施例。
如图1-4所示,本发明所述的城市轨道公交立体交通系统,包括按照纵、横布置的多条道路1、2所构成的井字形交通系统,位于纵、横相交的所述道路十字路口的四角分别设置有站点及站点候车区3;井字形交通系统自上而下为顶层、中间层和底层;每一层的每一条纵向道路1分别位于开设在地面的同一条渠槽结构的纵向凹槽7内,即:所述纵向凹槽7自上而下分为顶层4、中间5层和底层6三层结构;每一层的每一条纵向道路1分别位于开设在地面的同一条渠槽结构的纵向凹槽7内;每一层的每一条横向道路分别位于开设在地面的同一条渠槽结构的横向凹槽内,即:所述横向凹槽自上而下分为顶层、中间层和底层三层结构;每一层的每一条横向道路分别位于开设在地面的同一条渠槽结构的横向凹槽内;三层井字形交通系统的每个所述十字路口处的站点候车区3上、下互通;每一条所述的纵向凹槽7、横向凹槽的底层和中间层分别铺设有行车轨道8、9,每一条纵向凹槽7、横向凹槽的顶层4为行人步道。每一条所述的纵向凹槽7、横向凹槽的底层6和中间层5的行车轨道8、9均为单行轨道,即:每一条纵向凹槽7的底层行车轨道8和中间层行车轨道9互为逆向行驶的行车轨道,每一条横向凹槽的底层行车轨道和中间层行车轨道互为逆向行驶的行车轨道。


