专利权人: 徐庭中
专利名称 :全能高效多用清扫车
专利号 : Z乚2019212072475
项目简介 :一种能高效清扫车,仍由各式车架与清扫履带对合辊筒等组合构成。但其前端压地辊筒中段改小滑动升降,使收纳成堆垃圾块石硬物轻松易为,履带刷毛改为刚性框架外沿毛刷及中部活动叶片三组分结构,使传动可靠,气流形成吹尘通道就近宻封滤收,做到最低能耗最高速度洁快速清扫一尘不留效高十倍,从手推型到电动型极度简廉易造低本高效无水无易损件,并兼具流动垃圾箱巡逻车急救车消防车部分功能,对周边附近人群提供随时随地就近及时关怀帮助重要服务,且日夜运行展示于城乡人员密集区域街道公园各处而具永久推销能力,产销能力强大罕有匹敌,是现代人类文明中既简单易为又效果显著影响广泛的重大有益进步,将广民众政府一致欢迎永久造福人类,生产厂家將名利双收!!
全能高效多用清扫车
技术领域:清扫车、急救车、巡逻车、消防车
背景技术:机械清扫车现已成为现代高文明人类城市道路广场不可缺少的清扫保洁工具。但现有的清扫车原理缺点严重效率极差:清扫时速不足10公里,且须连续喷水压尘,不仅成堆垃圾路面块石潮湿落叶及大件无力扫取,即便浮尘,也因喷水在先变成泥浆敷地而无法扫起。吸尘式原理能耗大效率差,只能频繁地充水充电,或直接采用高污染的燃油机车方式,而且只能在前期人力清扫之后,再进行这种害多利少,装点门面的低效清洁,不仅增加道路拥挤,也无其他有益功能。并且价高质差,易损件多,更换频繁,使用不便。
发明内容:改进本人的清扫车系列产品,使其各项能力更加过硬,扫取地面小堆垃圾、块石轻松高效,万无一失。且可手推或完全电动,以高速飞驰无水除尘方式净化路面广场。其核心技术原理仍为对合式履带清扫兼具气流吹扫,改进之处是清扫叶片均作刚性骨架配活动整体叶片及外沿毛刷等复合方式,确保能以最大清扫宽度、最大容物空间、最简廉可靠的传动及高速吹扫除尘方式,高效全能地清扫地面一切垃圾,其基本结构特点为:
1:清扫毛刷履带上制有适量与带面垂直的横列刚性框架,其外端或叶片外端连接横置细条毛刷,刚性直杆还可以用压簧滑套等方式,做成竖向可自动伸缩结构。既可均匀成列,也可偏重两侧,使中间具有最大容物空腔。细条毛刷当以柔性为主,也可与叶片、框架合为一体。也可刚性长杆底部制横置长销销套活动叶片底沿销套,使叶片可以整体转动成直立或躺倒状成气流通道,柔质叶片防水防腐容易变形,适应各种大小软硬垃圾的扫取容纳,使大小石块硬物及地面小堆垃圾的收取轻松易为。清扫时,毛刷履带在前后辊筒履带(或后部滚轮)传动下以前行的约2倍速度向前刮扫地面,当叶片为网布材质时气流较小,否则周围须严格密封;两侧板下部以多点位销钉卡槽等竖向滑动方式滑套刷毛立板,其下沿密集(后弯式更好)刷毛触地密封,较大板面又构成自然阻断,与后部档板(柔质而下沿带毛)、前端滚筒履带共同构成动态密封防止飞尘外泄。
2、前端着地辊筒分成三段,两端者以中部斜上滑套构成向上曲轴整体,并可连接侧板得以强固,中段以两侧向上滑杆方框插入两侧滑套中构成中间升降辊身,使其遇到大堆垃圾硬物时自动抬升,其上部辊筒及后部清扫辊筒也可酌情采用此三段式中部取消、收细、滑动方式(上下或前后方向)加上配用高弹性、柔性履带,确保收纳大件顺利可靠,清扫效能过硬,小堆垃圾收纳容易。两侧辊筒及履带内表面可对应制有两条凹凸相间均匀卡合结构,即可确保履带不会跑偏错位。
3、前沿采用动态或静态可收送和伸缩斜式刮刷结构,其斜式不仅是指两侧刮刷成倒八字斜向排列,而且其刷毛方向也与其刷杆或刷架向后倾,使其能与地面形成大尺度侧面压触高效刮扫堆移作用,配用高弹性不锈钢丝后更是效能卓著,而且即使高速也不扬尘,彻底消除喷水的必要和成本,高压泵、液压马达等全部省去,成本大幅降低。刮刷也可做成摩擦(地面)轮经软轴带动的锥形转动刮扫,更适合步行手推的慢速清扫。作成拉簧伸张又相互卡合滑动的多排式伸缩刮刷,即可以拉杆手柄拉线收放等方式随时操控刮扫面积和路面避让,简单实用,灵活方便。(图略)
4、对于小型手推车型,全车可简化成只有一对中后部车轮,压下车把就可使前部离地停止清扫进行正常行走移动。电动型者则最好将转向驱动轮居于正中,两侧分装两台小型电扇(只开一只就可使风量减半),后部分装两只万向轮,转向即很灵活。转向驱动轮轮叉中轴取套管式立轴结构,就可以同心螺杆、侧面齿条及各种方法升抬车身而使前部滚轮离地,或者较大幅度升降后部万向轮,都可随时中止清扫进行常规移动。将转向驱动轮的转向拉线,从车厢底沿连接一侧手柄轴杆下沿,驾驶员座椅做成只向此一侧连接固定活动翻转的方式,就得到中部贯通前后的较大空间,可用于临时停置一付常规担架,这样就可在紧急时短途抢救运送伤员。因为清扫车长期无休地日夜运行于人口密集市区街道,清扫又是密封态无尘化的极简劳作,将日常清扫、巡逻、消防、急救多者汇集一身方便容易而且高效可靠,随车携带氧气包、强心针、灭火弹及少量急救器材也很方便,只要配用兼具治安急救消毒消防必要技能知识的工作人员,如此一举多得的高明措施简廉易为,效果卓著一目了然,再反动恶劣的统治者也难于拒不采纳,应当是人类城市文明进步的上佳改革措施之一,必能伴随本类廉价高效多用车型产品的生产销售使用而迅速普及全球造福人类。
附图说明







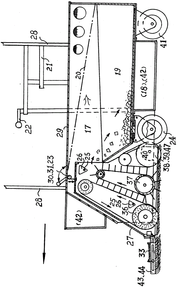
图1是清扫履带横断面结构实施例剖面图,图上长条毛刷1位于刚性框架直杆3的顶沿固定,其毛刷2可成U形被夹固定,当其夹板为橡胶弹性材料时,即可遇到大件硬物时自动变形构成有效夹持。刚性直杆一般须成框形结构获足够直立刚形,当其取平行四边形(斜顶角)时还可以兼备纵向弹性变形能力。图2为其侧视图,当刚性直杆方框为侧视L形结构,最便于与履带基布4粘接固定,当其取活动叶片5结构时,其根部销管6滑套在刚性直杆3 根部横销16上可转,其间距当此叶片稍大,方能确保叶片翻落后形成有效风道。图3为前端辊筒中段结构侧视图,可酌配侧板或斜筋10以增刚性。图4为其侧视图,其侧杆9顶部变细以插入图5之两侧框架顶杆8槽缝15及两侧滑套11 中滑动升降,并可酌配拉簧,连接两顶杆中心处可减震增压(图略)。直接取消中段亦可,简廉有效(图略)。图6是一电动式清扫车简要结构侧视半剖图,图上车架17近似于卧式方管,其底面增强安装前后行走轮及电池,底架上向前平滑插置垃圾料斗19,上面安装滤布20(可下延滤丝),顶面安装驾驰员座椅21,侧面安装方向手柄杆22,其下端以拉线23连接驱动轮24转向,车架前部从两侧对称向内延伸出上下卡销连杆25,制有上大下小的相应卡槽26,由前面两侧壁板与辊筒履带等构成的清扫机构27由此上下卡槽与车架滑动卡合一体,并可由车架面板29下的手柄31横管30上拉线吊拉升降,座椅、顶棚均固定联系于同一侧面架杆28上,故可使座椅翻立后形成仍有顶棚保护的纵向空间和平面,使平置一付担架45抢救运送伤员成为可能。驾驶员此时可侧立于侧板活动(折迭)踏板46上驾驶。车架前后及顶部均可酌情配设支架盒腔47,使灭火器、救生器材方便存储(图略),甚至像前端辊筒履带之内腔亦可特设此类透明箱盒用于存放器材,可视可取,伸手可及。
图7为此清扫车仰视图,图上后部滚轮38具有通透结构,可过侧向风进风机40加强后,从吹风筒39向前下吹地除尘,含尘气流向上推动活动叶片侧转形成风道入箱内滤尘,斜置滤布受行驶震动而具自净功能,一切动作自动进行。
图8为此清扫车后视图,表明其座椅可向上翻立,甚至顶篷33的两侧顶棚 32也可侧向支起,方便伤员及担架一侧出入时挡风遮雨。
各图上零件序号为:
1长毛刷条、2毛刷、3框架直杆、4履带基布、5活动叶片、6销管销套、 7辊筒、8框架杆、9侧杆、10斜筋,11滑套、12凹槽、13横轴、14粘压条带、15槽缝、16横销、17车架、18电池、19料斗、20滤布、21座椅、22手柄杆、23拉线、24驱动(转向)轮、25卡销连杆、26卡槽、27清扫机构、28 固定杆架、29车架面板、30横管、31手柄、32顶篷、33拉簧、34三角卡槽、 35销钉、36前端辊筒、37清扫辊筒、38后部辊轮、39吹风筒、40风机、41 行走轮或万向轮、42箱盒、43刮帚架、44刮帚、45担架、46、活动踏板、47凸块。
具体实施方式:如图1所示的长毛刷条1为两只簿板槽钢底面焊连而成,其U型毛刷2直接或经塞条压入上口后(带胶)压固,再与各框架杆8以下口插合压固形成一体。下部横销16插入活动叶片5之销套(具有较多间隔)后,再顺序冲出各三连凹弯卡合各框架杆8根部构成完整一体,再带胶固定于履带基布4上定位,再贴上粘压条带14进行终极固定。当然也可以现有焊接网筛冲切成型,就可免去框架冲压自制,工艺略省,至于辊筒7当先冲出槽孔后再弯接成筒,制成后可填放凸块47(顶面带胶)滚粘胶合于履带基布4背面而兼作履带生产工具(中间加接筒身,符合履带宽度)。其它工艺生产加工方式大致如常,无须多说。总之,全机尽量采用铝、不锈钢板材及板焊冲压工艺可确保轻强耐久不腐不坏,履带、毛刷采用高弹性耐腐的无机橡塑材料,刹车、驱动采用现已成熟普及的已有技术,驱动轮可单可双,可前可后,包括清扫辊筒亦可主动自驱,内置电机以蓄电池(锂电池更佳)驱动,达到环保极致,轻廉易制。使用最多的手推式清扫车,其料斗与清扫机构直接合为一体,车体辊筒也可简省履带和上部后部辊筒,车把也可活销连接车上,处直立位时的前推可使前端辊筒获最大下压力摩擦,带动清扫履带或清扫辊筒(省代履带)更为可靠有力,收存不用时也占地更小。