申请(专利)号: CN202021803440.8
专利权利人: 薛启轩;
名称:多轴榫槽机
本实用新型属于木材加工技术领域,尤其涉及多轴榫槽机,包括机架,机架包括多个横梁,横梁顶端一侧设有两个执行机构滑轨,另一侧设有可移动的支撑板,支撑板顶端设有夹紧装置,横梁顶端远离执行机构滑轨端设有滑道,支撑板底端设有与滑道相匹配的滑槽,执行机构滑轨上依次设有第一执行机构、第二执行机构、第三执行机构、第四执行机构、第五执行机构、第六执行机构和第七执行机构,机架底部设有支撑腿,机架下端设有驱动装置,执行机构滑轨和支撑板间设有废料槽。本实用新型结构简单,操作方便,能同时加工多个榫槽,且可以加工不同长度的榫槽,钻屑可自动收纳,全自动化操作,减少人工劳动强度,只用一台电机提供动力,节约能源。
多轴榫槽机
技术领域
本实用新型属于木材加工技术领域,尤其是多轴榫槽机。
背景技术
木材加工是以木材为原料,主要用机械或化学方法进行的加工,其产品仍保持木材的基本特性。木材加工技术包括木材切削、木材干燥、木材胶合、木材表面装饰等基本加工技术,以及木材保护、木材改性等功能处理技术。切削有锯、刨、铣、钻和砂磨等方法。由于木材组织和纹理等影响,切削的方法与其他材料有所不同。经过加工的木材在实际应用中需要个根据需要组装成各种结构造型,因此涉及到木材段与木材段之间的结构连接。榫槽工艺通过若干根经过独特技术加工成型的木条,不用钉、铆和任何粘合剂等外界辅助条件或任何手段,只是运用榫槽自身的相互结合,从而组成从不同角度和不同方位都能显示出不同形状的木条榫槽工艺品。在木材上加工榫槽的设备是榫槽机,现有的榫槽机仅仅对固定工作面上的木材进行单个榫槽加工,若需要在一个木材上同时加工多个榫槽,需要进行手动移动木材以调整其位置,且只能加工一种长度的槽,不能满足生产需要。
实用新型内容
本实用新型的目的是提供多轴榫槽机,结构简单,操作方便,能同时加工多个榫槽,且可以加工不同长度的榫槽,钻屑可自动收纳,全自动化操作,减少人工劳动强度,只用一台电机提供动力,节约能源。
为了解决上述技术问题,本实用新型采用以下技术方案:
多轴榫槽机,包括机架,所述机架包括多个横梁,所述横梁顶端一侧设有两个执行机构滑轨,另一侧设有可移动的支撑板,所述支撑板顶端设有夹紧装置,所述横梁顶端远离执行机构滑轨端设有滑道,所述支撑板底端设有与滑道相匹配的滑槽,所述执行机构滑轨上依次设有第一执行机构、第二执行机构、第三执行机构、第四执行机构、第五执行机构、第六执行机构和第七执行机构,所述机架底部设有支撑腿,且机架下端设有驱动装置,所述执行机构滑轨和支撑板间设有废料槽,所述废料槽底部从中间部位向两侧下端倾斜。
所述驱动装置包括双轴电机,所述双轴电机两侧均设有输出轴,两侧输出轴分别连接有第一旋转轮和第二旋转轮,所述第一旋转轮通过皮带三连接有第三旋转轮,所述第三旋转轮中心位置连接有第一旋转轴,所述第一旋转轴另一端连接有第五旋转轮,中间部位连接有第四旋转轮,所述第四旋转轮通过皮带四连接有第六旋转轮,所述第六旋转轮中心部位连接有第二旋转轴,所述第二旋转轴两端分别连接有第七旋转轮和第八旋转轮。
所述第一执行机构、第二执行机构、第三执行机构、第四执行机构、第五执行机构、第六执行机构和第七执行机构均包括壳体,所述壳体中心部位设有第三旋转轴,所述第三旋转轴的两端均穿过壳体且分别连接有钻头驱动轮和钻夹头,所述钻夹头远离壳体端连接有钻头,所述壳体底端设有底板,所述底板底部两侧设有滑槽。
所述底板底部中间部位设有上安装板,所述上安装板置于两执行机构滑轨之间,且上安装板底部设有凹槽,所述上安装板底部设有下安装板,所述上安装板滑动连接于下安装板的中部,且上安装板比下安装板短,所述第一执行机构和第七执行机构与下安装板相连接,所述第二执行机构、第三执行机构、第四执行机构、第五执行机构和第六执行机构与上安装板相连接,所述第七旋转轮上偏心连接有第一驱动杆,所述第一驱动杆顶端与下安装板相连接,所述第八旋转轮上偏心连接有第二驱动杆,所述第二驱动杆顶端与上安装板相连接。
靠近执行机构滑轨侧支撑腿上滑动连接有杠杆,所述杠杆顶端中间部位连接有立柱,且杠杆两端连接有弹簧,所述立柱和弹簧的顶端均与横梁相连接,所述杠杆上设有第一涨紧轮和第二涨紧轮,所述第一涨紧轮置于第二执行机构和第三执行机构之间,所述第二涨紧轮置于第五执行机构和第六执行机构之间,所述第一执行机构的钻头驱动轮、第二执行机构的钻头驱动轮、第一涨紧轮、第三执行机构的钻头驱动轮、第四执行机构的钻头驱动轮和第二旋转轮上依次连接有皮带一,所述第五执行机构的钻头驱动轮、第二涨紧轮、第六执行机构的钻头驱动轮、第七执行机构的钻头驱动轮和第五旋转轮上依次连接有皮带二。
所述夹紧装置包括伸缩杆,所述伸缩杆置于支撑板上,所述伸缩杆顶端设有气缸支撑板,所述气缸支撑板顶端设有多个夹紧气缸,所述夹紧气缸的活塞杆穿过气缸支撑板,且夹紧气缸下端设有木材放置板,所述木材放置板固定在支柱上,所述支撑板顶端中间部位设有阻尼器和行进气缸,所述行进气缸的活塞杆顶端与横梁相连接,所述木材放置板两端均设有限位块。
优选的,待加工木材到阻尼器顶端的距离与底板到钻头顶端的距离相匹配其主要目的是,使阻尼器先接触到底板,使移动支架带动待加工木材缓慢移动,防止待加工木材快速移向钻头,使钻头损坏。
优选的,所述第一驱动杆在第七旋转轮上的偏心距离小于第二驱动杆在第八旋转轮上的偏心距离,其主要目的是,使第一执行机构和第七执行机构在执行机构滑轨上的滑动距离小,所榫槽的长度小。
优选的,所述行进气缸上端设有限位器一,所述阻尼器下方机架上端设有限位器二,所述支撑板远离钻头侧设有联动开关,所述联动开关上设有启停按钮,所述限位器一和限位器二均与联动开关电连接,所述行进气缸和夹紧气缸均与气压泵站相连接,所述气压泵站分别连接有电磁换向阀一和电磁换向阀二,所述电磁换向阀一和电磁换向阀二分别通过导电线连接有继电器一和继电器二,所述继电器一与限位器一电连接,所述继电器二与限位器二电连接,所述继电器一和继电器二均与继电器三相连接,所述继电器一、继电器二和继电器三均与联动开关电连接,其主要目的是,继电器一和继电器二通过继电器三实现互锁,联动开关启动时,继电器二优先通电,对待加工木材进行夹紧,然后继电器一通电,行进气缸向钻头靠近。
本实用新型还包括能够使该多轴榫槽机正常使用的其它组件,均为本领域的常规技术手段。另外,本实用新型中未加限定的装置或组件均采用本领域中的常规技术手段。
本实用新型使用时,行进气缸的活塞杆处于伸长状态,夹紧气缸活塞杆处于缩短状态,启动双轴电机,双轴电机驱动第一旋转轮和第二旋转轮旋转,通过皮带三和皮带四驱动第三旋转轮、第四旋转轮、第五旋转轮、第六旋转轮、第七旋转轮和第八旋转轮旋转,第七旋转轮带动第一驱动杆旋转,第一驱动杆驱动下安装板移动,从而带动第一执行机构和第七执行机构在执行机构滑轨上滑动,第八旋转轮带动第二驱动杆旋转,第二驱动杆带动上安装板移动,从而带动第二执行机构、第三执行机构、第四执行机构、第五执行机构和第六执行机构在执行机构滑轨上滑动,第二旋转轮通过皮带一驱动第一执行机构的钻头驱动轮、第二执行机构的钻头驱动轮、第三执行机构的钻头驱动轮和第四执行机构的钻头驱动轮旋转,从而驱动相应的钻头旋转,杠杆以立柱为支点摆动,在杠杆和第一涨紧轮的作用下调节皮带一的松紧,第五旋转轮通过皮带二驱动第五执行机构的钻头驱动轮、第六执行机构的钻头驱动轮和第七执行机构的钻头驱动轮旋转,从而驱动相应的钻头旋转,并在杠杆和第二涨紧轮的作用下调节皮带二的松紧,将待加工木材放置在木材放置板上,并通过限位块进行定位,开启联动开关,限位器一和限位器二分别将钻头位置信号和夹紧装置位置信号输送给继电器一和继电器二,由于此时限位器一和限位器二的位置没有达到预设值,继电器一和继电器二通电,继电器一和继电器二通过继电器三互锁,使继电器二优先通电,继电器通过电磁换向阀使夹紧气缸的活塞杆伸长使待加工木材固定,然后继电器一通电,行进气缸的活塞杆缩短,带动待加工木材向钻头靠近,当阻尼器顶端碰到底板时,在阻尼器的作用下,行进气缸带动待加工木材缓慢移动,钻头对待加工木材进行榫槽加工,当所榫槽深度达到预设值时,限位器一将信号输送给继电器一,继电器一断电,电磁换向阀一换向,使行进气缸的活塞杆伸长,夹紧装置移至离钻头最远处,限位器二将信号输送给继电器二,继电器二断电,使电磁换向阀换向,夹紧气缸的活塞杆缩短,在第一驱动杆的驱动下,第一执行机构和第七执行机构在执行机构滑轨上移动量小,所榫槽长度小,在第二驱动杆的驱动下,第二执行机构、第三执行机构、第四执行机构、第五执行机构和第六执行机构在执行机构滑轨上的移动距离大,所榫槽长度大,工作过程中所产生的木屑通过倾斜的废料槽自动落进木屑容器内。
本实用新型的有益效果是,本装置结构简单,操作方便,能同时加工多个榫槽,且可以加工不同长度的榫槽,钻屑可自动收纳,全自动化操作,减少人工劳动强度,只用一台电机提供动力,节约能源。
附图说明





下面结合附图和实施例对本实用新型进一步说明。
图1是本实用新型的整体结构示意图;
图2是图1的B向视图;
图3是本实用新型的驱动装置结构示意;
图4是图1的A-A向视图;
图5是本实用新型的电路控制框图。
具体实施方式
下面结合本实用新型实施例中的附图以及具体实施例对本实用新型进行清楚地描述,在此处的描述仅仅用来解释本实用新型,但并不作为对本实用新型的限定。基于本实用新型中的实施例,本领域技术人员在没有做出创造性劳动前提下所获得的所有其他实施例,所做的任何修改、等同替换、改进等,均应包含在本实用新型的保护范围之内。
实施例
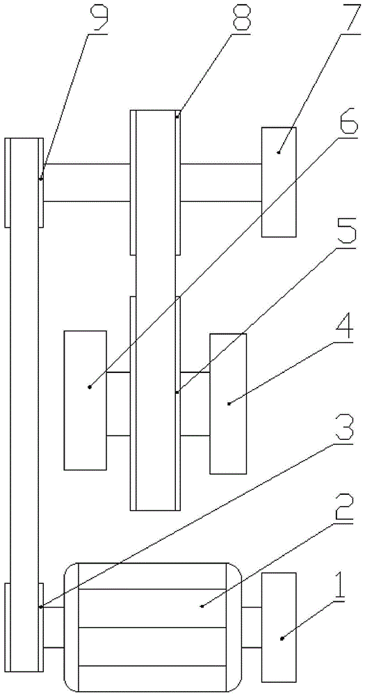
如图1~5所示,多轴榫槽机,包括机架,所述机架包括多个横梁10,所述横梁10顶端一侧设有两个执行机构滑轨24,另一侧设有可移动的支撑板,所述支撑板顶端设有夹紧装置,所述横梁10顶端远离执行机构滑轨24端设有滑道,所述支撑板底端设有与滑道相匹配的滑槽,所述执行机构滑轨24上依次设有第一执行机构11、第二执行机构26、第三执行机构14、第四执行机构16、第五执行机构17、第六执行机构18和第七执行机构19,所述机架底部设有支撑腿,且机架下端设有驱动装置,所述执行机构滑轨24和支撑板间设有废料槽23,所述废料槽23底部从中间部位向两侧下端倾斜。
所述驱动装置包括双轴电机2,所述双轴电机2两侧均设有输出轴,两侧输出轴分别连接有第一旋转轮3和第二旋转轮1,所述第一旋转轮3通过皮带三连接有第三旋转轮9,所述第三旋转轮9中心位置连接有第一旋转轴,所述第一旋转轴另一端连接有第五旋转轮7,中间部位连接有第四旋转轮8,所述第四旋转轮8通过皮带四连接有第六旋转轮5,所述第六旋转轮5中心部位连接有第二旋转轴,所述第二旋转轴两端分别连接有第七旋转轮4和第八旋转轮6,
所述第一执行机构11、第二执行机构26、第三执行机构14、第四执行机构 16、第五执行机构17、第六执行机构18和第七执行机构19均包括壳体,所述壳体中心部位设有第三旋转轴,所述第三旋转轴的两端均穿过壳体且分别连接有钻头驱动轮和钻夹头,所述钻夹头远离壳体端连接有钻头30,所述壳体底端设有底板34,所述底板34底部两侧设有滑槽。
所述底板34底部中间部位设有上安装板12,所述上安装板12置于两执行机构滑轨24之间,且上安装板12底部设有凹槽,所述上安装板12底部设有下安装板25,所述上安装板12滑动连接于下安装板25的中部,且上安装板12比下安装板25短,所述第一执行机构11和第七执行机构19与下安装板25相连接,所述第二执行机构26、第三执行机构14、第四执行机构16、第五执行机构17 和第六执行机构18与上安装板12相连接,所述第七旋转轮4上偏心连接有第一驱动杆15,所述第一驱动杆15顶端与下安装板25相连接,所述第八旋转轮6 上偏心连接有第二驱动杆21,所述第二驱动杆21顶端与上安装板12相连接。
靠近执行机构滑轨24侧支撑腿上滑动连接有杠杆35,所述杠杆35顶端中间部位连接有立柱22,且杠杆35两端连接有弹簧,所述立柱22和弹簧的顶端均与横梁10相连接,所述杠杆35上设有第一涨紧轮13和第二涨紧轮20,所述第一涨紧轮13置于第二执行机构26和第三执行机构14之间,所述第二涨紧轮 20置于第五执行机构17和第六执行机构18之间,所述第一执行机构11的钻头驱动轮、第二执行机构26的钻头驱动轮、第一涨紧轮13、第三执行机构14的钻头驱动轮、第四执行机构16的钻头驱动轮和第二旋转轮1上依次连接有皮带一,所述第五执行机构17的钻头驱动轮、第二涨紧轮20、第六执行机构18的钻头驱动轮、第七执行机构19的钻头驱动轮和第五旋转轮7上依次连接有皮带二。
所述夹紧装置包括伸缩杆36,所述伸缩杆36置于支撑板上,所述伸缩杆36 顶端设有气缸支撑板,所述气缸支撑板顶端设有多个夹紧气缸27,所述夹紧气缸27的活塞杆穿过气缸支撑板,且夹紧气缸27下端设有木材放置板33,所述木材放置板33固定在支柱上,所述支撑板顶端中间部位设有阻尼器29和行进气缸28,所述行进气缸28的活塞杆顶端与横梁10相连接,所述木材放置板33两端均设有限位块40。
待加工木材32到阻尼器29顶端的距离与底板34到钻头30顶端的距离相匹配,使阻尼器29先接触到底板34,使移动支架带动待加工木材32缓慢移动,防止待加工木材32快速移向钻头30,使钻头30损坏。
所述第一驱动杆15在第七旋转轮4上的偏心距离小于第二驱动杆21在第八旋转轮6上的偏心距离,使第一执行机构11和第七执行机构19在执行机构滑轨 24上的滑动距离小,所榫槽的长度小。
所述行进气缸28上端设有限位器一37,所述阻尼器29下方机架上端设有限位器二38,所述支撑板远离钻头30侧设有联动开关39,所述联动开关39上设有启停按钮,所述限位器一37和限位器二38均与联动开关39电连接,所述行进气缸28和夹紧气缸27均与气压泵站相连接,所述气压泵站分别连接有电磁换向阀一和电磁换向阀二,所述电磁换向阀一和电磁换向阀二分别通过导电线连接有继电器一和继电器二,所述继电器一与限位器一37电连接,所述继电器二与限位器二38电连接,所述继电器一和继电器二均与继电器三相连接,所述继电器一、继电器二和继电器三均与联动开关39电连接,继电器一和继电器二通过继电器三实现互锁,联动开关39启动时,继电器二优先通电,对待加工木材 32进行夹紧,然后继电器一通电,行进气缸向钻头靠近。
本实用新型使用时,行进气缸28的活塞杆处于伸长状态,夹紧气缸27活塞杆处于缩短状态,启动双轴电机2,双轴电机2驱动第一旋转轮3和第二旋转轮 1旋转,通过皮带三和皮带四驱动第三旋转轮9、第四旋转轮8、第五旋转轮7、第六旋转轮5、第七旋转轮4和第八旋转轮6旋转,第七旋转轮4带动第一驱动杆15旋转,第一驱动杆15驱动下安装板25移动,从而带动第一执行机构11 和第七执行机构19在执行机构滑轨24上滑动,第八旋转轮6带动第二驱动杆 21旋转,第二驱动杆21带动上安装12板移动,从而带动第二执行机构26、第三执行机构14、第四执行机构16、第五执行机构17和第六执行机构18在执行机构滑轨24上滑动,第二旋转轮1通过皮带一驱动第一执行机构11的钻头驱动轮、第二执行机构26的钻头驱动轮、第三执行机构14的钻头驱动轮和第四执行机构16的钻头驱动轮旋转,从而驱动相应的钻头30旋转,杠杆35以立柱20 为支点摆动,在杠杆35和第一涨紧轮13的作用下调节皮带一的松紧,第五旋转轮7通过皮带二驱动第五执行机构17的钻头驱动轮、第六执行机构18的钻头驱动轮和第七执行机构19的钻头驱动轮旋转,从而驱动相应的钻头30旋转,并在杠杆35和第二涨紧轮20的作用下调节皮带二的松紧,将待加工木材32放置在木材放置板33上,并通过限位块40进行定位,开启联动开关39,限位器一37 和限位器二38分别将钻头位置信号和夹紧装置位置信号输送给继电器一和继电器二,由于此时限位器一37和限位器二38的位置没有达到预设值,继电器一和继电器二通电,继电器一37和继电器二38通过继电器三互锁,使继电器二优先通电,继电器二通过电磁换向阀二使夹紧气缸27的活塞杆伸长使待加工木材32 固定,然后继电器一通电,行进气缸28的活塞杆缩短,带动待加工木材32向钻头30靠近,当阻尼器29顶端碰到底板34时,在阻尼器29的作用下,行进气缸 28带动待加工木材32缓慢移动,钻头30对待加工木材32进行榫槽加工,当所榫槽深度达到预设值时,限位器一37将信号输送给继电器一,继电器一断电,电磁换向阀一换向,使行进气缸28的活塞杆伸长,夹紧装置移至离钻头30最远处,限位器二38将信号输送给继电器二,继电器二断电,使电磁换向阀二换向,夹紧气缸27的活塞杆缩短,在第一驱动杆15的驱动下,第一执行机构11和第七执行机构19在执行机构滑轨24上移动量小,所榫槽长度小,在第二驱动杆 21的驱动下,第二执行机构26、第三执行机构14、第四执行机构16、第五执行机构17和第六执行机构18在执行机构滑轨24上的移动距离大,所榫槽长度大,工作过程中所产生的木屑通过倾斜的废料槽23自动落进木屑容器内。
以上已经描述了本实用新型的实施例,上述说明是示例性的,并非穷尽性的,并且也不限于所披露的实施例。在不偏离所说明实施例的范围和精神的情况下,对于本技术领域的普通技术人员来说许多修改和变更都是显而易见的。