MULTI-FUNCTIONAL
转让价格:6000万
名称:MULTI-FUNCTIONAL PHYSIOTHERAPEUTIC SHOE ANDTROUSER ASSEMBLY(多功能理疗鞋裤) 专利号:US12,447,044 B2 专利权人:王振国 一.技术领域 本发明为家用保健理疗器具类。 二.背景技术 足

名称:MULTI-FUNCTIONAL PHYSIOTHERAPEUTIC SHOE ANDTROUSER ASSEMBLY(多功能理疗鞋裤) 专利号:US12,447,044 B2 专利权人:王振国 一.技术领域 本发明为家用保健理疗器具类。 二.背景技术 足

名称:眩晕自助诊断系统 专利号:2025SR2245125 专利权人:苏增锋 眩晕自助诊断系统介绍 本系统是一款基于病史智能分析的眩晕症状自助诊断工具,已正式获得国家计算机软件著作权。系统旨在通过规范化的病史信息收集,为用户提供初步的疾病诊断方向参考

名称:一种用于砖头的美观化表面涂覆工艺 专利号:202511670246.4 专利权人:刘金元 名称:一种表面包覆金属层的装饰性砖及其制备工艺 专利号:202511670118.X 技术领域 本发明涉及建筑材料表面处理技术领域,具体涉及一

名称:一种颈部淋巴结清扫手术中乳糜漏情况检测装置 专利号:202511345527.2 专利权人:唐涛 技术领域 本发明涉及医疗用品技术领域,尤其涉及一种颈部淋巴结清扫手术中乳糜漏情况检测装置。 背景技术 颈部淋巴结清扫手术,也称为颈淋巴清扫术,是指

名称:一种多功能模块化组合式折叠拉杆收纳箱 专利号:202520409125.3 专利权人:章甫勤 技术领域 本实用新型涉及收纳箱,特别是涉及一种多功能模块化组合式折叠拉杆收纳箱。 背景技术 在菜市场买菜时,若要买的菜数量较多,重量较重,人们不仅携带

专利权人:卢德福

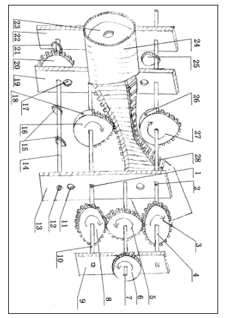
名称:直轴式内燃机 专利号:201320075017.4 专利权人:何瑞森 技术领域 本实用新型属于一种往复活塞式发动机。 背景技术 目前的内燃机存在着三大主要缺点: 1、当供油爆发时压强最大,曲轴柄向上垂直没有力臂、扭转力矩从零开始;

名称:电力塔的攀爬防护装置 专利号:202311419837.5 专利权人:阚海力 技术领域 本申请涉及电力设备的领域,具体涉及一种电力塔的攀爬防护装置。 背景技术 电力塔是现代电力系统中不可或缺的基础设施,主要用于架设输电和配电线路,确保电力的稳定

名称:一种具有除菌恒温加热烘干功能的智能浴室柜 专利号:202120467447.5 专利权人:陈楠 技术领域 本申请涉及一种智能浴室柜,具体是一种具有除菌恒温加热烘干功能的智能浴室柜。 背景技术 浴室柜是浴室间放物品的柜子,其面材可分为天然石材、玉

名称:一种用于腹泻调理的辅食及其制备方法 专利号:202410316208.8 专利权人:邢祝飞 技术领域 本发明属于辅食技术领域,尤其涉及一种用于腹泻调理的辅食及其制备方法。 背景技术 腹泻是一种常见症状,俗称“拉肚子”,是指排便次数明显超过平日习

名称:一种可有效散热的充气泵 专利号:202322065001.1 专利权人:王绅宇 技术领域 本实用新型涉及充气设备技术领域,具体是涉及一种可有效散热的充气泵。 背景技术 充气机又叫打气机、打气泵、充气泵。通过马达的运转来工作。充气机是马达运转,抽

名称:自动识别测量植物样方设备 专利号:202510139784.4 专利权人:次平 技术领域 本发明涉及植物样方测量器具技术领域,具体为自动识别测量植物样方设备。 背景技术 林草综合监测-草原监测在其《技术规程》规定样方内选取3个1m×1m测产小样