家用腰椎颈椎肩周康复装置
专利号:2020202897949
专利权人:邢万强
项目简介: 本实用新型涉及一种家用腰椎颈椎肩周康复装置,包括:竖向且平行设置的第一立杆和第二立杆;至少一个的握杆,所述握杆两端分别连接至所述第一立杆下部和第二立杆下部;分别设于所述第一立杆下部和第二立杆下部且向前侧延展的横向支架;以及设于两个所述横向支架前端的按摩辊装置,所述按摩辊装置包括两端固定于两个所述横向支架前端的辊轴以及套设于所述辊轴上的按摩辊。该装置结构简单、制作方便、占有空间面积小,可同时实现对腰椎间盘突出、颈椎病变和肩周酸痛的患者进行理疗康复。
技术领域
本实用新型涉及一种家用腰椎颈椎肩周康复装置。
背景技术
随着越来越多的人在办公室工作,尤其是长时间的坐姿工作,使得工作人员的颈椎及腰椎均出现不同程度的损伤,为了缓解颈椎及腰椎\肩周的疲劳,工作人员往往需要对其进行按摩,已经有了上述部位病变的人群需要治愈康复,但是现有技术中的颈椎及腰椎按摩装置均是采用坐姿或者卧姿按摩,不能有效的缓解疲劳。特别是人们在患有颈椎病或胸腰椎间盘突出症需进行牵引治疗时,一般都需要到医院通过医用颈椎、胸腰椎牵引仪进行牵引治疗,然而颈椎腰椎病多为慢性疾病,需要长期治疗,长期来往医院存在极大的不便;为方便人们日常治疗,现有家用腰颈椎治疗仪器,但一直以来这两种仪器都是各自分开的,人们需要时得分别购买,存在需各自购买、使用不方便、费用上升的不足;而现有家用仪器多采用卧姿的床具还存在占有面积空间大的问题。
实用新型内容
本实用新型的目的在于提出一种家用腰椎颈椎肩周康复装置,该装置结构简单、制作方便、占有空间面积小,可同时实现对腰椎间盘突出、颈椎病变\肩周活动受限的患者,通过锻炼相关人体部位,利用人体自愈功能进行理疗康复。
为实现上述目的,本实用新型所采用的技术方案如下所述:
一种家用腰椎颈椎肩周康复装置,包括
竖向且平行设置的第一立杆和第二立杆;
至少一个的握杆,所述握杆两端分别连接至所述第一立杆下部和第二立杆下部;
分别设于所述第一立杆下部和第二立杆下部且向前侧延展的横向支架;以及
设于两个所述横向支架前端的按摩辊装置,所述按摩辊装置包括两端固定于两个所述横向支架前端的辊轴以及套设于所述辊轴上的按摩辊。
进一步的,所述横向支架由前端相互连接的上倾斜杆和下倾斜杆构成,所述上倾斜杆后端和下倾斜杆后端均通过卡箍件套接于所述第一立杆和第二立杆的杆上。
进一步的,所述上倾斜杆和下倾斜杆的前端相互铰接,所述上倾斜杆后端和下倾斜杆后端均与所述卡箍件相互铰接。
更进一步的,所述卡箍件包括前侧的容置装置以及后侧的卡箍;
所述容置装置为由所述卡箍前端的两侧向前延伸的固定块构成的容置槽,两个所述固定块内侧通过转轴连接,所述上倾斜杆的杆体设有通孔套设于所述转轴且可自由转动;
所述卡箍与对应的所述第一立杆或第二立杆杆体之间采用间隙配合,所述卡箍上设有螺钉孔,所述螺钉孔插设有锁紧螺钉;
所述锁紧螺钉的非旋入端设有便于手持的旋入把手。
进一步的,所述上倾斜杆和下倾斜杆均为伸缩杆体,所述上倾斜杆和下倾斜杆均由外套管和内套管组成,所述外套管的管体上设有若干个外插销孔,所述内套管的管体与所述外套管相接的一端设有内插销孔,所述内插销孔上设有插销,所述插销一端经过内插销孔插入内套管,且内侧端设有弹簧;所述插销另一端在组装状态下伸出所述内插销孔和外插销孔,且为圆头构造。
进一步的,所述第一立杆下部和第二立杆下部设有若干组第一穿插孔,每一组所述第一穿插孔均在同一水平线上且用于插入所述握杆两端;
所述第一立杆和第二立杆的底端设有连杆,所述第一立杆和第二立杆的中部和上部设有若干组第二穿插孔,每一组所述第二穿插孔均在同一水平线上,至少一组所述第二穿插孔穿设有加强杆。
再进一步的,所述第一穿插孔还穿插有辅按摩辊轴,所述辅按摩辊轴上设有按用于按摩小腿的辅辊。
进一步的,所述按摩辊上套设有橡胶套;或者所述按摩辊上依次套设有橡胶套、辊筒套,所述辊筒套采用保温型泡沫材料、棉质材料、纤维材料或者涤纶材料制成。
进一步的,所述第一立杆和第二立杆的顶端均包裹有铁片套头,所述铁片套头的顶部设有橡胶保护垫。
又进一步的,所述第一立杆和第二立杆的底端固接有螺母;
所述第一立杆和第二立杆的底部设有支座,所述支座上部焊接有粗螺旋钉,所述粗螺旋钉与所述螺母相匹配;所述支座的底部设有缓冲垫。
本实用新型家用腰椎颈椎肩周康复装置结构简单,制作方便,其通过简单地按摩辊和握杆来实现牵引操作的仰卧屈髋屈膝体位:使用时操作者后仰腰背部压至按摩辊上,双手向后伸至头部后端的握杆并握住,使身体形成后仰弧形,双脚屈膝离地,转动按摩辊产生向下牵引力对其胸腰椎进行牵引。该装置相较于现有卧床牵引仪,在拉伸时还需要把头部向相反的方向牵引,和身体形成对抗,将颈椎的椎间隙拉开,实现颈椎牵引;即该装置可同时实现对腰椎间盘突出、颈椎病变的患者进行理疗康复。该装置的简单结构使其占有空间面积小,通过上下倾斜杆的伸缩调节来实现对不同人体高度的适应性调整,还可通过收缩上下倾斜杆来实现缩小空间进行收纳。
附图说明
图1为实施例1家用腰椎颈椎肩周康复装置的结构示意图;
图2为实施例3家用腰椎颈椎肩周康复装置的结构示意图
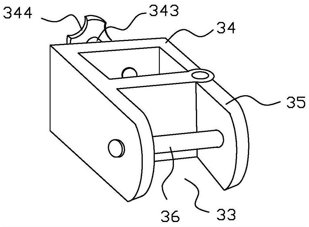
图3为实施例3卡箍件的结构示意图;
图4为实施例4上倾斜杆和下倾斜杆连接的结构示意图;
图5为实施例4插销安装结构的示意图;
图6为家用腰椎颈椎肩周康复装置的收纳状态的结构示意图;
图7为实施例5家用腰椎颈椎肩周康复装置的结构示意图;
图8为家用腰椎颈椎肩周康复装置使用示意图。
具体实施方式
下面结合实施例,对本实用新型一种家用腰椎颈椎肩周康复装置的具体实施方式作进一步描述。以下实施例仅用于更加清楚地说明本实用新型的技术方案,而不能以此来限制本实用新型的保护范围;有关技术领域的普通技术人员,在不脱离本实用新型的精神和范围的情况下,还可以做出各种变化和变型,因此所有等同的技术方案也属于本实用新型的范畴,本实用新型的专利保护范围应由各权利要求限定。
实施例1
图1示出了本实用新型家用腰椎颈椎肩周康复装置的实施例1的结构示意图。








所述家用腰椎颈椎肩周康复装置包括
竖向且平行设置的第一立杆10和第二立杆11;
至少一个的握杆2,所述握杆2两端分别连接至所述第一立杆10下部和第二立杆11下部;
分别设于所述第一立杆10下部和第二立杆11下部且向前侧延展的横向支架3;以及
设于两个所述横向支架3前端的按摩辊装置4,所述按摩辊装置4包括两端固定于两个所述横向支架3前端的辊轴40以及套设于所述辊轴40上的按摩辊41。
实施例2
在实施例1的基础上,所述家用腰椎颈椎肩周康复装置还进行了下述改进。
所述横向支架3由前端相互连接的上倾斜杆30和下倾斜杆31构成,所述上倾斜杆30后端和下倾斜杆31后端均通过卡箍件32套接于所述第一立杆 10和第二立杆11的杆上。
实施例3
在实施例2的基础上,所述卡箍件还进行了下述改进。
如图2所示,所述上倾斜杆30和下倾斜杆31的前端相互铰接,所述上倾斜杆30后端和下倾斜杆31后端均与所述卡箍件32相互铰接。需要说明的是,在本实施例上倾斜杆和下倾斜杆之间为相互铰接的链接结构,那么,两杆前端通过铰接方式可实现两杆角度调整。实施结构以现有技术的铰接结构实现即可。
所述卡箍件32包括前侧的容置装置以及后侧的卡箍34;图3所示,所述容置装置为由所述卡箍34前端的两侧向前延伸的固定块35构成的容置槽33,两个所述固定块35内侧通过转轴36连接,所述上倾斜杆30的杆体设有通孔套设于所述转轴36且可自由转动;所述卡箍34与对应的所述第一立杆 10或第二立杆11杆体之间采用间隙配合,所述卡箍34上设有螺钉孔,所述螺钉孔插设有锁紧螺钉343。该处所述的“间隙配合”是指立杆杆体和卡箍之间为具有间隙的配合,存在间隙使两者之间存在活动空间,所述间隙优选为0.5-2.5mm。
所述锁紧螺钉343的非旋入端设有便于手持的旋入把手344,以方便使用者进行锁紧螺钉的松紧操作。
所述卡箍34通过锁紧螺钉的松紧可进行上倾斜杆高度的调整,另一方面还可将锁紧螺钉松开后上倾斜杆上拉,卡箍固定在立杆上部后锁紧,通过该种方式实现上下倾斜杆所在立杆的具体位置和高度,以适应不同身高的人体。
实施例4
在实施例3的基础上,所述家用腰椎颈椎肩周康复装置还进行了下述改进。
如图4-5所示,所述上倾斜杆30和下倾斜杆31均为伸缩杆体,所述上倾斜杆30和下倾斜杆31均由外套管301和内套管302组成,所述外套管301 的管体上设有若干个外插销孔303,所述内套管302的管体与所述外套管301 相接的一端设有内插销孔304,所述内插销孔304上设有插销305,所述插销 305一端经过内插销孔304插入内套管302,且内侧端设有弹簧306;所述插销305另一端在组装状态下伸出所述内插销孔304和外插销孔303,且为圆头构造。
在该方案中的两杆前端通过铰接方式实现两杆角度调整,其中一个示例如图4所示,上倾斜杆的内套管与下倾斜杆的外套管通过同一辊轴40进行铰接,上倾斜杆内套管的铰接端为两侧边铣平面的弧形端;下倾斜杆的外套管的铰接端两侧延伸设为与铣平面的弧形端相匹配的连接块,两连接块中部夹持所述上倾斜杆内套管的弧形端,且该弧形端可在连接块中部转动;所述辊轴40穿过所述弧形端和连接块,为两者的转动轴。
该该示例中内的上下倾斜杆的伸缩调整方式为:通过按压弹性插销来选择插销插入外套管的某一外插销孔;其中多个所述外插销孔的间距可根据实际使用情况进行设置,在一个优选示例中,多个所述外插销孔的间距为6cm。
实施例3中的活动卡箍上移固定和斜倾杆伸缩节缩短固定的配合调整操作,可将“三角架”的横向支架拉直成为180度角进行收纳,贴合于立杆,垂直投影面积只有0.3平米,节省空间;所述收纳图如图6所示。此外,基于该装置结构特点,还可作为室内隔断或者衣架使用,在闲置时还可通过装饰美化后作为屏风隔断,一物多用,实用性高。
实施例5
在实施例1-4中任意实施例的基础上,所述装置还可进行下述改进。
如图7所示,所述第一立杆10下部和第二立杆11下部设有若干组第一穿插孔101,每一组所述第一穿插孔101均在同一水平线上且用于插入所述握杆2两端。使用者可根据实际使用情况来选择第一穿插孔来插入握杆,以保证手部的最佳握持状态。
所述第一穿插孔还可作为一些辅助健身器材的安装孔,一个示例中,所述第一穿插孔101还穿插有辅按摩辊轴,所述辅按摩辊轴上设有按用于按摩小腿的辅辊(图中未示出)。
所述第一立杆10和第二立杆11的底端设有连杆12,所述第一立杆10 和第二立杆11的中部和上部设有若干组第二穿插孔102,每一组所述第二穿插孔102均在同一水平线上,至少一组所述第二穿插孔102穿设有加强杆13。通过实际的安装情况来选择第二穿插孔安装加强杆,以保证立杆的稳固性;另一方面,可将加强杆当做单杆来进行单杆健身操作。
所述按摩辊41上套设有橡胶套42;或者所述按摩辊41上依次套设有橡胶套42、辊筒套43,所述辊筒套43采用保温型泡沫材料、棉质材料、纤维材料或者涤纶材料制成。本实用新型所述按摩辊的橡胶套表面可为光滑或者带有按摩凸柱、按摩滚珠等结构的技术方案,辊筒套则采用保温型材料来保证使用者在寒冷天时腰椎的保温。
所述第一立杆10和第二立杆11的顶端均包裹有铁片套头17,所述铁片套头17的顶部设有橡胶保护垫18;通过铁片套头和橡胶保护垫进一步加固立杆顶端顶压的牢固性和避免对墙体的损伤。
所述第一立杆10和第二立杆11的底端固接有螺母15;所述第一立杆10 和第二立杆11的底部设有支座16,所述支座16上部焊接有粗螺旋钉19,所述粗螺旋钉19与所述螺母15相匹配;所述支座16的底部设有缓冲垫160。立杆底部通过支座粗螺旋钉的设置,使得立杆可进行高度的微调整,便以安装操作,增强安装稳固性;缓冲垫则保护地板的磨损。在一个具体示例中,所述支座采用5cm厚、直径10cm的铁板,用于加大支撑部位的力作用面积,防止倾倒。
本实用新型家用腰椎颈椎肩周康复装置在使用时,操作者后仰将腰背部放置按摩辊上,双手向后伸至头部后端的握杆并握住,使身体形成后仰弧形,如图8a所示,双脚屈膝离地,然后转动按摩辊产生向下牵引力对其胸腰椎进行牵引。在操作时,使用者还可根据拉伸效果和不同动作对不同高度的握杆进行更换握持。使用时腰椎配合腿部可进行拉伸、滚动、翻滚等动作的操练;举例说明:背部沿所述按摩辊滚动,如图8b所示;双腿交叉屈膝上抬,如图 8c所示;抬腿腰部翻转,如图8d所示。该牵引操作符合牵引疗法的仰卧屈髋屈膝体位和颈椎牵引体位,利用牵拉力与反牵拉力作用于腰椎、颈椎,通过向相反方向的牵拉来达到治疗颈椎病和腰椎间盘突出的目的,可实现对腰椎间盘突出、颈椎病变的改善。
本实用新型康复装置还可针对肩部进行操作,使用时将辊轴高度调整到肩部,手把住握杆,利用体重作反向拉伸,如图8e所示的站立式肩周拉伸图,拉伸难度为辊轴距离立杆的距离越远则难度越大;通过向相反方向的牵拉达到肩部酸痛的目的。
以上实施例仅表达了本实用新型的几种实施方式,其描述较为具体和详细,但并不能因此而理解为对本实用新型专利范围的限制。应当指出的是,对于本领域的普通技术人员来说,在不脱离本实用新型构思的前提下,还可以做出若干变形和改进,这些都属于本实用新型的保护范围。因此,本实用新型专利的保护范围应以所附权利要求为准。
知识产权出版社有限责任公司 京ICP备09007110号