名称:一种列车连接器
专利号:202511936423.9
专利权人:刘风兴
技术领域
本发明涉及轨道交通设备技术领域,具体是指一种列车连接器。
背景技术
列车连接器是实现轨道车辆编组的核心部件,现有技术(例如公开号为CN204137011U的中国专利公开的一种列车车间连接器)的对接结构多采用简单插拔配合,连接稳定性不足,且锁止结构依赖螺栓或卡扣,拆装流程繁琐,难以适配快速编组的需求。此外,部分连接器的对接结构缺乏精准的配合设计,易出现对接错位、连接松动等问题,影响列车运行的安全性。
基于此情况,现提供一种列车连接器,包括基座组件、缓冲连接筒、嵌入式对接头及锁止机构:基座组件为带安装孔的平板结构,用于固定于列车车端;缓冲连接筒为圆柱形金属筒,一端与基座组件同轴焊接,另一端设凹槽并焊接锥形凸台状的嵌入式对接头;两个连接器的锥形凸台与凹槽可过盈配合;锁止机构采用锁柄+锤头结构,嵌入对接端适配槽实现卡合锁止;本发明通过锥形凸台与凹槽的过盈配合及锤头锁止,提升了连接稳定性,拆装便捷,适用于轨道车辆车端连接。。
发明内容
为解决上述技术问题,本发明提供的技术方案为:
根据本发明实施例的列车连接器,包括基座组件、缓冲连接筒、嵌入式对接头及锁止机构;所述基座组件,为带安装孔的平板结构,用于固定于列车车端;所述缓冲连接筒一端与所述基座组件固定连接,所述嵌入式对接头设置于所述缓冲连接筒远离所述基座组件的一端,具有凸凹配合的对接结构;所述嵌入式对接头与所述缓冲连接筒焊接连接,所述缓冲连接筒与所述嵌入式对接头连接的一端还设有凹槽;所述锁止机构,包括锁柄及固定于锁柄一端的锤头,用于嵌入对接端的适配槽以实现卡合锁止。
所述嵌入式对接头为锥形凸台,两个所述缓冲连接筒上的嵌入式对接头和凹槽可相互配合连接,一个所述缓冲连接筒上的锥形凸台与另一个所述所述缓冲连接筒的凹槽过盈配合。
所述基座组件的上开设6个呈矩形分布的安装孔,所述安装孔的直径为10-14mm。
所述缓冲连接筒为圆柱形金属筒,外径为120-160mm,壁厚为8-12mm,与所述基座组件同轴焊接固定。
所述锁止机构的锁柄为圆柱形金属构件,长度为80-120mm,直径为20-30mm。
进一步地,所述锤头呈圆柱状,直径比所述锁柄直径大2-5mm。
进一步地,所述对接端的适配槽深度为10-15mm,槽体直径与所述锤头直径适配。
本发明与现有技术相比的优点在于:
1、连接稳定性强:嵌入式对接头采用锥形凸台与凹槽的过盈配合,配合锁止机构的锤头与适配槽卡合,双重固定结构有效避免了振动导致的连接松动;
2、拆装效率高:锁止机构的锁柄锤头可直接嵌入/拔出适配槽,无需工具即可完成拆装,单组连接器的操作时间大大缩短;
3、对接精准度高:锥形凸台与凹槽的配合结构具有导向作用,可快速实现对接定位,避免错位问题;
4、结构强度可靠:缓冲连接筒采用厚壁金属筒,与基座组件、嵌入式对接头的焊接连接方式,保证了连接器的承载能力,适配轨道车辆的运行力学需求;
5、节省材料:本连接器体积小、造价低,相对节省空间和原材料;
6、使用寿命长:本连接器连接精度高,列车运行较规律,不会产生大的波动和摆动,大大降低车轮与钢轨的磨损,尤其是在转弯时不会磨损外侧轨道,设备的使用期限提高。
附图说明
图1是本发明列车连接器的爆炸结构示意图;
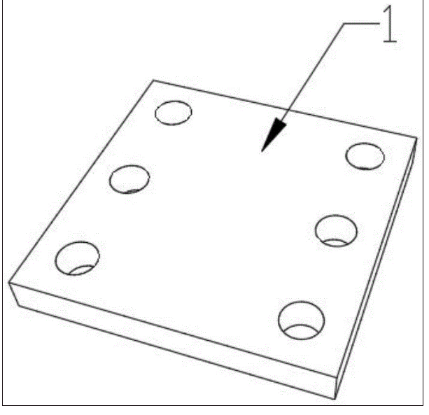
图2是本发明列车连接器的基座组件的结构示意图;
图3是本发明列车连接器的缓冲连接筒与嵌入式对接头的细节放大图;
图4是本发明列车连接器的锁止机构的结构示意图;
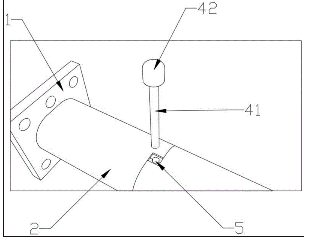
图5是本发明列车连接器的锁止机构与适配槽的配合处的局部放大爆炸视图;
图6是本发明列车连接器的整体结构示意图。
附图标记:
列车连接器100;
基座组件1;安装孔11;
缓冲连接筒2;凹槽21;
嵌入式对接头3;锥形凸台31;
锁止机构4;锁柄41;锤头42;
适配槽5。
具体实施方式
为使本发明实施例的目的、技术方案和优点更加清楚,下面将结合本发明实施例中的附图,对本发明实施例中的技术方案进行清楚、完整地描述,显然,所描述的实施例是本发明一部分实施例,而不是全部的实施例。通常在此处附图中描述和示出的本发明实施例的组件可以以各种不同的配置来布置和设计。
实施例:根据本发明实施例的列车连接器100,如图1所示,具体而言,包括基座组件1、缓冲连接筒2、嵌入式对接头3及锁止机构4。
如图2所示,所述基座组件1为采用Q235碳钢材质制成的矩形平板,长度为200mm、宽度为160mm、厚度为12mm,确保结构强度以承载列车运行时的力学载荷;所述基座组件1上开设6个呈矩形分布的安装孔11,所述安装孔11的直径为12mm,矩形分布的行距为120mm、列距为80mm,所述安装孔11的边缘距所述基座组件1边缘的距离为20mm,避免边缘应力集中导致开裂;装配时,通过M10高强度螺栓穿过所述安装孔11,将所述基座组件1与列车车端的连接法兰紧固,确保安装牢固无松动。
如图3所示,所述缓冲连接筒2选用Q355碳钢材质加工为圆柱形金属筒,外径为140mm、壁厚为10mm、长度为250mm,该尺寸设计可平衡结构强度与轻量化需求;所述缓冲连接筒2的一端与所述基座组件1采用氩弧焊同轴焊接固定,所述缓冲连接筒2远离所述基座组件1的一端端面开设凹槽21,所述凹槽21的内径为80mm、深度为20mm,所述凹槽21的内壁粗糙度为Ra1.6μm,为与所述嵌入式对接头3的配合提供精准基准。
所述嵌入式对接头3采用40Cr合金钢材质加工为锥形凸台31结构,所述锥形凸台31的大端直径为80mm、小端直径为70mm、高度为20mm,锥度为1:2,该锥度设计可实现对接时的导向定心功能;所述锥形凸台31的大端与所述缓冲连接筒2设有凹槽21一端的端面通过氩弧焊焊接固定,焊缝与所述凹槽21的边缘齐平;两个列车连接器对接时,其中一个连接器的锥形凸台31与另一个连接器的凹槽21形成过盈配合既保证连接紧密性,又便于对接操作。
如图4所示,所述锁止机构4包括锁柄41及锤头42,用于嵌入对接端的适配槽5以实现卡合锁止;所述锁柄41选用金属材质加工为圆柱形,长度为100mm、直径为25mm,硬度高、韧性好,可避免使用时断裂或变形;所述锤头42采用304不锈钢材质加工为圆柱形,直径为28mm(比所述锁柄41直径大3mm)、高度为15mm,所述锤头42与所述锁柄41的连接端开设深度为20mm的盲孔,所述锁柄41端部通过环氧树脂胶嵌入所述盲孔内固定,粘接面涂抹防滑纹理,增强连接强度;如图5所示,对接端的适配槽5开设于两连接器相接处中央,所述适配槽5径向贯穿两连接器相接处,槽内壁粗糙度为Ra3.2μm,确保所述锁柄41可顺畅嵌入与拔出。
所述列车连接器100的工作过程如下:
(1)装配阶段:先将嵌入式对接头3的锥形凸台31焊接于缓冲连接筒2设有凹槽21的一端端面,再将缓冲连接筒2与基座组件1同轴焊接,最后将锁止机构4的锁柄41与锤头42通过环氧树脂胶粘接固定,完成单个列车连接器的装配;
(2)对接阶段:如图6所示,推动两列待连接的轨道车辆靠近,使其中一列车辆的列车连接器的锥形凸台31对准另一列车辆的列车连接器的凹槽21,通过锥形凸台的导向作用,缓慢推进直至锥形凸台31完全嵌入凹槽21内,实现初步定位;随后手持锁止机构的锤头42,将锁柄41对准对接端的适配槽5,轻轻敲击锤头42顶端,使锁柄41完全嵌入适配槽5内,完成锁止固定,此时锥形凸台31与凹槽21的过盈配合及锁柄41与适配槽5的卡合形成双重固定;
(3)分离阶段:手持锤头42向外拉动,锁柄41从适配槽5内脱出,随后反向拉动两列车辆,锥形凸台31从凹槽21内分离,完成连接器的拆卸。
以上对本发明及其实施方式进行了描述,这种描述没有限制性,附图中所示的也只是本发明的实施方式之一,实际的结构并不局限于此。总而言之如果本领域的普通技术人员受其启示,在不脱离本发明创造宗旨的情况下,不经创造性的设计出与该技术方案相似的结构方式及实施例,均应属于本发明的保护范围。




