名称:一种手提迷你冰灯
专利号:202322440436.X
专利权人:何俊岩
技术领域
本实用新型涉及冰灯技术领域,具体是指一种手提迷你冰灯。
背景技术
在冬天的时候,哈尔滨就会建造冰雪大世界,这个景观非常漂亮,冰雪大世界这么漂亮的原因一方面是因为建筑造型比较好看,另外一方面是因为在建筑里面设置了很多冰灯,这样晚上打开冰灯,由于冰块建筑有一定的透明度,因此就会显得建筑很漂亮;因此很多小孩子就很喜欢,也想拿着冰灯玩耍,但是一般建筑里面设置的冰灯是大型的,这种不便于小孩子玩耍,因此针对这种情况设计一种手提迷你冰灯。
实用新型内容
本实用新型要解决的技术问题是克服上述技术的缺陷,提供一种手提迷你冰灯。
为解决上述技术问题,本实用新型提供的技术方案为一种手提迷你冰灯:包括手柄、灯杆、端盖、LED灯、电线、开关和电池盒,所述灯杆尾部和手柄一端螺纹连接,所述手柄内设有可拆卸式电池盒,所述手柄上靠近灯杆的一端设有开关,所述开关和电池盒通过线路连接,所述灯杆的另一端设有端盖,所述端盖下端设有通孔,所述电池盒的一端设有电线,所述电线的另一端穿过灯杆后从通孔延伸出,所述电线延伸出通孔的一端和LED灯连接,所述端盖上和LED灯上均设有挂环,所述端盖上的挂环上设有吊绳,所述吊绳的另一端和LED灯上的挂环连接,所述LED灯外部设有冰雕体。
作为改进,所述电池盒内设有干电池。
作为改进,所述灯杆和端盖插接。
本实用新型与现有技术相比的优点在于:本产品比较小巧,便于小孩子拿着玩耍,就像提着灯笼一样,比较方便,其次端盖通过吊绳和LED灯上的挂环连接,这样就可以防止LED灯和冰雕体下坠导致电线接头处接触不良,也可以防止小孩子子拿着冰灯甩动或者晃动,导致电线接头处接触不良,甚至发生电线断掉。
附图说明
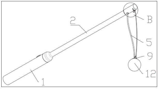
图1是本实用新型一种手提迷你冰灯的前视图
图2是本实用新型一种手提迷你冰灯的第一结构示意图。
图3是本实用新型一种手提迷你冰灯的第二结构示意图。
图4是图1中A-A处的剖视图。
图5是图3中B处的局部放大图。
图6是图1中C-C处的剖视图。
如图所示:1、手柄,2、灯杆,3、端盖,4、LED灯,5、电线,6、开关,7、电池盒,8、通孔,9、挂环,10、吊绳,11、干电池,12、冰雕体。
具体实施方式
下面结合附图对本实用新型一种手提迷你冰灯做进一步的详细说明。
结合附图1-6,一种手提迷你冰灯,包括手柄1、灯杆2、端盖3、LED灯4、电线5、开关6和电池盒7,所述灯杆2尾部和手柄1一端螺纹连接,所述手柄1内设有可拆卸式电池盒7,所述手柄1上靠近灯杆2的一端设有开关6,所述开关6和电池盒7通过线路连接,所述灯杆2的另一端设有端盖3,所述端盖3下端设有通孔8,所述电池盒7的一端设有电线5,所述电线5的另一端穿过灯杆2后从通孔8延伸出,所述电线5延伸出通孔8的一端和LED灯4连接,所述端盖3上和LED灯4上均设有挂环9,所述端盖3上的挂环9上设有吊绳10,所述吊绳10的另一端和LED灯4上的挂环9连接,所述LED灯4外部设有冰雕体12。
所述电池盒7内设有干电池11。
所述灯杆2和端盖3插接。
本实用新型在具体实施时,使用时,首先把灯杆2从手柄1上拧下来,然后把电池盒7从手柄1中取出,然后把干电池11装到电池盒7内,随后把电池盒7装回手柄1内,拧上灯杆2,这样就可以使用,可以通过开关6控制LED灯4的开关,端盖3通过吊绳10和LED灯4上的挂环9连接,这样就可以防止LED灯4和冰雕体12下坠导致电线接头处接触不良,也可以防止小孩子子拿着冰灯甩动或者晃动,导致电线接头处接触不良,甚至发生电线断掉;
其中冰雕体12的外形可以是十二属相,名胜古迹、地标建筑形状的冰雕,卡通人物冰雕等;
LED灯4也可以用发光二极管等其他冷光源替换。
以上对本实用新型及其实施方式进行了描述,这种描述没有限制性,附图中所示的也只是本实用新型的实施方式之一,实际的结构并不局限于此。总而言之如果本领域的普通技术人员受其启示,在不脱离本实用新型创造宗旨的情况下,不经创造性的设计出与该技术方案相似的结构方式及实施例,均应属于本实用新型的保护范围。




