名称:一种带蓝牙翻页器折叠支架
专利号:202520438628.3
专利权人:吕金旺
技术领域
本实用新型属于手机支架的技术领域,特别是涉及一种带蓝牙翻页器折叠支架。
背景技术
目前的手机支架上一般不具有蓝牙翻页器的功能,用户在使用手机支架在手机上看电子书时,一般是近距离靠近手机屏幕进行电子书和短视频的翻看,常使用手动操作手机屏幕上的按键或手机侧面按键进行电子书和短视频的翻页或切换,频繁手动翻页易翻页厌倦,且常长时间保持固定的姿势,并引发的颈椎疲劳。若单独将具有翻页功能的蓝牙翻页器通过绳索或固定件固定于手机支架上,易对手机或平板等电子设备的固定位置造成遮挡,影响使用。固定于支架上的蓝牙翻页器在长期使用过程中,因蓝牙翻页器的按键和充电口长期暴露在外部环境中,不能被隐藏收纳并快速取用,导致蓝牙翻页器的按键易受环境空间中扬尘等污染物的污染,易使固定于手机支架上是蓝牙翻页器的按键和充电口受到污染。在单独使用蓝牙翻页器时,常常出现在使用手机支架的过程中未有蓝牙翻页器使用,导致用户使用手机支架过程中因频繁手动翻页易厌倦和疲劳,导致使用手机支架的体验感较差。此外,手机支架在多次折叠和频繁使用后,难以保障支撑和固定的设备固定在设定的位置,常常会发生固定不稳的情况,影响其使用的体验感。
实用新型内容
本实用新型提供一种带蓝牙翻页器折叠支架,用于解决目前折叠支架不带蓝牙翻页功能,难以对蓝牙翻页结构进行隐藏收纳和快速取用,难以保证在手机放置后与蓝牙翻页结构存在遮挡或使用时不方便的问题。
本实用新型的目的及解决其技术问题是采用以下技术方案来实现的。
本实用新型提供一种带蓝牙翻页器折叠支架,该带蓝牙翻页器折叠支架包括水平底座、折叠支撑杆、支撑板,折叠支撑杆的一端与水平底座顶面一端转动连接,折叠支撑杆另一端与支撑板背面一侧转动连接,其特征在于,还包括:可拆卸的块状的蓝牙翻页结构;
收纳空间设于水平底座上,蓝牙翻页结构可拆卸地设置于收纳空间内,蓝牙翻页结构的外壁和收纳空间的内壁相适配,收纳空间朝外的方向上包括至少一个敞口结构面;蓝牙翻页结构的外壁面与收纳空间上沿敞口结构面朝收纳或取出方向的内壁面过盈配合。
作为一种可选的实施方式,收纳空间包括一个敞口结构面,该敞口结构面设置于水平底座板面的表面;敞口结构面旁侧的水平底座上设有月牙形凹陷结构。
作为一种可选的实施方式,蓝牙翻页结构外壁面的中部上设有外凸的第一滑块结构,收纳空间上沿敞口结构面朝收纳或取出方向内壁面的中部上设有凹槽结构的第一滑轨,第一滑块结构和第一滑轨相适配。
作为一种可选的实施方式,收纳空间上沿敞口结构面朝收纳或取出方向内壁面的中部设有外凸的第二滑轨,蓝牙翻页结构外壁面的中部上设有凹槽形的第二滑块结构,第二滑轨和第二滑块结构相适配。
作为一种可选的实施方式,收纳空间包括两个敞口结构面,一个敞口结构面位于水平底座的侧面,另一个敞口结构面位于水平底座的上表面。
作为一种可选的实施方式,该支架还包括支撑杆,收纳空间还包括适配支撑杆的支撑杆收纳空间,折叠支撑杆上设有支撑限位槽,水平底座上设有支撑杆限位槽,支撑杆的两端分别以可拆卸方式设于支撑杆限位槽和支撑限位槽上。
作为一种可选的实施方式,支撑杆限位槽或支撑限位槽具有多个。
作为一种可选的实施方式,支撑杆收纳空间位于收纳空间朝内一侧。
作为一种可选的实施方式,蓝牙翻页结构包括上盖板、下盖板,以及设于上盖板、下盖板之间的按键;上盖板上设有适配按键的按键口,上盖板的下部设有上盖板卡接柱;下盖板上设有连接按键的电路板,下盖板的上部设有适配上盖板卡接柱的下盖板卡接柱。
本实用新型与现有技术相比具有明显的优点和有益效果,基于上述技术方案,本实用新型至少具有以下之一的优点及有效果:
一、本实用新型提供的一种带蓝牙翻页器折叠支架,其包括水平底座、折叠支撑杆、支撑板,折叠支撑杆的一端与水平底座顶面一端转动连接,折叠支撑杆另一端与支撑板背面一侧转动连接,其特征在于,还包括:可拆卸的块状的蓝牙翻页结构;收纳空间设于水平底座上,蓝牙翻页结构可拆卸地设置于收纳空间内,蓝牙翻页结构的外壁和收纳空间的内壁相适配,收纳空间朝外的方向上包括至少一个敞口结构面;蓝牙翻页结构的外壁面与收纳空间上沿敞口结构面朝收纳或取出方向的内壁面过盈配合。本实用新型通过收纳空间能够容置蓝牙翻页结构并方便收纳和取出,避免了蓝牙翻页结构易丢失或易受到污染,增强了折叠支架的存储、保护和快速取用的功能;通过在水平底座上设置隐性收纳空间,避免了蓝牙翻页结构对折叠支架或支撑板进行遮挡导致使用不便,提升了折叠支架使用的体验感。
上述说明仅是本实用新型技术方案的概述,为了能够更清楚了解本实用新型的技术手段,而可依照说明书的内容予以实施,并且为了让本实用新型的上述结构和其他目的、特征和优点能够更明显易懂,以下特举较佳实施例,并配合附图,详细说明如下。
附图说明
图1为本实施例的一种蓝牙翻页结构位于水平底座上板的折叠收合状态的带蓝牙翻页器折叠支架的结构示意图。
图2为本实施例的一种蓝牙翻页结构位于水平底座上板按键朝下的折叠打开状态的带蓝牙翻页器折叠支架的结构示意图。
图3为本实施例的一种蓝牙翻页结构位于水平底座上板按键朝上的折叠打开状态的带蓝牙翻页器折叠支架的结构示意图。
图4为本实施例的一种蓝牙翻页结构的示意图。
图5为本实施例的另一种蓝牙翻页结构位于水平底座侧面的折叠收合状态的带蓝牙翻页器折叠支架的结构示意图。
图6为本实施例的另一种蓝牙翻页结构位于水平底座侧面按键朝下的折叠打开状态的带蓝牙翻页器折叠支架的结构示意图。
图7为本实施例的另一种蓝牙翻页结构位于水平底座侧面按键朝上的折叠打开状态的带蓝牙翻页器折叠支架的结构示意图。
图8为本实施例的另一种蓝牙翻页结构的示意图。
图9为本实施例的另一种蓝牙翻页结构的示意图。
图10为本实施例的一种带蓝牙翻页器折叠支架的剖面结构示意图。
图11为本实施例的另一种蓝牙翻页结构的示意图。
图12为本实施例的另一种蓝牙翻页结构位于水平底座侧面的折叠收合状态的带蓝牙翻页器折叠支架的结构示意图。
图13为本实施例的另一种蓝牙翻页结构位于水平底座侧面按键朝下的折叠打开状态的带蓝牙翻页器折叠支架的结构示意图。
图14为本实施例的另一种蓝牙翻页结构位于水平底座侧面按键朝上的折叠打开状态的带蓝牙翻页器折叠支架的结构示意图。
图15为本实施例的另一种蓝牙翻页结构位于水平底座侧面的折叠收合状态的带蓝牙翻页器折叠支架的结构示意图。
图16为本实施例的另一种蓝牙翻页结构位于水平底座侧面按键朝下的折叠打开状态的带蓝牙翻页器折叠支架的结构示意图。
图17为本实施例的另一种蓝牙翻页结构位于水平底座侧面按键朝上的折叠打开状态的带蓝牙翻页器折叠支架的结构示意图。
图18为本实施例的另一种蓝牙翻页结构的示意图。
图19为本实施例的另一种带蓝牙翻页器折叠支架的剖面结构示意图。
图20为本实施例的另一种带蓝牙翻页器折叠支架折叠打开的结构示意图。
图21为本实施例的另一种带蓝牙翻页器折叠支架折叠打开的结构示意图。
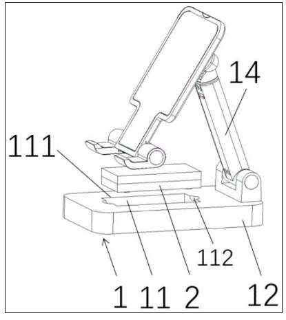
1:带蓝牙翻页器折叠支架 11:收纳空间
111:敞口结构面 112:月牙形凹陷结构
113:第一滑轨 12:水平底座
12a:支撑板 13:支撑杆
131:支撑杆限位槽 14:折叠支撑杆
141:支撑限位槽 15:支撑杆收纳空间
2:蓝牙翻页结构 21:第一滑块结构
23:上盖板 231:按键口
232:上盖板卡接柱 24:下盖板
242:上盖板卡接柱 243:充电口
25:按键 16:转轴
161:固定孔
具体实施方式
为更进一步阐述本实用新型为达成预定发明目的所采取的技术手段及功效,以下结合附图及较佳实施例,对依据本实用新型提出的其具体实施方式、结构、特征及其功效,详细说明如下。
本实用新型提供一种带蓝牙翻页器折叠支架,如图1至4所示,该带蓝牙翻页器折叠支架1包括:水平底座12、折叠支撑杆14、支撑板12a,折叠支撑杆14的一端与水平底座12顶面一端转动连接,折叠支撑杆14另一端与支撑板12a背面一侧转动连接,该带蓝牙翻页器折叠支架1还包括可拆卸的块状的蓝牙翻页结构2;收纳空间11设于水平底座12上,蓝牙翻页结构2可拆卸地设置于收纳空间11内,蓝牙翻页结构2的外壁和收纳空间的内壁相适配,收纳空间11朝外的方向上包括至少一个敞口结构面111;蓝牙翻页结构2的外壁面与收纳空间11上沿敞口结构面111朝收纳或取出方向的内壁面过盈配合。上述收纳空间11的结构形态如图1至图4的矩形体形状,除此之外,收纳空间11的结构形态还可以为圆柱体、棱柱体等类似的可以拆卸的块状的结构形态。
在本实用新型中,收纳空间11可以设于水平底座12上,收纳空间11朝外的方向上包括至少一个敞口结构面111。该敞口结构面111可与水平底座12朝外的板面表面基本平行。如图1至图4所示,蓝牙翻页结构2为矩形体结构形态。蓝牙翻页结构2包括上盖板23、下盖板24,以及设于上盖板23、下盖板24之间的按键25;上盖板23上设有适配按键25的按键口231,上盖板23的下部设有上盖板卡接柱232;下盖板24上设有连接按键25的电路板,下盖板24的上部设有适配上盖板卡接柱232的下盖板卡接柱242。该蓝牙翻页结构2还可以包括充电口243,充电口243可以分别由上盖板23的充电口结构和下盖板24的充电口结构构成。其中,上盖板卡接柱232和下盖板卡接柱242的内径均为适配的变内径结构,上盖板卡接柱232靠近上盖板23一侧的内径大于远离上盖板23一侧的内径。上盖板卡接柱232的外径小于下盖板卡接柱242的内径,且下盖板卡接柱242能在上盖板卡接柱232完全插入下盖板卡接柱242的中空空间时卡接固定住上盖板卡接柱232。
在本实用新型中,如图18所示,蓝牙翻页结构2除了包括天线外,上述蓝牙翻页结构2的主板WiFi模块可以采用现有技术的电子芯片和电路结构,以现有技术实现上述设置、翻页、拍照和录像功能。按键25包括控制蓝牙翻页结构2启闭的关机按键、调配蓝牙翻页结构2设置状态的主菜单设置按键、拍照按键、录像按键,以及中部区域设置的控制翻页的上部按键、下部按键、左侧按键、右侧按键和其中间的确认按键。
在本实用新型中,收纳空间11包括一个敞口结构面111,该敞口结构面111设置于水平底座12板面的表面,该水平底座12板面的表面可以为水平底座12上任一个板面的表面。如图1至4所示,可以将敞口结构面111设置于水平底座12上板面的表面。蓝牙翻页结构2的外壁面与收纳空间11上沿敞口结构面111朝收纳或取出方向的内壁面过盈配合;敞口结构面111旁侧的水平底座12上设有月牙形凹陷结构112。
在本实用新型中,如图5至20所示,蓝牙翻页结构2外壁面的中部上设有外凸的第一滑块结构21,收纳空间11上沿敞口结构面111朝收纳或取出方向内壁面的中部设有凹槽结构的第一滑轨113,第一滑块结构21和第一滑轨113相适配,能够使蓝牙翻页结构2通过第一滑块结构21在快速取用时以正面朝上插入收纳空间11内固定;或者也能够使蓝牙翻页结构2通过第一滑块结构21在快速隐藏收纳时以正面朝下插入收纳空间11内固定。第一滑块结构21可以分别由上盖板23的第一滑块结构和下盖板24的第一滑块结构构成。
在本实用新型中,作为另一种可选的实施方式,在收纳空间11上沿敞口结构面111朝收纳或取出方向内壁面的中部设有外凸的第二滑轨(图中未示出),蓝牙翻页结构2外壁面的中部上设有凹槽形的第二滑块结构(图中未示出),第二滑轨和第二滑块结构相适配,上述第二滑轨和第二滑块结构也能够使蓝牙翻页结构2通过第二滑轨在快速取用时以正面朝上插入收纳空间11内固定;或者也能够使蓝牙翻页结构2通过第二滑轨在快速隐藏收纳时以正面朝下插入收纳空间11内固定。
在本实用新型中,作为另一种可选的实施方式,收纳空间11包括两个敞口结构面111,如图5至8所示,一个敞口结构面111设于水平底座12的侧面上,且该侧面的朝向与手机支架支撑面板的朝向一致;另一个敞口结构面111位于水平底座12的上表面,第一滑轨113设置于收纳空间11竖向的内壁面上,第一滑轨113的一端在收纳空间11的里侧,第一滑轨113的另一端在收纳空间11的外侧。第一滑轨113可与水平底座12的上表面基本平行,也可以在水平底座12上收纳空间11的内壁上设置。
在本实用新型中,蓝牙翻页结构2可拆卸地设置于适配的收纳空间11内;其中,蓝牙翻页结构2的尺寸和收纳空间11空间尺寸相适配,在蓝牙翻页结构2放置于收纳空间11内时,蓝牙翻页结构2的外壁和收纳空间11的内壁相适配。
在本实用新型中,作为另一种可选的实施方式,该蓝牙翻页用支架还可以包括支撑杆13,收纳空间11还包括适配支撑杆13的支撑杆收纳空间115,折叠支撑杆14上设有支撑限位槽141,水平底座12上设有支撑杆限位槽131。上述支撑杆收纳空间115可以设置于收纳空间11的底部区域(如收纳空间11底部上设置的凹槽内),该支撑杆收纳空间115可以与隐藏收纳时蓝牙翻页结构2的按键25所在板面相对。在快速取用时,先取出蓝牙翻页结构2,然后再取出支撑杆收纳空间115。在频繁使用支架难以稳定固定电子设备,或者支架难以稳定固定支撑上覆的较重电子设备时,可以快速取出支撑杆13,并将支撑杆13的两端分别以可拆卸方式设于支撑杆限位槽131和支撑限位槽141上。
在本实用新型中,上述支撑杆限位槽131或支撑限位槽141至少具有一个,在支撑杆限位槽131和支撑限位槽141分别具有多个时可如图20所示,在本实用新型中,在需要使用支撑杆13时,将支撑杆13的两端分别以可拆卸方式设于对应的支撑杆限位槽131和对应的支撑限位槽141上,以增强折叠支撑杆14的支撑作用。
在本实用新型中,作为另一种可选的实施方式,支撑杆收纳空间115还可以位于收纳空间11朝内一侧(见图20)。
在本实用新型中,作为另一种可选的实施方式,为了保证放置上覆电子设备的支撑板12a相对于折叠支撑杆14在频繁使用过程中能够稳定的支撑,可以将支撑板12a和折叠支撑杆14之间的活动结构设置为可调节松紧度的活动结构。在支撑板12a和折叠支撑杆14之间转轴16的两端分别设置带内螺纹的固定孔161,该固定孔161内具有台阶结构(图中未示出),台阶结构内的固定孔用于与固定螺栓的内螺纹适配连接,台阶结构外的固定孔用于容置固定螺栓的螺帽。该台阶结构与固定螺栓的螺帽朝内一侧相接触,用于限位固定螺栓,在转轴16的两端分别通过固定螺栓将支撑板12a可调节的固定于转轴16上。在台阶外的固定孔朝外的孔口处设有档片,该档片分别遮挡固定孔161。如此结构设置能够最大限度的保证折叠支撑杆14对支撑板12a稳定的固定和支撑作用。
以上,仅是本申请的较佳实施例而已,并非对本申请作任何形式上的限制,虽然本申请已以较佳实施例揭露如上,然而并非用以限定本申请,任何熟悉本专业的技术人员,在不脱离本申请技术方案范围内,当可利用上述揭示的技术内容做出些许更动或修饰为等同变化的等效实施例,但凡是未脱离本申请技术方案内容,依据本申请的技术实质对以上实施例所作的任何简单修改、等同变化与修饰,均仍属于本申请技术方案的范围内。




