名称:一种具有除菌恒温加热烘干功能的智能浴室柜
专利号:202120467447.5
专利权人:陈楠
技术领域
本申请涉及一种智能浴室柜,具体是一种具有除菌恒温加热烘干功能的智能浴室柜。
背景技术
浴室柜是浴室间放物品的柜子,其面材可分为天然石材、玉石、人造石材、防火板、烤漆、玻璃、金属和实木等;基材是浴室柜的主体,它被面材所掩饰;基材是浴室柜品质和价格的决定因素;在搬运时,应轻抬轻放,不要硬拖拉;放置时,地面不平,应将腿垫实。
现有的浴室柜在进行使用时,缺少干燥烘干的功能,同时可能缺少杀菌的功能,不易进行衣物的杀菌以及干燥处理。因此,针对上述问题提出一种具有除菌恒温加热烘干功能的智能浴室柜。
发明内容
为了解决现有技术的不足,本申请提供一种具有除菌恒温加热烘干功能的智能浴室柜,包括柜体以及固定安装在柜体底部的底罩,所述柜体内中部固定安装有陶瓷隔板,所述陶瓷隔板的一侧固定连接有两个横板,且横板的板面上均匀开设有若干个通孔,所述横板的顶部设置有第一横杆,所述第一横杆的表面固定连接有多个等间距分布的第一挂钩;所述陶瓷隔板的右侧固定连接有隔断板,所述隔断板的板面上固定嵌合安装有两个石英玻璃板,所述石英玻璃板中等间距设置有若干个紫外线杀菌灯,所述柜体的内部一侧通过隔断板和陶瓷隔板分隔成三个腔室,三个所述腔室的顶部均固定安装有悬挂机构;所述柜体的一侧壁以及陶瓷隔板的一侧壁均固定嵌合连接有多个加热管;所述柜体的一侧底部固定嵌合安装有第一风扇;所述底罩的正面固定嵌合安装有干燥机构。
进一步地,所述柜体的正面一侧铰接有两个第二柜门,所述第二柜门的表面固定连接有第二把手,所述第二柜门的表面开设有透气孔。
进一步地,所述柜体的正面一侧铰接有第一柜门,所述第一柜门的表面固定安装有第一把手,所述第一柜门的表面固定嵌合安装有透气网。
进一步地,所述悬挂机构包括第二横杆和第二挂钩,所述第二横杆和第二挂钩的数目为若干个,若干个所述第二横杆等间距分布,所述第二横杆的中部与第二挂钩固定连接。
进一步地,所述干燥机构包括转轴、条板和干燥层,所述条板的数目为若干个,且若干个条板等间距分布,所述条板的中部安装有转轴,所述条板的两个板面均固定粘接有干燥层。
进一步地,所述底罩的正面开设有通槽,且通槽与干燥机构嵌合连接。
本申请的有益效果是:本申请提供了一种便于进行衣物干燥存放同时具有除菌恒温加热烘干功能的智能浴室柜。
附图说明
为了更清楚地说明本申请实施例或现有技术中的技术方案,下面将对实施例或现有技术描述中所需要使用的附图作简单地介绍,显而易见地,下面描述中的附图仅仅是本申请的一些实施例,对于本领域普通技术人员来讲,在不付出创造性劳动性的前提下,还可以根据这些附图获得其它的附图。
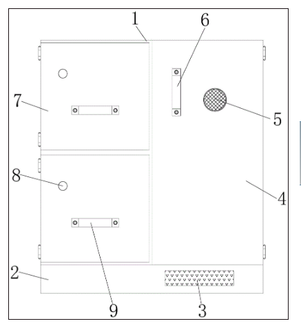
图1为本申请一种实施例的整体结构示意图;
图2为本申请一种实施例的柜体内部的结构示意图;
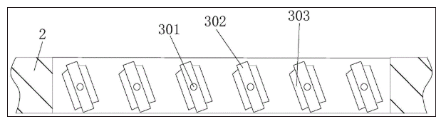
图3为本申请一种实施例的干燥机构结构示意图;
图4为本申请一种实施例的第二横杆与第二挂钩的结构示意图。
图中:1、柜体,2、底罩,3、干燥机构,301、转轴,302、条板,303、干燥层,4、第一柜门,5、透气网,6、第一把手,7、第二柜门,8、透气孔,9、第二把手,10、陶瓷隔板,11、第一横杆,12、第一挂钩,13、横板,14、透气孔,15、隔断板,16、石英玻璃板,17、紫外线杀菌灯,18、加热管,19、第二横杆,20、第二挂钩,21、第一风扇。
具体实施方式
为了使本技术领域的人员更好地理解本申请方案,下面将结合本申请实施例中的附图,对本申请实施例中的技术方案进行清楚、完整地描述,显然,所描述的实施例仅仅是本申请一部分的实施例,而不是全部的实施例。基于本申请中的实施例,本领域普通技术人员在没有做出创造性劳动前提下所获得的所有其他实施例,都应当属于本申请保护的范围。
需要说明的是,本申请的说明书和权利要求书及上述附图中的术语“第一”、“第二”等是用于区别类似的对象,而不必用于描述特定的顺序或先后次序。应该理解这样使用的数据在适当情况下可以互换,以便这里描述的本申请的实施例。此外,术语“包括”和“具有”以及他们的任何变形,意图在于覆盖不排他的包含,例如,包含了一系列步骤或单元的过程、方法、系统、产品或设备不必限于清楚地列出的那些步骤或单元,而是可包括没有清楚地列出的或对于这些过程、方法、产品或设备固有的其它步骤或单元。
在本申请中,术语“上”、“下”、“左”、“右”、“前”、“后”、“顶”、“底”、“内”、“外”、“中”、“竖直”、“水平”、“横向”、“纵向”等指示的方位或位置关系为基于附图所示的方位或位置关系。这些术语主要是为了更好地描述本申请及其实施例,并非用于限定所指示的装置、元件或组成部分必须具有特定方位,或以特定方位进行构造和操作。
并且,上述部分术语除了可以用于表示方位或位置关系以外,还可能用于表示其他含义,例如术语“上”在某些情况下也可能用于表示某种依附关系或连接关系。对于本领域普通技术人员而言,可以根据具体情况理解这些术语在本申请中的具体含义。
此外,术语“安装”、“设置”、“设有”、“连接”、“相连”、“套接”应做广义理解。例如,可以是固定连接,可拆卸连接,或整体式构造;可以是机械连接,或电连接;可以是直接相连,或者是通过中间媒介间接相连,又或者是两个装置、元件或组成部分之间内部的连通。对于本领域普通技术人员而言,可以根据具体情况理解上述术语在本申请中的具体含义。
需要说明的是,在不冲突的情况下,本申请中的实施例及实施例中的特征可以相互组合。下面将参考附图并结合实施例来详细说明本申请。
请参阅图1-4所示,一种具有除菌恒温加热烘干功能的智能浴室柜,包括柜体1以及固定安装在柜体1底部的底罩2,所述柜体1内中部固定安装有陶瓷隔板10,所述陶瓷隔板10的一侧固定连接有两个横板13,且横板13的板面上均匀开设有若干个通孔14,所述横板13的顶部设置有第一横杆11,所述第一横杆11的表面固定连接有多个等间距分布的第一挂钩12;
所述陶瓷隔板10的右侧固定连接有隔断板15,所述隔断板15的板面上固定嵌合安装有两个石英玻璃板16,所述石英玻璃板16中等间距设置有若干个紫外线杀菌灯17,石英玻璃板16为双层的玻璃板,内部具有空腔,用于紫外线杀菌灯17的安装,所述柜体1的内部一侧通过隔断板15和陶瓷隔板10分隔成三个腔室,三个所述腔室的顶部均固定安装有悬挂机构;
所述柜体1的一侧壁以及陶瓷隔板10的一侧壁均固定嵌合连接有多个加热管18;
所述柜体1的一侧底部固定嵌合安装有第一风扇21;
所述底罩2的正面固定嵌合安装有干燥机构3。
所述柜体1的正面一侧铰接有两个第二柜门7,所述第二柜门7的表面固定连接有第二把手9,所述第二柜门7的表面开设有透气孔8,用于柜体1一侧的开闭;所述柜体1的正面一侧铰接有第一柜门4,所述第一柜门4的表面固定安装有第一把手6,所述第一柜门4的表面固定嵌合安装有透气网5,用于柜体1一侧的开闭;所述悬挂机构包括第二横杆19和第二挂钩20,所述第二横杆19和第二挂钩20的数目为若干个,若干个所述第二横杆19等间距分布,所述第二横杆19的中部与第二挂钩20固定连接,用于悬挂衣物;所述干燥机构3包括转轴301、条板302和干燥层303,所述条板302的数目为若干个,且若干个条板302等间距分布,所述条板302的中部安装有转轴301,所述条板302的两个板面均固定粘接有干燥层303,转轴301与底罩2的通槽进行转动安装,干燥层303采用硅胶干燥剂;所述底罩2的正面开设有通槽,且通槽与干燥机构3嵌合连接。
本申请中出现的电器元件在使用时均外接连通电源和控制开关,整个智能浴室柜在进行使用时,通过柜体1右侧的空间悬挂潮湿的衣物、浴巾,通过第二挂钩20进行悬挂,通过加热管18进行加热,实现衣物的烘干,同时通过紫外线杀菌灯17进行照射,实现杀菌,降低细菌的滋生;
干燥后的衣物通过柜体1左侧的空间进行放置,通过横板13提供承载,通过第一挂钩12提供悬挂,存放时,天气潮湿时,通过打开第一风扇21,可产生气流,为柜体1左侧的衣物提供吹风,同时吹风的气流通过干燥机构3进行了干燥,提供干燥气流的存放氛围,避免存放衣物受潮。
加热管18通过外接的控制器或控制开关控制,通过在柜体1中增设温度传感器,进行反馈,可实现恒温加热。
本申请的有益之处在于:
整个智能浴室柜用于放置衣物,其具有加热的功能,可为潮湿衣物提供了烘干的功能,用于衣物的干燥,同时用于放置干燥衣物时,可起到防潮的功能,可进行防潮,保障衣物的干燥。
同时具有杀菌的功能,在进行潮湿衣物烘干的同时可提供杀菌,通过紫外线杀菌灯17进行照射,实现杀菌操作,降低了细菌的滋生。
涉及到电路和电子元器件和模块均为现有技术,本领域技术人员完全可以实现,无需赘言,本申请保护的内容也不涉及对于软件和方法的改进。
以上所述仅为本申请的优选实施例而已,并不用于限制本申请,对于本领域的技术人员来说,本申请可以有各种更改和变化。凡在本申请的精神和原则之内,所作的任何修改、等同替换、改进等,均应包含在本申请的保护范围之内。


