名称:自动洒水拖地机构
专利号:202322499777.4
专利权人:陆忠群
技术领域
本申请涉及地板清洁技术,具体涉及一种自动洒水拖地机构。
背景技术
目前,市场上出现了驾驶式拖地车,来替代人工拖地,一定程度上减轻了清洁人员的负担。但是,这种驾驶式拖地车的体积大,对于比较拥挤且桌椅比较多的区域例如食堂、办公室等形成的狭小空间,只能采用传统的人工拖地的方式,因此清洁人员的拖地工作量大,且效率低。
实用新型内容
为了克服上述缺陷,本申请提供一种自动洒水拖地机构,该拖地机构通过洒水单元给拖布施加压力以保证拖布的清洁效果,因此不需要作业人员弯腰对拖布施加压力,减轻了作业人员的劳动强度。
本申请为了解决其技术问题所采用的技术方案是:
一种自动洒水拖地机构,包括支撑架、驱动单元、洒水单元和拖地单元,所述洒水单元可拆卸地安装于所述支撑架上,所述驱动单元连接于所述支撑架,所述拖地单元包括把柄、套筒、弹性件、拖布架和拖布,所述套筒的第一端连接于所述洒水单元,所述把柄的第一端可活动地安装于所述套筒的第二端内,所述把柄的第二端安装所述拖布架,所述拖布套设于所述拖布架,所述套筒内安装弹性件,所述弹性件连接于所述把柄的第一端,所述洒水单元与水平面倾斜布置以对所述拖地单元施加压力。
可选地,所述弹性件的第一端抵靠于所述套筒内,所述弹性件的第二端抵靠于所述把柄的第一端。
可选地,所述把柄与所述套筒之间通过卡槽和凸筋滑动连接;或,所述把柄与所述套筒之间过盈配合。
可选地,所述支撑架包括框架、横梁和支撑板,所述支撑板固定安装于所述框架上,所述横梁安装于所述框架上,所述横梁位于所述支撑板的上方,所述洒水单元置于所述横梁和支撑板上。
可选地,所述横梁高度可调地安装于所述框架上。
可选地,所述驱动单元包括把手,所述把手固定安装于所述支撑架上,所述框架的下方安装主车轮和万向轮,所述主车轮固定安装于转动轴上,所述转动轴可转动安装于所述框架上。
可选地,所述驱动单元包括电动车或人力车,所述支撑架固定安装于电动车的后座上或人力车的后座上。
可选地,所述洒水单元包括水箱,所述水箱上设有连接杆和盖体,所述套筒固定连接于所述连接杆,所述水箱上设有出水管,所述出水管上设有出水阀。
可选地,所述拖布架通过两个铁拉杆连接于所述支撑架,两个所述铁拉杆分别位于所述把柄的两侧,且两根所述铁拉杆沿着所述把柄呈对称布置。
可选地,所述水箱的底面与水平面之间的夹角a为80°至85°,所述水箱的侧面与所述把柄之间的夹角b为5°至10°。
本申请的有益效果是:
1)本申请中通过洒水单元给拖布施加压力以保证拖布的清洁效果,因此不需要作业人员弯腰对拖布施加压力,减轻了作业人员的劳动强度;本申请在小范围内进行了测试,非常使用,深得保洁人员的喜欢。
2)本申请在套筒内设有弹性件起到缓冲的作用,当地面高低不平或遇到障碍物时,把柄能够压缩弹性件以顺利通过高低不平的地面或越过障碍物,从而保证了拖地机构的正常工作。
3)本拖地机构在行走过程中,能够完成洒水和拖地的操作,一物两用,且洒水和拖地的操作可以同时完成,缩短了工作时间,提高了工作效率。
4)本拖地机构整体宽度可设计为等于或小于拖布的宽度,因此结构紧凑,能够在狭小的空间内运行,适用于如食堂、办公室等比较拥挤的区域,从而解决了在现实生活中,该类区域一直采用人工拖地的方式,存在的作业人员工作强度大、工作效率低的问题,具有广阔的应用市场
附图说明
图1为本申请实施例1中拖地机构的结构示意图;
图2为本申请实施例1中支撑架的结构示意图之一;
图3为本申请实施例1中支撑架的结构示意图之二;
图4为本申请实施例1中拖地单元的部分结构示意图;
图5为本申请中实施例2的结构示意图;
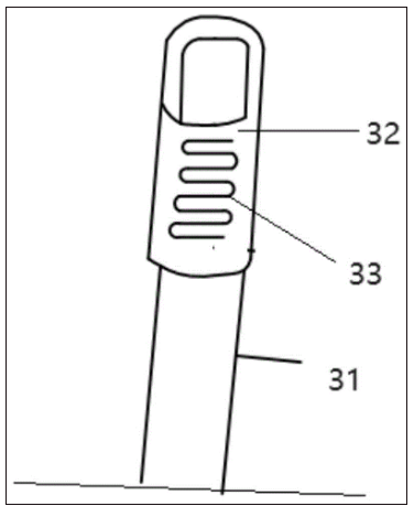
图中:10-支撑架,11-框架,12-横梁,13-支撑板,14-主车轮,15-转动轴,16-万向轮,17-把手,18-电动车,20-洒水单元,21-水箱,22-盖体,23-连接杆,24-出水管,25-出水阀,30-拖地单元,31-把柄,32-套筒,33-弹性件,34-拖布架,35-拖布,36-铁拉杆。
具体实施方式
下面将结合本申请实施例,对本申请实施例中的技术方案进行清楚、完整地描述。显然,本申请所描述的实施例仅仅是本申请一部分实施例,而不是全部的实施例。基于本申请中的实施例,本领域普通技术人员在没有做出创造性劳动前提下所获得的所有其他实施例,都属于本申请保护的范围。
需要说明的是,本申请的说明书和权利要求书及下述附图中的术语“第一”、“第二”等是用于区别类似的对象,而不必用于描述特定的顺序或先后次序。应该理解这样使用的对象在适当情况下可以互换,以使这里描述的本申请的实施方式能够以除了在这里图示或描述的那些以外的顺序实施。此外,术语“包括”和“具有”以及他们的任何变形,意图在于覆盖不排他的包含,例如,包含了一系列步骤或单元的过程、方法、系统、产品或设备不必限于清楚地列出的那些步骤或单元,而是可包括没有清楚地列出的或对于这些过程、方法、产品或设备固有的其他步骤或单元。
为了便于描述,在这里可以使用空间相对术语,如“在……之上”、“在……上方”、“在……上表面”、“上面的”等,用来描述如在图中所示的一个器件或特征与其他器件或特征的空间位置关系。应当理解的是,空间相对术语旨在包含除了器件在图中所描述的方位之外的在使用或操作中的不同方位。例如,如果附图中的器件被倒置,则描述为“在其他器件或构造上方”或“在其他器件或构造之上”的器件之后将被定位为“在其他器件或构造下方”或“在其他器件或构造之下”。因而,示例性术语“在……上方”可以包括“在……上方”和“在……下方”两种方位。该器件也可以其他不同方式定位(旋转90度或处于其他方位),并且对这里所使用的空间相对描述作出相应解释。
实施例1:如图1-4所示,一种自动洒水拖地机构,包括支撑架10、驱动单元、洒水单元20和拖地单元30,所述洒水单元20可拆卸地安装于所述支撑架10上,所述驱动单元连接于所述支撑架10,所述拖地单元30包括把柄31、套筒32、弹性件33、拖布架34和拖布35,所述套筒32的第一端连接于所述洒水单元20,所述把柄31的第一端可活动地安装于所述套筒32的第二端内,所述把柄31的第二端安装所述拖布架34,所述拖布35套设于所述拖布架34,所述套筒32内安装弹性件33,所述弹性件33连接于所述把柄31的第一端,所述洒水单元20与水平面倾斜布置以对所述拖地单元30施加压力。
本申请中洒水单元20通过套筒32和把柄31将压力传递给拖布35,使拖布35始终与地面接触,且确保拖布与地面之间具有一定的摩擦力,进而保证了拖布的清洁效果。使用时,作业人员操控驱动单元,驱动单元带动支撑架10在地面上运行,洒水单元20向地面上洒水,拖布用于清洁洒水后的地面。本申请中通过洒水单元给拖布施加压力以保证拖布的清洁效果,因此不需要作业人员弯腰对拖布施加压力,减轻了作业人员的劳动强度;本申请在套筒32内设有弹性件33起到缓冲的作用,当地面高低不平或遇到障碍物时,把柄31能够压缩弹性件以顺利通过高低不平的地面或越过障碍物,从而保证了拖地机构的正常工作。
本拖地机构在行走过程中,能够完成洒水和拖地的操作,一物两用,且其整体宽度可设计为等于或小于拖布的宽度,因此结构紧凑,能够在狭小的空间内运行,适用于如食堂、办公室等比较拥挤的区域,从而解决了在现实生活中,该类区域一直采用人工拖地的方式,存在的作业人员工作强度大、工作效率低的问题,具有广阔的应用市场。
所述弹性件33的第一端抵靠于所述套筒32内,所述弹性件33的第二端抵靠于所述把柄31的第一端。套筒32和弹性件33组成压力套,用于连接把柄与洒水单元,从而将洒水单元的压力传递给把柄31。
所述把柄31与所述套筒32之间通过卡槽和凸筋滑动连接;或,所述把柄31与所述套筒32之间过盈配合。在一种可能的实施方式中,把柄31沿轴向设有卡槽,套筒32内设有与卡槽相匹配的凸筋,在另一种可能的实施方式中,把柄31沿轴向设有凸筋,套筒32内设有与卡槽相匹配的卡槽,组装时,凸筋卡入卡槽内,且凸筋能够沿卡槽滑动,从而实现把柄31相对于套筒32滑动;在又一种实施方式中,把柄31与套筒32之间直接过盈配合,因此拆装方便。
如图2-3所示,所述支撑架10包括框架11、横梁12和支撑板13,所述支撑板13固定安装于所述框架11上,所述横梁12安装于所述框架11上,所述横梁12位于所述支撑板13的上方,所述洒水单元20置于所述横梁12和支撑板13上。洒水单元20的一端置于横梁12上,另一端置于支撑板13上,由于横梁12高于支撑板13,因此洒水单元20倾斜布置,即洒水单元20与水平面倾斜布置。
所述横梁12高度可调地安装于所述框架11上。在一个可能的实施方式中,在框架11上开设一排高度不等的安装孔,通过把横梁12固定安装于不同高度的安装孔中,以实现横梁12的高度可调功能;在另一可能的实施方式中,框架11上可转动的安装螺杆,螺杆竖直布置,横梁12通过螺母螺接于螺杆,通过旋转螺杆来实现横梁的高度可调功能。通过调节横梁12的高度,以调节洒水单元20与水平面之间的倾斜角度。
如图1所示,在实施例1中,所述驱动单元包括把手17,所述把手17固定安装于所述支撑架10上,所述框架11的下方安装主车轮14和万向轮16,所述主车轮14固定安装于转动轴15上,所述转动轴15可转动安装于所述框架11上。框架11靠近把手17的一端安装两个万向轮16,框架11远离把手17的一端安装两个主车轮14,即框架11、主车轮14、万向轮16和把手17等形成类似小推车结构,使用时,作业人员只要拉着或推着把手17正常行走即可完成拖地作业,相对于传统的弯腰拖地方式,大大减轻了作业人员的劳动强度。
如图1所示,所述洒水单元包括水箱21,所述水箱21上设有连接杆23和盖体22,所述套筒32固定连接于所述连接杆23,所述水箱21上设有出水管24,所述出水管24上设有出水阀25。连接杆23固定安装于水箱21的上端,套筒32固定安装于连接杆23上,水箱21里的水通过出水管24流出对地面进行洒水,可根据实际需求开启、关闭出水阀25或控制出水阀的开度。实际使用中,可利用废弃的垃圾桶作为水箱21,实现废物利用,减少资源的浪费,本申请可以实现边洒水边拖地的功能,操作方便。
如图1所示,所述拖布架34通过两个铁拉杆36连接于所述支撑架10,两个所述铁拉杆36分别位于所述把柄31的两侧,且两根所述铁拉杆36沿着所述把柄31呈对称布置。利用两根对称的铁拉杆36可以始终保持拖布相对于水箱21的位置,特别在转弯后,仍能保持拖布35的正确方向,从而保证拖地效果。
如图1所示,所述水箱21的底面与水平面之间的夹角a为80°至85°,所述水箱21的侧面与所述把柄31之间的夹角b为5°至10°。可选地,所述水箱21的底面与水平面之间的夹角a为80°,所述水箱21的侧面与所述把柄31之间的夹角b为10°,从而保证水箱21对拖布产生合适的压力。
如图5所示,在实施例2中,所述驱动单元包括电动车18或人力车,所述支撑架10固定安装于电动车18的后座上或人力车的后座上。在本实施例中,采用电动车18或人力车来作为驱动单元,使用时,作业人员操控即电动车18或人力车可完成拖地作业,相对于传统的弯腰拖地方式,大大减轻了作业人员的劳动强度。
应当指出,对于本领域的普通技术人员来说,在不脱离本申请构思的前提下,还可以做出若干变形和改进,这些都属于本申请的保护范围。因此,本申请专利的保护范围应以所附权利要求为准。



