名称:一种用于电加热器的重力防干烧装置
专利号:201820069845.X
专利权人:迟伟弢
技术领域
本实用新型涉及家用电器技术领域,具体涉及用于电加热器的重力防干烧装置。
背景技术
传统电加热器防干烧保护方法是利用温度变化,实施保护,只有当被加热物中水分耗尽。进入干烧状态,温度极速上升,形成高温才有可能进入保护过程。即使断电也往往因被加热物干烧焦糊或燃烧,电加热器部分或全部损坏而报废,甚至造成火灾。
实用新型内容
(一)本实用新型所要解决的技术问题是:现有的电加热器保护防干烧的方法是利用温度的变化,只有当被加热物中水分耗尽。进入干烧状态,温度极速上升,形成高温才有可能进入保护过程。即使断电也往往因被加热物干烧焦糊或燃烧,电加热器部分或全部损坏而报废,甚至造成火灾。
(二)技术方案
为了解决上述技术问题,本实用新型提供了一种电加热器,所述电加热器包括电源底座和加热器,所述重力防干烧装置包括弹性装置和保护开关,所述弹性装置设置在电源底座上、加热器上或电源底座和加热器之间,所述保护开关设置在电源底座上、加热器上或电源底座和加热器之间;所述弹性装置用于提供一个竖直向上的弹力,所述保护开关与所述加热器电源接口和与所述电源底座电源接口串联。
本实用新型的有益效果:本实用新型提供的用于电加热器的重力防干烧装置,所述电加热器包括电源底座和加热器,所述防干烧装置包括弹性装置和保护开关,所述弹性装置和所述保护开关设置在电源底座上、加热器上或电源底座和加热器之间,所述保护开关与所述加热器电源接口和所述电源底座电源接口串联,正常工作状态时-当加热器内被加热含水物体积,达到电加热器最低允许值以上时,加热器的重力大于弹性装置竖直向上的弹力,加热器压迫弹性装置下移,致加热器下表面与电源底座上表面接触,底座上表面触动位于加热器底部的保护开关,使其接通,加热器电源接口与电源底座电源接口亦接通。由于保护开关与电源底座电源接口和加热器电源接口,在供电回路中成串联态,三者同时接通,加热器通电正常工作。
非正常状态及防干烧保护-当加热器内被加热含水物体积,因过加热或其他原因,低于电加热器最低允许值时,加热器的重力小于弹性装置的弹力,弹性装置顶升加热器上移,加热器上的保护开关失去电源底座上表面的触动,由接通态转为断开态,加热器因而失去电源,停止工作,实现保护。极端情况下,万一保护开关失效,未断开。将进入第二重保护。此时,加热器内被加热含水物因继续加热,体积继续减小。加热器的重力继续减小,弹性装置将顶升加热器继续上移,致加热器电源接口与电源底座电源接口脱离,完全切断电源实现保护,由于采用双重保护,且利用重力变化切断电源。所以加热器永远都不会进入干烧状态,大大提高安全度。彻底避免了因加热器干烧导致的能源浪费、加热器报废、甚至火灾事故。
进一步地,所述弹性装置设有多个,多个所述弹性装置设置在电源底座上、加热器上或电源底座和加热器之间。
进一步地,多个所述弹性装置在所述电源底座的上表面均匀分布。
进一步地,所述弹性装置为由弹性材料制成的弹性块,所述弹性块的下表面固定在所述电源底座上,上端位于所述电源底座的上侧。
进一步地,所述电源底座包括底座本体、电源线和电源底座电源接口,所述电源线的一端与所述电源底座电源接口连通,另一端连接有电源插头;所述弹性块设置在所述底座本体上表面上。
进一步地,所述电源底座还包括与所述弹性块一一对应设置的安装槽,所述安装槽开设在所述底座本体的上表面的外侧边缘处,所述弹性块的下表面固定在所述安装槽内,另一端伸出所述安装槽至所述底座本体上表面的上侧。
进一步地,所述弹性块设有四个,四个所述弹性块在所述底座本体的上表面两两相对设置。
进一步地,所述弹性装置为压缩弹簧,所述电源底座的上表面设有固定槽,所述压缩弹簧安装在所述固定槽内。
进一步地,所述加热器的下部设有凹陷区,电源底座的上表面设有与所述凹陷区配合的凸台,所述保护开关安装在所述凹陷区内。
附图说明
本实用新型上述和/或附加方面的优点从结合下面附图对实施例的描述中将变得明显和容易理解,其中:
图1是电源底座的结构示意图;
图2是所述电源底座的俯视图;
图3是所述电源底座的主视图;
图4是所述电加热器处于防烧干状态的结构示意图;
图5是所述电加热正常工作状态下的结构示意图。
其中图1至图5中附图标记与部件名称之间的对应关系为:
1、底座本体,11、弹性块,12、凸起,13、电源底座电源接口,14、安装槽,15、电源线,16、电源插头,2、加热器,21、保护开关,22、加热器电源接口,3、凸台,4、凹陷区。
具体实施方式
为了能够更清楚地理解本实用新型的上述目的、特征和优点,下面结合附图和具体实施方式对本实用新型进行进一步的详细描述。需要说明的是,在不冲突的情况下,本申请的实施例及实施例中的特征可以相互组合。
如图1至图5所示,本实施例提供了一种用于电加热器的重力防干烧装置,所述电加热器包括电源底座和内部形成容纳空间的加热器2,所述重力防干烧装置包括弹性装置和保护开关21,所述加热器2放置在所述电源底座上,所述弹性装置设置在电源底座上、加热器2上或电源底座和加热器2之间,所述保护开关21设置在电源底座上、加热器2上或电源底座和加热器2之间;所述弹性装置用于提供一个竖直向上的弹力,所述保护开关21与所述加热器电源接口22和所述电源底座电源接口13串联。
本实用新型提供的用于电加热器的重力防干烧装置,所述电加热器包括电源底座和加热器2,所述重力防干烧装置包括弹性装置和保护开关21,所述弹性装置设置在电源底座上、加热器2上或电源底座和加热器2之间,所述保护开关21设置在电源底座上、加热器2上或电源底座和加热器2之间;所述保护开关21与所述加热器电源接口22或与所述电源底座电源接口13串联,正常工作状态时当加热器2内被加热含水物体积,达到电加热器最低允许值以上时,加热器2的重力大于弹性装置竖直向上的弹力,加热器2压迫弹性装置下移,致加热器2下表面与电源底座上表面接触,底座上表面触动位于加热器2底部的保护开关21,使其接通,加热器电源接口22与电源底座电源接口13亦接通。由于保护开关21与电源底座电源接口13及加热器电源接口22,在供电回路中成串联态,三者同时接通,加热器2通电进入正常工作状态。
非正常状态及防干烧保护-当加热器2内被加热含水物体积,因过加热或其他原因,低于电加热器最低允许值时,加热器2的重力小于弹性装置的弹力,弹性装置顶升加热器2上移,加热器2上的保护开关21失去电源底座上表面的触动,由接通态转为断开态,加热器2因而失去电源,停止工作,实现保护。极端情况下,万一保护开关21失效,未断开。将进入第二重保护。此时,加热器2内被加热含水物因继续加热,体积继续减小。加热器2的重力继续减小,弹性装置将顶升加热器2继续上移,致加热器电源接口22与电源底座电源接口13脱离,完全切断电源实现保护,由于采用双重保护,且利用重力变化切断电源。所以加热器2永远都不会进入干烧状态,大大提高安全度。彻底避免了因加热器2干烧导致的能源浪费、加热器2报废、甚至火灾事故。
其中在上述示例中所述弹性装置可以是设置在电源底座上,也可以是设置在加热器上,也可以是弹性装置作为一个单独的部件位于电源底座和加热器2之间;所述保护开关21可以是设置在电源底座上,也可以是设置在加热器上,也可以是保护开关21作为一个单独的部件位于电源底座和加热器2之间。
优选地,所述弹性装置设有多个,多个所述弹性装置设置在电源底座上、加热器2上或电源底座和加热器2之间,通过设置多个弹性装置,然后多个弹性装置在所述底座本体1的上表面均匀分布,这样在加热器2放在所述电源底座上时,受力更加均匀,保证加热器2放置的可靠性和稳定性。如图1至图3所示,所述弹性装置为由弹性材料制成的弹性块11,所述弹性块11的下表面固定在所述电源底座上,上端位于所述电源底座本体1的上侧。优选地,所述电源底座包括底座本体1、电源线15和设于电源底座电源接口13,所述电源线15的一端与电源底座电源接口13连通,另一端连接有电源插头16;所述弹性块11设置在所述底座本体1上表面上。
如图1至图3所示,所述弹性装置为由弹性材料制成的弹性块11,所述弹性块11的下表面固定在所述底座本体1上,上端位于所述底座本体1上表面的上侧,通过弹性块11的弹性变形来提供一个竖直向上的弹力,正常工作状态时-当加热器内被加热含水物体积,达到电加热器最低允许值以上时,加热器2的重力大于弹性块11竖直向上的弹力,加热器压迫弹性块11下移,致加热器2下表面与电源底座本体1上表面接触,电源底座本体1上表面触动位于加热器2底部的保护开关21,使其接通,加热器电源接口22与电源底座电源接口13亦接通。由于保护开关与加热器电源接口22电源底座电源接口13,在供电回路中成串联态,三者同时接通,加热器通电正常工作。
非正常状态及防干烧保护-当加热器2内被加热含水物体积,因过加热或其他原因,低于电加热器最低允许值时,加热器2的弹性块11竖直向上的弹力,顶升加热器2上移,加热器2上的保护开关21失去电源底座上表面的触动,由接通态转为断开态,加热器2因而失去电源,停止工作,实现保护。极端情况下,万一保护开关21失效,未断开。将进入第二重保护。此时,加热器2内被加热含水物继续加热,体积继续减小。加热器2的重力继续减小,弹性块11将顶升加热器2继续上移,致加热器电源接口22与电源底座电源接口13脱离,完全切断电源实现保护。由于采用双重保护,且利用重力变化切断电源。所以加热器2永远都不会进入干烧状态,大大提高安全度。彻底避免了因加热器2干烧导致的能源浪费、加热器2报废、甚至火灾事故。
如图1至图3所示,所述电源底座还包括与所述弹性块11一一对应设置的安装槽14,所述安装槽14开设在所述底座本体1的上表面外侧边缘处,所述弹性块11的下表面固定在所述安装槽14内,另一端伸出所述安装槽14至所述底座本体1上表面的上侧,这样当加热器2压合所述弹性块11时,弹性块11被压入安装槽14内,这样不会影响加热器2的下表面贴合到电源底座的上表面,从而不影响加热器2正常工作,同时加热器2的下表面能够贴合在所述底座本体1的上表面上,保证加热器2固定的可靠性和稳定性。如图1至图3所示,所述弹性块11呈扇环状,多个扇环状的所述弹性块11在同一个圆周上依次均匀排列,这样能够进一步提高加热器2受力的均匀性。
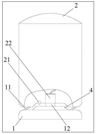
优选地,所述弹性块11设有四个,四个所述弹性块11两两相对设置。如图1至图3所示,所述底座本体1为圆盘状,其中部设有一个圆柱状中空的凸起12,所述凸起12内装有所述电源底座电源接口13,其中本申请中所述弹性块11可以是由塑料材料制成,所述底座本体1也是由塑料材料制成,同时所述底座本体1与所述弹性块11一体成型。
当然,在本申请中所述弹性装置也可以为压缩弹簧,所述底座本体1的上表面设有固定槽,所述压缩弹簧安装在所述固定槽内,压缩弹簧也能够实现提供一个竖直向上的弹力,然后起到防烧干的作用,其宗旨未脱离本实用新型的设计思想,应属于本实用新型的保护范围。
需要说明的是,本申请中所述弹性装置可以是弹性体、弹簧或弹性机构。也可以是弹性体,弹簧或弹性机构之组合,其宗旨未脱离本实用新型的设计思想,应属于本实用新型的保护范围。
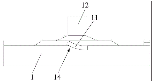
如图4和图5所示,所述加热器2上设有加热器电源接口22,所述加热器2放置在所述电源底座的上侧,所述加热器2上设有与电源底座电源接口13配合的加热器电源接口22。本申请中所述电加热器可以是电热水壶,电饭煲,电热杯,养生杯,电炖锅,电蒸锅,煎药器等,只要是采用电源底座供电的方式,都属于本实施例的设计思想,应属于本实用新型的保护范围。优选地,所述加热器2的下部设有凹陷区4,电源底座的上表面设有与所述凹陷区4配合的凸台3,所述保护开关21安装在所述凹陷区4内;这样当加热器2直接放置在桌面等支撑体上时,保护开关21不会与桌面接触,这样能够减少保护开关21的磨损,防止保护开关21损坏;并且在加热器2放置在电源底座上时,由于电源底座上设有凸台3,因此保护开关21可以与凸台3接触,实现电路的连通,进而加热器得电能够正常工作。保护开关不限于直接触动式,也可以是如电、磁等感应方式。
下面结合附图来说明本申请提供的用于电加热器的重力防干烧装置的工作原理:
所述加热器2的下表面设有保护开关21,具体地,所述保护开关21设置在加热器2的凹陷区4的下表面上,所述保护开关21与所述加热器电源接口22串联,如图5所示,在所述电加热器处于正常工作状态,即加热器2内被加热含水物体积,达到电加热器最低允许值以上时,加热器2的重力大于弹性装置竖直向上的弹力,加热器2压迫弹性装置下移,至凹陷区4的下表面与凸台3的上表面接触,底座上表面触动位于凹陷区4下表面的保护开关21,使其接通,加热器电源接口22与电源底座电源接口13亦接通。由于保护开关21与电源底座电源接口13和加热器电源接口22,在供电回路中呈串联态,三者同时接通,加热器2通电进入正常工作状态。
如图4所示,非正常状态及防干烧保护:当加热器2内被加热含水物体积,因过加热或其他原因,低于加热器2最低允许值时,加热器2的重力小于弹性装置的弹力,弹性装置顶升加热器2上移,加热器2上的保护开关21失去凸台3上表面的触动,由接通态转为断开态,加热器2因而失去电源,停止工作。实现保护。极端情况下,万一保护开关21失效,未断开。将进入第二重保护。此时,加热器2内被加热含水物因继续加热,体积继续减小。加热器2的重力继续减小,弹性装置将顶升加热器2继续上移,至加热器电源接口22与电源底座电源接口13脱离,完全切断电源。实现保护。由于双重保护,且利用重力变化切断电源。所以加热器2永远都不会进入干烧状态。大大提高安全度。彻底避免了因加热器2干烧导致的,能源浪费,加热器2报废,甚至火灾事故。本设计使加热器2绝不会进入干烧状态。实现真正意义上的保护。
当然,在本实施例中所述电加热器可以是电水壶,电饭煲,电热杯,养生杯,电炖锅,电蒸锅,煎药器等,只要是采用电源底座加供电的方式,都属于本实施例的设计思想,应属于本实用新型的保护范围。
在本实用新型的描述中,需要说明的是,术语“上”、“下”、“前”、“后”、“左”、“右”、“内”、“外”等指示的方位或位置关系为基于附图所示的方位或位置关系,仅是为了便于描述本实用新型和简化描述,而不是指示或暗示所指的装置或元件必须具有特定的方位、以特定的方位构造和操作,因此不能理解为对本实用新型的限制。此外,术语“第一”、“第二”仅用于描述目的,而不能理解为指示或暗示相对重要性。
在本实用新型的描述中,需要说明的是,除非另有明确的规定和限定,术语“安装”、“相连”、“连接”应做广义理解,例如,可以是固定连接,也可以是可拆卸连接,或一体地连接;可以是机械连接,也可以是电连接;可以是直接相连,也可以通过中间媒介间接相连,可以是两个元件内部的连通。对于本领域的普通技术人员而言,可以具体情况理解上述术语在本实用新型中的具体含义。此外,在本实用新型的描述中,除非另有说明,“多个”的含义是两个或两个以上。显然,所描述的实施例是本实用新型的一部分实施例,而不是全部的实施例。基于本实用新型中的实施例,本领域普通技术人员在没有做出创造性劳动的前提下所获得的所有其他实施例,都属于本实用新型保护的范围。
以上所述仅为本实用新型的较佳实施例,并不用以限制本实用新型,凡在本实用新型的精神和原则之内,所作的任何修改、等同替换、改进等,均应包含在本实用新型的保护范围之内。



