名称:一种压强变容稳压装置
专利号:202421220428.2
专利权人:朱立成
技术领域
本实用新型涉及压力控制机械领域,具体为一种压强变容稳压装置。
背景技术
在实际应用中,现有的稳压方式是靠排气阀排气卸压,打气泵打气补压,容积固定,导致压力控制范围大,没有稳定压力值,调节速度慢,不能靠自身卸压补压。结合上述现有稳压方式存在的缺点,本实用新型提供了一种压强变容稳压装置。
实用新型内容
本实用新型的目的在于提供一种压强变容稳压装置,以解决上述背景技术中提出的问题。
为实现上述目的,本实用新型提供如下技术方案:
一种压强变容稳压装置,包括法兰、真空罐体和稳压罐体;法兰将压强变容稳压装置分为真空罐体和稳压罐体,真空罐体内装配有活塞A,稳压罐体内装配有活塞B;法兰偏圆心位置设有安装孔位,连接杆从法兰偏圆心孔位穿过,连接杆一端与活塞A连接,连接杆另一端与活塞B连接;
优选的,法兰为扁圆柱形结构,法兰内部一端设有真空通道,法兰内部另一端设有大气通道;真空通道上设置有真空感应开关,真空通道一端与真空罐体的真空腔相通,真空通道另一端与真空泵相连接,大气通道一端与稳压罐体的大气腔B相通,大气通道另一端与外界大气相通;
优选的,活塞A位于真空罐体内,真空罐体被活塞A分为真空腔和大气腔A,真空腔与法兰内部的真空通道相通,大气腔A通过真空罐体上的大气通口与外部大气相通;
优选的,活塞B位于稳压罐体内,稳压罐体被活塞B分为稳压气体腔和大气腔B,稳压气体腔上设置有压缩气体接口、稳压接口、卸压阀、行程感应开关开和行程感应开关关;
优选的,连接杆为圆柱形光杆,连接杆两端安装在活塞A和活塞B的偏圆心孔位上,活塞B上安装有互感器,互感器与行程感应开关开和行程感应开关关组成行程感应开关组;
优选的,真空罐体为圆柱形罐体,内壁光滑,真空罐体一端是半球形,半球形上有大气通口,另一端用螺栓固定在法兰的一边,真空罐体与法兰结合处设有密封圈;
优选的,稳压罐体为圆柱形罐体,内壁光滑,稳压罐体一端是半球形,另一端用螺栓固定在法兰的另一边;
优选的,活塞A的圆心、活塞B的圆心与法兰的圆心在一条直线上,该直线与连接杆轴心线平行。
与现有技术相比,本实用新型的有益效果是:
1、利用作用在活塞A上的恒定大气压力反作用在稳压气体腔里的气体上,通过改变稳压气体腔的容积即增容卸压减容补压,以此来实现设备气室气体的压力保持稳定。
2、活塞A、活塞B与法兰三个圆心在一条直线上,连接杆轴心线与该直线平行,间隔1到2毫米,保证活塞A、活塞B在本装置中只能轴向运动,不能在本装置中旋转。确保感应开关组不错位,能正常工作。
附图说明
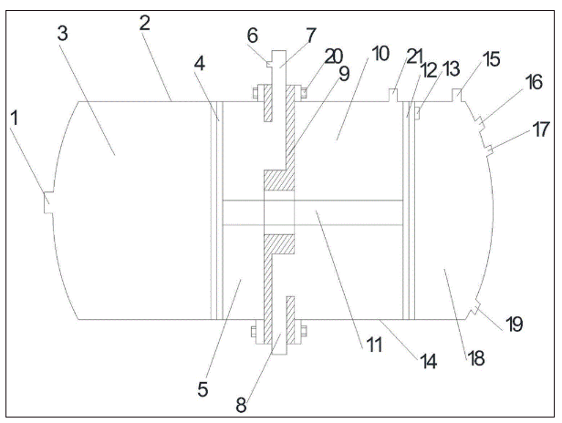
图1为本实用新型的整体结构示意图;
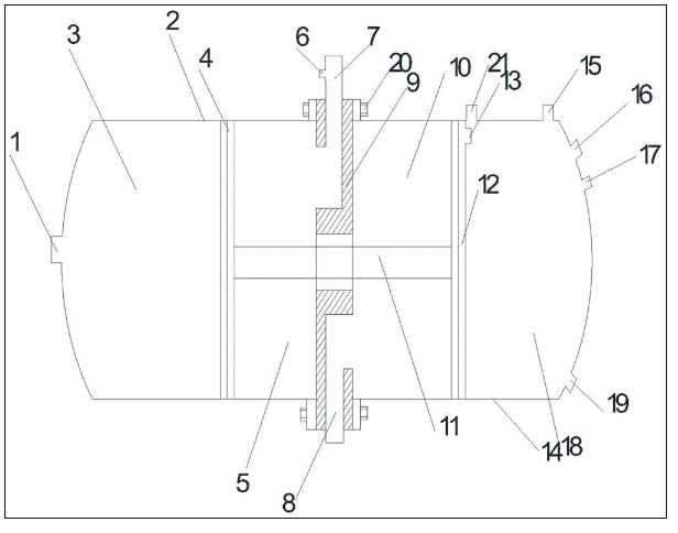
图2为本实用新型中设备气室容量较小时运动状态图;
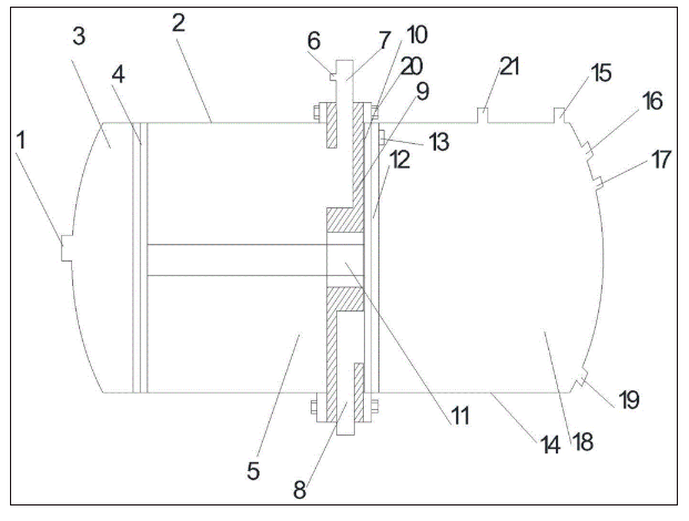
图3为本实用新型中设备气室容量正常时运动状态图;
图4为本实用新型中设备气室容量过大时运动状态图。
图中:1大气通口,2真空罐体,3大气腔A,4活塞A,5真空腔,6真空感应开关,7真空通道,8大气通道,9法兰,10大气腔B,11连接杆,12活塞B,13互感器,14稳压罐体,15行程感应开关开,16压缩气体接口,17卸压阀,18稳压气体腔,19稳压接口,20螺栓,21行程感应开关关。
具体实施方式
下面将结合本实用新型实施例中的附图,对本实用新型实施例中的技术方案进行清楚、完整地描述,显然,所描述的实施例仅仅是本实用新型一部分实施例,而不是全部的实施例。基于本实用新型中的实施例,本领域普通技术人员在没有做出创造性劳动前提下所获得的所有其他实施例,都属于本实用新型保护的范围。
在本实用新型的描述中,需要理解的是,术语“中心”、“纵向”、“横向”、“长度”、“宽度”、“厚度”、“上”、“下”、“前”、“后”、“左”、 “右”、“竖直”、“水平”、“顶”、“底”、“内”、“外”、“ 顺时针”、“逆时针”等指示的方位或位置关系为基于附图所示的方位或位置关系,仅是为了便于描述本实用新型和简化描述,而不是指示或暗示所指的设备或元件必须具有特定的方位、以特定的方位构造和操作,因此不能理解为对本实用新型的限制。
在本专利的描述中,需要说明的是,除非另有明确的规定和限定,术语“安装”、“相连”、“连接”、“设置”应做广义理解,例如,可以是固定相连、设置,也可以是可拆卸连接、设置,或一体地连接、设置。对于本领域的普通技术人员而言,可以根据具体情况理解上述术语在本专利中的具体含义。
此外,术语“第一”、 “第二”仅用于描述目的,而不能理解为指示或暗示相对重要性或者隐含指明所指示的技术特征的数量。由此,限定有“第一”、“第二”的特征可以明示或者隐含地包括一个或者更多个该特征。在本实用新型的描述中,“若干”的含义是两个或两个以上,除非另有明确具体的限定。
参考图1所示,本实用新型提供的一种压强变容稳压装置,包括法兰9、真空罐体2和稳压罐体14;法兰9将压强变容稳压装置分为真空罐体2和稳压罐体14,真空罐体2内装配有活塞A4,稳压罐体14内装配有活塞B12;法兰9偏圆心位置设有安装孔位,连接杆11从法兰9偏圆心孔位穿过,连接杆11一端与活塞A连接,连接杆11另一端与活塞B连接。
法兰9内部一端设有真空通道7,法兰9内部另一端设有大气通道8;真空通道7上设置有真空感应开关6,真空通道7一端与真空罐体2的真空腔5相通,真空通道7另一端与真空泵相连接,大气通道8一端与稳压罐体14的大气腔B10相通,大气通道8另一端与外界大气相通。
活塞A4把真空罐体2分为大气腔A3和真空腔5,活塞A4上装有密封圈;活塞B12把稳压罐体14分为大气腔B10和稳压气体腔18,活塞B12上也装有密封圈;连接杆11为圆柱形光杆,连接杆11从法兰中间的圆形安装孔位穿过,一端位于真空罐体2内,另一端位于稳压罐体14内,活塞A4和活塞B12为扁圆柱形状,环绕四周都有密封圈安装槽,安装槽中安装有密封圈;活塞A4和活塞B12偏圆心位置设有安装孔位,分别位于真空罐体2和稳压罐体14内,连接杆11两端安装在活塞A4和活塞B12的偏圆心孔位上,活塞B12上安装有互感器13,与行程感应开关开15和行程感应开关关21组成行程感应开关组。
法兰9为扁圆柱形结构,法兰9偏圆心安装孔位内安装有连接杆密封圈,其外缘有螺栓孔,偏圆心位置设有安装孔位,法兰9内部有一个真空通道7,一个大气通道8,真空通道7一端与真空罐体2的真空腔5相通,另一端通过高压气管与真空泵相连接,大气通道8一端与稳压罐体14的大气腔B10相通,另一端与外界大气相通。真空罐体2为圆柱形罐体,内壁光滑,一端是半球形,半球形上有一个大气通口1,另一端与法兰9结合处有密封圈。
真空罐体2用螺栓20固定在法兰9的一边,将活塞A4分成真空腔5和大气腔A3,真空腔5与法兰9内的真空通道7相通,大气腔A3通过真空罐体2上的大气通口1与外部大气相通。
稳压罐体14为圆柱形罐体,内壁光滑,一端是半球形封闭,另一端用螺栓20固定在法兰9的另一边。稳压罐体14被活塞B12分成稳压气体腔18和大气腔B10,稳压气体腔18上设置有压缩气体接口16、稳压接口19、卸压阀17、行程感应开关开15和行程感应开关关21。
活塞A、活塞B与法兰三个圆心在一条直线上,连接杆轴心线与该直线平行,间隔1到2毫米。其作用是保证活塞A、活塞B在本装置中只能轴向运动,不能在本装置中旋转。确保感应开关组不错位,能正常工作。
真空罐体2里的活塞A4,其中一个面的顶端圆面积用S1表示,稳压罐体14里的活塞B12,其中一个面顶端面积用S2表示,在实际运用过程中,S1>S2,稳压气体腔里的稳定压力值就大,S1<S2,稳压气体腔里的稳定压力值就小,通过活塞面积的变化可以得到不同的稳定压力值,每一个压强变容稳压装置只有一个稳定压力值,根据需要稳压设备的气室工作时,气体容量变化的大小和要达到的稳定压力值,选择匹配的装置。
工作之初,活塞A4和活塞B12在图2位置,真空罐体2上的大气通口1和法兰9内的大气通道8始终处于开放状态,和外界大气相通;
第一步,稳压接口19通过气管连接需要稳压的设备,法兰9上的真空通道8连接真空泵,压缩气体接口16连接打气泵;
第二步,连接好真空感应开关6与真空泵电源线,连接好行程感应开关开、行程感应开关关与打气泵电源线;
第三步,为电气设备通电,真空感应开关6接通真空泵电源,真空泵工作,将真空腔5抽真空,达到真空时真空感应开关6自动断开电源,真空泵停止工作;
此时稳压罐体14里的活塞B处于行程感应开关开15的位置,即图2的位置。行程感应开关开15感应到活塞B12上的互感器13,接通打气泵电源,打气泵工作并向稳压气体腔18打气,当达到一定压力即稳定压力值时,继续打气,压力开始推动活塞A4、活塞B12和连接杆11同时移动,真空腔5体积变大,稳压气体腔18体积变大,但活塞B12运动到行程感应开关关21的位置时(是活塞部件运动总行程的中间位置),即图3位置,行程感应开关关21感应到活塞B12上的互感器13,行程感应开关关21即关闭打气泵电源,打气泵停止工作,活塞B12停留在图3所示位置,此时本装置进入工作状态,稳压气体腔18中的压力达到需要稳压设备气室内的气体压力;
第四步,参考图3,作用在活塞A4、活塞B12和连接杆11这个固定体上有两个力,一个是作用在真空罐体2里活塞A4上的大气压力用F1表示,一个是作用在稳压罐体14内的活塞B12受到压缩气体的压力,用F2表示,此时F1=F2,活塞A4和活塞B12在图3标志的位置不动,由于大气压强不变,真空罐体2里的活塞A4面积不变,因此F1这个力始终不变,即通过活塞A4、活塞B12、连接杆11作用在稳压气体腔18气体上的压力不变,是个恒力,从而使稳压气体腔18有一个稳定的压力值,当设备气室的气体容量或压力变大时,气体会进入稳压气体腔18,此时F2这个力会增大,即F1<F2,活塞A4、活塞B12、连接杆11随之移动,稳压气体腔18体积增大,直到F1=F2时停止,此时对设备气室起到一个增容稳压的作用。当设备气室气体容量和压力都变小时,稳压气体腔18中的气体会进入此设备的气室,即F1>F2,活塞A4、活塞B12、连接杆11也随之移动,稳压气体腔18体积变小,直到F1=F2时停止,对设备气室气体起到一个缷容稳压的作用;
从工作流程中能够看出,F1这个力是个恒力,作用在稳压气体腔18的气体上,使稳压气体腔18有一个稳定压力值,保证了稳压气体腔18中的气体压力稳定,活塞A4、活塞B12在稳压气体腔18气压变化时能够移动,可以通过变容来卸压补压,稳压速度快,气体不外泄,打气泵工作频率少的诸多优点。
另外,实际工作中还有以下情况:
第一种情况,当真空腔5真空度达不到要求时,真空感应开关6自动接通真空泵电源,为真空腔5抽真空,达到要求时,自动断开电源,停止抽真空;
第二种情况,当设备气室容量增加的比较大,超出的本装置的容量范围,活塞A4和活塞B12处于图4的位置,稳压气体腔18内的气压升高,由稳压罐体14上的卸压阀17向外排气,来维持其容量和压力稳定;
第三种情况,当设备气室容量减少的比较大,超出了自身补充容量的限度,活塞A4和活塞B12会在图2标注的位置,行程感应开关开15会感应到活塞B12上的互感器13并接通打气泵电源,打气泵会给稳压气体腔18增容补压,当活塞B12移动到行程感应开关关21,即图3的位置时,关闭打气泵电源,打气泵停止工作,以此来维持其容量和压力稳定。
本装置可以用在反应釜上,为反应釜提供一个精准恒定的工作压力,也可以用在减震气囊上,快速的吸收和补充震动带来的气囊内的压力变化,最大程度的降低震动。
以上显示和描述了本实用新型的基本原理、主要特征和本实用新型的优点。本行业的技术人员应该了解,本实用新型不受上述实施例的限制,上述实施例和说明书中描述的仅为本实用新型的优选例,并不用来限制本实用新型,在不脱离本实用新型精神和范围的前提下,本实用新型还会有各种变化和改进,这些变化和改进都落入要求保护的本实用新型范围内。本实用新型要求保护范围由所附的权利要求书及其等效物界定。


