名称:一种径流型悬浮式水力发电装置
专利号:202420454481.2
专利权人:王恩礼
技术领域
本实用新型属于水力发电技术领域,特别涉及一种径流型悬浮式水力发电装置。
背景技术
在目前已经成熟的可再生能源发电利用中,水力发电以其较低的运行成本和清洁、可靠的能量输出方式,在电能生产结构中占据极其重要的份额。然而传统的水力发电装置,需要投入巨资建设蓄水大坝,再利用水位差产生的高位势能发电。由于建坝地点的选择,只能是具备峡谷条件的山区,并且将面临移民搬迁、生态的保护等一系列棘手问题,投资巨大,建设周期长,特别是经过近百年来水电建设的不断发展,具有较好开发利用价值的坝址已十分有限,这极大地制约了水利资源更大规模的发电利用。
其实,滚滚流淌的江河水流,蕴含着无尽的能量,如果能加以发电利用,则将是一种取之不尽的可再生清洁能源。目前国内外许多科研企业已经在探索江河、溪流等低位势能水力资源的发电利用,市面上也已出现一些利用低水头动能的发电装置。然而由于江河,溪流等流动水源因流速慢,势能小,加之受河道景观、水运、结冰等方面限制条件的制约,这些水力发电装置只能安装在高流速的溪流水面,由于发电功率都很小,又难以长期安装运行,因此对河流的能量的利用率极低,且无法形成规模发电。为了克服现有低势能水力发电装置的弊端,本实用新型设计了一种径流型悬浮式水力发电装置。
实用新型内容
基于此,本实用新型提供一种径流型悬浮式水力发电装置。
本实用新型解决上述技术问题的技术方案如下:
一种径流型悬浮式水力发电装置,包括转轴、若干叶轮、托架、浮起件、发电机及下沉件,所述转轴水平设置,若干所述叶轮依次套接在所述转轴上,所述托架设置在所述叶轮上方,且所述托架与所述转轴的两端端部套接,所述浮起件固定设置在所述托架上,且位于所述叶轮上方或两侧,所述发电机设置在所述托架上或所述浮起件内,且与任意一个叶轮连接,所述下沉件与所述托架连接,所述下沉件下沉至河底或江底,并将所述浮起件拖至水面以下。
优选地,多台所述发电机形成发电模块,构成一体式矩阵结构,所述矩阵结构可以为平面矩阵或垂直矩阵中的任意一种,所述垂直矩阵可设置为多层,多个所述发电模块通过并联方式对外输出电能。
优选地,所述叶轮包括扇叶及外轮毂,所述扇叶套接在所述转轴上,所述外轮毂套设在所述扇叶的外侧。
优选地,所述叶轮直径可设置为半径相同或半径依次增大进行排列。
优选地,所述叶轮还包括套环及皮带,所述套环套接在所述外轮毂上,所述皮带套接在所述套环上,且所述皮带套接在所述发电机上。
优选地,所述托架包括支架及支杆,所述支架设置在所述叶轮上方,所述支架用于支撑所述浮起件及发电机,所述支杆设置在所述支架两侧,所述支杆的一端与所述支架固定连接,另一端套接在所述转轴上。
优选地,所述支杆为直条状、倒三角状、M型、矩形中的任意一种。
优选地,所述浮起件包括单一式浮筒或多个拼接形成的浮筒。
优选地,所述下沉件包括缆绳及锚石,所述缆绳的一端与所述托架固定连接,所述锚石与所述缆绳的另一端固定连接。
优选地,沿竖直方向上,所述转轴的倾斜角度为0-45°。
优选地,一种径流型悬浮式水力发电装置,还包括防护罩,所述防护罩设置在转轴一端端部,且位于靠近所述发电机一侧,所述防护罩与所述托架固定连接。
优选地,一种径流型悬浮式水力发电装置,还包括导流罩,所述导流罩呈半圆筒形,所述导流罩覆盖在若干所述叶轮外侧,且位于所述叶轮上半部。
与现有技术相比,本实用新型至少具有以下优点:
1、本实用新型利用了河流的低位势能,而这种低位势能在整条河流中无处不在,又可连续重复利用,且不受地理、通航、景观、生态及天气、时间等诸多条件的限制;由于本发电装置的叶轮采用了同轴多级设置方案,使水力的动能同时作用在多个叶轮上,相当于增大了叶轮的迎水面。这样,可以较小的叶轮直径获得更大的机械扭矩,使单机发电功率可以达到数十至数百千瓦,进而提供强大的电力能源
2、本实用新型采取通过设置所述浮起件及下沉件,用于将所述浮起件和发电机安装在所述托架上,使整个发电装置漂浮在水面上,安装时只需将所述托架与所述下沉件相连接,通过调节所述下沉件,可随意控制该发电装置的不同下潜深度。机组运行时整个发电装置是在水面以下,处于半潜浮状态,这种设计不仅可以确保河道的通航安全和有效避开浮冰、漂浮物等异物损伤该发电装置,同时也不会对河道景观造成破坏。检修时只需要将所述托架与所述下沉件相互脱离,使该发电装置浮出水面,即可方便进行维护保养。
附图说明
图1为一种径流型悬浮式水力发电装置(纵列型)轴测示意图。
图2为一种径流型悬浮式水力发电装置(纵列型)主视图。
图3为一种径流型悬浮式水力发电装置(纵列型)左视图。
图4为一种径流型悬浮式水力发电装置(纵列型)俯视图。
图5为一种径流型悬浮式水力发电装置(横列型)主视图。
图6为一种径流型悬浮式水力发电装置(横列型)左视图。
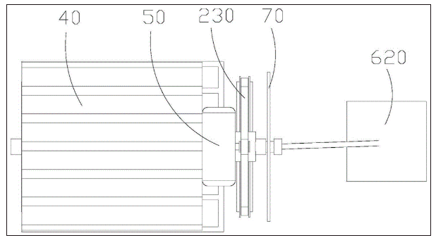
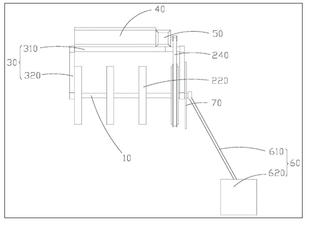
图中:转轴10、叶轮20、扇叶210、外轮毂220、套环230、皮带240、托架30、支架310、支杆320、浮起件40、发电机50、下沉件60、缆绳610、锚石620、防护罩70、导流罩80。
具体实施方式
需要说明的是,在不冲突的情况下,本实用新型中的实施例及实施例中的特征可以相互组合。以下将结合本实用新型实施例的附图,对本实用新型的技术方案做进一步描述,本实用新型不仅限于以下具体实施方式。
需要理解的是,实施例的附图中相同或相似的标号对应相同或相似的部件。在本实用新型的描述中,需要理解的是,若有术语“上”、“下”、“前”、“后”、“左”、“右”、“顶”、“底”等指示的方位或位置关系为基于附图所示的方位或位置关系,仅是为了便于描述本实用新型和简化描述,而不是指示或暗示所指的设备或元件必须具有特定的方位、以特定的方位构造和操作,因此附图中描述位置关系的用语仅用于示例性说明,不能理解为对本专利的限制,对于本领域的普通技术人员而言,可以根据具体情况理解上述术语的具体含义。
实施例1至图4,纵列型径流型悬浮式水力发电装置,请参看图1,包括转轴10、若干叶轮20、托架30、浮起件40、发电机50及下沉件60,所述转轴10水平设置,若干所述叶轮20依次套接在所述转轴10上,所述托架30设置在所述叶轮20上方,且所述托架30与所述转轴10的两端端部套接,所述浮起件40固定设置在所述托架30上,所述发电机50设置在所述托架30上或所述浮起件40内,且与任意一个叶轮20连接,所述下沉件60与所述托架30连接,所述下沉件60下沉至河底或江底,并将所述浮起件40拖至水面以下。所述纵列型径流型悬浮式水力发电装置,多用于水深而窄的河道环境;所述叶轮20为水力发电常见叶轮20,叶轮20的形状既可以是风扇叶210片状,也可以为阿基米德螺旋状,若干所述叶轮20依次套接在所述转轴10上,并形成一组叶轮20组,组成叶轮20组形成合力,以增加所述转轴10输出的扭矩,将若干所述叶轮20中的任意一个叶轮20作为主动轮,其他叶轮20作为副动轮,将主动轮与所述发电机50连接,连接方式可通过皮带240连接或链条连接中的任意一种,水流通过叶轮20组后,在水流冲击下,带动所述叶轮20转动,所述叶轮20转动带动所述发电机50转动,为所述发电机50输出动力,所述发电机50均采用经过密封处理过的永磁体发电机50,发电机50的输出电源线,经所述托架30并与负载连接。一般的,由于所述叶轮20上的齿圈直径较大,而所述发电机50上的齿圈直径较小,因而即使河水流速较慢,也可使所述发电机50获得所需的转速和扭矩;所述托架30上设置有一对轴承组,所述转轴10穿过一对轴承组,与所述托架30形成可转动连接,同时,所述托架30上固定所述浮起件40或发电机50,起到支撑的作用;所述浮起件40是由金属或非金属材料制成的中空结构,其作用一是为该发电装置提供浮力,使其悬浮在水中,二是防护相邻或水流上方的发电装置,因水流异常造成该发电装置相互碰撞,对叶轮20造成损伤,同时也兼具导流功能,使叶轮20获得更集中的水力动能,因此宜安装在叶轮20组的上方或两侧;为了确保该发电装置能够在水中处于半潜浮状态,即水面以下若干米,以避开船只或水面漂浮物对该发电装置的冲击,在该发电装置的迎水面上,装设所述下沉件60,所述下沉件60能够下沉至河底或江底,并固定,用于固定该发电装置。
达到的效果:1、本实用新型利用了河流的低位势能,而这种低位势能在整条河流中无处不在,又可连续重复利用,且不受地理、通航、景观、生态及天气、时间等诸多条件的限制;由于本发电装置的叶轮20采用了同轴多级设置方案,使水力的动能同时作用在多个叶轮20上,相当于增大了叶轮20的迎水面。这样,可以较小的叶轮20直径获得更大的机械扭矩,使单机发电功率可以达到数十至数百千瓦,进而提供强大的电力能源。
2、本实用新型采取通过设置所述浮起件40及下沉件60,用于将所述浮起件40和发电机50安装在所述托架30上,使整个发电装置漂浮在水面上,安装时只需将所述托架30与所述下沉件60相连接,通过调节所述下沉件60,可随意控制该发电装置的不同下潜深度。机组运行时整个发电装置是在水面以下,处于半潜浮状态,这种设计不仅可以确保河道的通航安全和有效避开浮冰、漂浮物等异物损伤该发电装置,同时也不会对河道景观造成破坏。检修时只需要将所述托架30与所述下沉件60相互脱离,使该发电装置浮出水面,即可方便进行维护保养。
在一种可能的实施例中,多台所述发电机形成发电模块,构成一体式矩阵结构,所述矩阵结构可以为平面矩阵或垂直矩阵中的任意一种,所述垂直矩阵可设置为多层,多个所述发电模块通过并联方式对外输出电能。具体的对于江面较宽50-80米,深度较浅5-20米的河流,采用平面矩阵排列,使多台所述发电机形成发电模块,由所述浮起件及托架支撑,并通过所述下沉件牵引住该发电装置;对于江面较窄10-30米,深度较深20-50米的河流,采用垂直矩阵排列,即沿竖直方向上进行排列,使多台所述发电机形成发电模块,由所述浮起件及托架支撑,并通过所述下沉件牵引住该发电装置
在一种可能的实施例中,参见图1,所述叶轮20包括扇叶210及外轮毂220,所述扇叶210套接在所述转轴10上,所述外轮毂220套设在所述扇叶210的外侧。所述扇叶210既可以是风扇叶210片状,也可以为阿基米德螺旋状,所述外轮毂220的宽度可根据扇叶210的宽度进行调节,所述外轮毂220采用无机耐腐蚀材料制造,没有锋利的叶刃,加之叶轮20转速较慢,不会对水生动植物造成伤害,也减少了异物对叶轮20的缠绕,这将有利于维护水生动植物的原始生态。
在一种可能的实施例中,所述叶轮直径可设置为半径相同或半径依次增大进行排列。半径依次增大的若干叶轮能够增大与水流的相对面增大,为所述叶轮提供动力。
在一种可能的实施例中,参见图1,所述叶轮20还包括套环230及皮带240,所述套环230套接在所述外轮毂220上,所述皮带240套接在所述套环230上,同时所述皮带240套接在所述发电机50上。所述套环230可套接在若干所述叶轮20任意一个叶轮20上,并固定,所述套环230上设置有凹槽,所述皮带240能够卡接在所述凹槽内,同时,所述皮带240套接在所述发电机50上,进而所述叶轮20转动带动所述发电机50转动,用于输出动力。
在一种可能的实施例中,参见图2,所述托架30包括支架310及支杆320,所述支架310设置在所述叶轮20上方,所述支架310用于支撑所述浮起件40及发电机50,所述支杆320设置在所述支架310两侧,所述支杆320的一端与所述支架310固定连接,另一端套接在所述转轴10上,所述支杆320上设置有一对轴承,所述转轴10套接在轴承上,实现所述支杆320与所述转轴10可转动连接。所述支杆320既可以为单个的独立结构,也可以是将多台叶轮20和发电机50相互连接为一体的整体结构并共用一组所述浮起件40。
具体的,所述支杆320为直条状。
具体的,所述支杆320为倒三角状。
具体的,所述支杆320为M型。
具体的,所述支杆320为矩形。
在一种可能的实施例中,参见图4,所述浮起件40包括单一式浮筒或多个拼接形成的浮筒。若干浮筒之间可以相互拆卸,可根据串联的所述叶轮20数量选择合适数量的浮筒,同时,当单个浮筒损坏时,可进行更换,方便简单。
在一种可能的实施例中,所述下沉件60包括缆绳610及锚石620,所述缆绳610的一端与所述托架30固定连接,所述锚石620与所述缆绳610的另一端固定连接。所述缆绳610的作用是将该发电装置与锚或锚石620连接,用于使该发电装置固定在河流最佳位置。其一端拴在所述支杆320上,根据所需下潜深度,调整缆绳610的长度后,将另一端系在锚石620或锚上并将发电机50的输出线连接好后,将锚石620投入河底,既可安置好发电装置。
在一种可能的实施例中,沿竖直方向上,所述转轴10的倾斜角度为0-45°。由于该发电装置在水中呈半潜状态,水流的流速并不是标准流速,当水中出现急流或湍流时,会带动所述浮起件40进行摆动,使所述转轴10进行倾斜,进而带动所述叶轮20倾斜,倾斜状态下的叶轮20能够更好的迎合水流,进而带动所述叶轮20转动。
在一种可能的实施例中,一种径流型悬浮式水力发电装置,还包括防护罩70,所述防护罩70设置在转轴10一端端部,且位于靠近所述发电机50一侧,所述防护罩70与所述托架30固定连接。所述防护罩70能够防止水中游离的水草或者异物穿过所述叶轮20,缠绕在所述叶轮20上,只需要定期清理防护罩70或者更换防护罩70即可,所述防护罩70之间的间隙应设置较宽,防止水流穿过所述叶轮20时,进行阻碍。
具体的,所述防护罩70为圆孔型防护罩。
具体的,所述防护罩70为条形防护罩。
实施例2,参见图5及图6,横列型径流型悬浮式水力发电装置,适用于水浅而宽的河流环境。所述叶轮20形状类似一种滚筒结构。具体是将弧面长条形状的单一叶片,等距排列安装在一个中空结构,两端安装在所述浮起件40上,所述叶轮20既可以为所述发电机50提供动力,同时也可以为整个发电装置提供所需浮力;在所述叶轮20两端装设有所述外轮毂220,安装有齿圈或皮带240轮,用于连接所述发电机50;所述下沉件60的与所述托架30连接,用于固定该发电装置,使发电装置在水中可自由寻找最佳迎水面。还设置有导流罩80,所述导流罩80呈半圆筒形,所述导流罩80覆盖在若干所述叶轮20外侧,且位于所述叶轮20上半部。其作用一是将叶轮20迎水面上部的水流,导向下部叶片,使叶轮20的上方和下方形成静态和动态两种水的压力差,以提高所述叶轮20对流水动能的利用效率;二是为减小或避免漂浮物对所述叶轮20的冲击或缠绕。
显然,本实用新型的上述实施例仅仅是为清楚地说明本实用新型所作的举例,而并非是对本实用新型的实施方式的限定。对于所属领域的普通技术人员来说,在上述说明的基础上还可以做出其它不同形式的变化或变动。这里无需也无法对所有的实施方式予以穷举。凡在本实用新型的精神和原则之内所作的任何修改、等同替换和改进等,均应包含在本实用新型的保护范围之内。




