名称:旋转切换式健身器材
专利人: 黄伟振
专利号:202220196370.7
技术领域
本实用新型涉及的是一种旋转切换式健身器材,该种器材可以切换到多种健身模式。
背景技术
当今健身器材普遍功能单一,占地面积大,对家庭、办公室、小型健身工作室购买健身器材造成极大不便。
实用新型内容
本实用新型需要解决的技术问题是提供一种旋转切换式健身器材,该种器材可以切换到不同的使用模式,操作方便。
本实用新型可以采取如下技术方案:
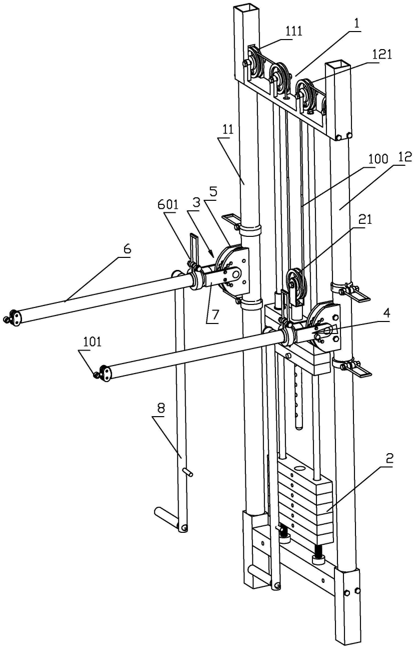
一种旋转切换式健身器材,包括主框架、重量砝码、左活动机构、右活动机构、拉绳;左活动机构、右活动机构各包括调节盘、动力臂、连接叉、固定轨迹把手;连接叉的叉端与调节盘可转动连接,调节盘上设有多个调节孔,连接叉的叉端设有固定孔,通过插销连接调节孔与固定孔调节连接叉与调节盘间的相互角度;连接叉的柄端与动力臂的尾端可转动连接使动力臂可绕自身轴转动;固定轨迹把手的尾端通过转轴与动力臂的尾端可转动连接,固定轨迹把手的头端设有握把;动力臂尾端通过快速锁紧装置锁紧于连接叉的柄端;左活动机构的调节盘、右活动机构的调节盘分别对应连接于主框架的左柱、右柱;
拉绳的两端各从对应动力臂的尾端穿过相应动力臂连接位于动力臂的头端的连接器,拉绳的中部绕过左柱顶滑轮、右柱顶滑轮、重力滑轮,左柱顶滑轮、右柱顶滑轮分别对应位于左柱、右柱的上部,重力滑轮可转动连接连杆,连杆连接重量砝码;
固定轨迹把手的头端附近设有连接杆。
本实用新型解决问题还可以进一步采取以下改进措施:
进一步的改进为:左活动机构的调节盘固定于左转筒,左活动机构的调节盘通过左转筒可转动连接于主框架的左柱,所述左转筒通过快速锁紧装置锁紧于左柱上;右活动机构的调节盘固定于右转筒,右活动机构的调节盘通过右转筒可转动连接于主框架的右柱,所述右转筒通过快速锁紧装置锁紧于右柱上。
进一步的改进为:调节盘处设有中间滑轮组,拉绳绕过所述中间滑轮组。
进一步的改进为:动力臂的头端设有端部滑轮组,拉绳的两端各绕过对应的端部滑轮组。
进一步的改进为:连接叉的柄端与动力臂的尾端接插式连接,连接叉的柄端与动力臂的尾端都为相配的筒状;连接叉的柄端设有缝。
进一步的改进为:左柱为与左转筒相配的筒状,左转筒的上下两端各与左柱的上段、下段接插式连接;右柱为与右转筒相配的筒状,右转筒的上下两端各与右柱的上段、下段接插式连接。
进一步的改进为:固定轨迹把手的尾端与动力臂的尾端通过轴承可转动连接。
进一步的改进为:固定轨迹把手与动力臂相互平行。
进一步的改进为:连接器上设有圆孔。
上述技术方案具有这样的技术效果:
1、本实用新型具有两种工作模式,切换操作方便。可以适用小场所,需要多种健身功能的消费群体的需要。
2、本实用新型调节方便,可以不同角度按需求调整角度。满足不同健身姿势、身材的消费者的需要。







