名称:一种旋转捶打式足底按摩器
专利人: 聂春波
专利号:202222261514.5
技术领域
本实用新型涉及一种旋转捶打式足底按摩器,属于保健技术领域。
背景技术
在中医经络理论中,经络的功能是主导全身气血运行。足底部是关联五脏六腑生理反射区的重要经络,对五脏六腑乃至全身的气血运行具有重要影响。经络的特点是喜动不喜静,动则通不动则瘀,如果缺少运动或健康调理,就很容易在不知不觉中发生经络瘀滞而导致脏腑功能低下甚至发生病症。因此,做好足底部的疏通保健,对维护和增强脏腑功能,提高整体健康长寿水平具有重要的实际作用。
目前市场上对于足底部按摩保健类产品主要是一些凸齿滚轴类按摩产品,这类产品虽然有些保健效果,但作用力度不足,对经络按摩作用不明显,达不到应有的保健效果。
发明内容
本实用新型所要解决的技术问题是提供一种对足底生理反射区的经络进行疏通保健的旋转捶打式足底按摩器。
本实用新型采用如下技术方案:
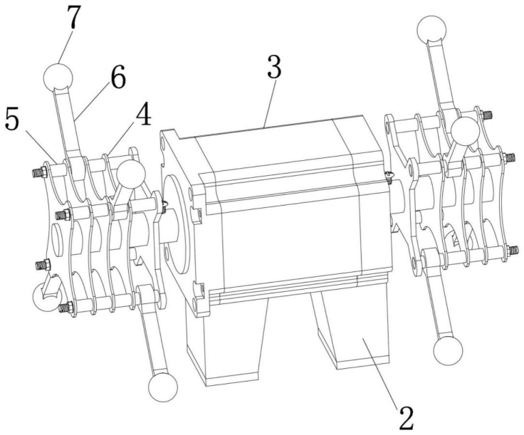
本实用新型包括箱式护罩、固定安装在箱式护罩内的底座、固定安装在底座顶部的小型变速电机、水平对称固定安装在小型变速电机两端传动轴上的组合转臂、安装在组合转臂上的与足底对应的捶打按摩装置以及安装在箱式护罩外侧的腿部支撑装置。
本实用新型组合转臂包括均匀间隔固定安装在小型变速电机传动轴上的若干个方形旋转安装板以及与方形旋转安装板每个顶角串连固定的固定轴;相串连的方形旋转安装板的总体宽度与足底宽度相匹配;所述捶打按摩装置包括转动安装在相邻两个方形旋转安装板之间的固定轴上的旋转柄以及与每个旋转柄端部固定的柔性捶打球;相邻两个旋转柄呈交错设置。
本实用新型腿部支撑装置包括设置在箱式护罩两侧板顶面后端上的安装孔、分别插装在相应安装孔内的调节杆以及固定安装在两个调节杆顶部之间的腿部支撑板;在所述调节杆下部间隔均匀设置调节螺孔,在箱式护罩两侧板外侧分别设置与安装孔连通的固定螺孔;调节杆插入安装孔,相应的调节螺孔与固定螺孔通过螺栓固定。
本实用新型在箱式护罩上设置盖板,在盖板两侧设置捶打口,柔性捶打球捶打时通过捶打口捶打足底。
本实用新型所述捶打口宽度和相串连的方形旋转安装板的总体宽度均与脚掌宽度匹配。
本实用新型方形旋转安装板为五个,相应的旋转柄和柔性捶打球均为四个;每个方形旋转安装板两个顶角之间的边下凹。
本实用新型旋转柄为弹性材料,柔性捶打球为尼龙或树脂材料。
本实用新型在箱式护罩侧板上对称安装把手。
本实用新型积极效果如下:本实用新型在小型变速电机两侧的传动轴上水平对称设组合转臂,每侧组合转臂上通过轴连接的旋转柄和与其相连的柔性捶打球呈交错设置。工作时,通过调节小型变速电机的转速来调节捶打球的力度大小,使柔性捶打球以对足底进行快速密集捶打,力度活跃强劲,感觉舒爽畅快,对足底生理反射区能够产生良好的经络疏通效应,适合足底部的调理保健。小型变速电机和组合转臂安装在箱式防护罩内,捶打按摩时,柔性捶打球所处按摩位置是在防护罩盖板捶打口的平面以上与足底部相接触捶打按摩,力度适中,对足底经络按摩作用突出,疏通效果好。
通过调节杆高度的调节,使腿部支撑板在合适位置,大腿搭在腿部支撑板上,两小腿自然下垂,使足底部接近柔性捶打球;方形旋转安装板的顶角为圆角,这样可避免尖角刮碰损伤旋转柄。
本实用新型结构简单,不额外占用空间,方便在办公室或家里使用。



