名称:一种营养护理搅拌装置
专利人: 邱晓静
专利号:202020347678.8
技术领域
本实用新型涉及食品加工设备技术领域,尤其涉及一种营养护理搅拌装置。
背景技术
营养物质通过搅拌形成流食有助于儿童对营养的吸收,搅拌是通过搅拌器发生某种循环,使得溶液中的气体、液体甚至悬浮的颗粒得以混合均匀,而为了达到这一目的,需要通过强制对流、均匀混合的器件来实现,即搅拌器的内部构件,搅拌是有机制备中常用的一项操作,目的是能使反应物间充分混合避免由于反应物浓度不均匀局部过大,受热不均匀,导致副反应的发生或有机物分解,通过搅拌,使反应物充分混合、受热均匀,缩短反应时间,提高反应产率。
现有的营养液搅拌装置大多采用一个刀片工作,一个刀片的工作方式存在刀片磨损速度快,搅拌破碎食物不均匀的问题,使营养液呈糊状,不利于儿童下咽;其次,由于儿童进食时间不规律,大多的搅拌装置都具有加热保温功能,但是大多数的加热装置为设置于搅拌装置底部的加热盘,此种加热方式存在营养液受热不均匀,底部温度高顶部温度低的问题。
实用新型内容
本实用新型的目的在于:为了解决现有营养液搅拌装置搅拌以及加热不均匀的问题,而提出的一种营养护理搅拌装置。
为了实现上述目的,本实用新型采用了如下技术方案:
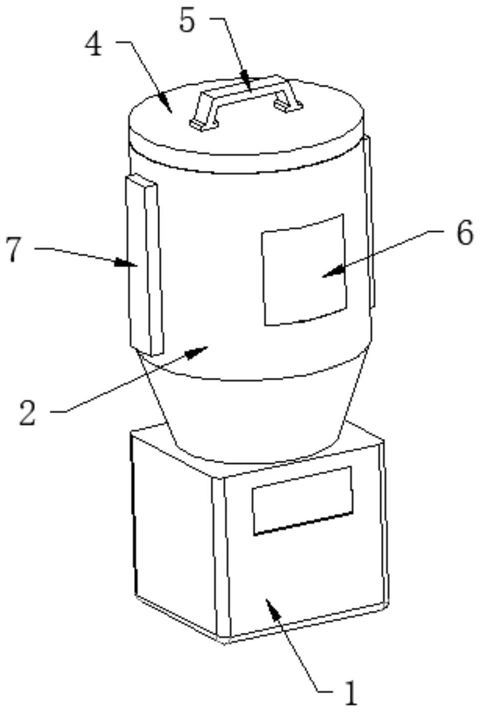
一种营养护理搅拌装置,包括底座,所述底座的内部设有电机和控制器,所述底座的顶部固定连接有保温桶,所述保温桶的内部底表壁设有搅拌部;
所述搅拌部包括固定管,所述固定管的内侧设有驱动轴,所述驱动轴的顶部固定连接有搅拌刀片,所述搅拌刀片的底部固定连接有驱动齿轮,所述固定管的外侧套接有轴承套,所述轴承套的外侧套接有另一个搅拌刀片,且该搅拌刀片的顶部固定连接有另一个驱动齿轮,所述固定管的侧表壁转动连接有传动齿轮。
作为上述技术方案的进一步描述:
所述固定管的顶部嵌设有密封轴承,所述密封轴承套接于驱动轴的外侧。
作为上述技术方案的进一步描述:
所述驱动齿轮和传动齿轮均为伞齿轮,并且相互啮合连接。
作为上述技术方案的进一步描述:
所述保温桶的顶部设有可拆卸的密封盖,所述密封盖的顶部固定连接有提手。
作为上述技术方案的进一步描述:
所述保温桶的侧表壁嵌设有观察窗。
作为上述技术方案的进一步描述:
所述保温桶的侧表壁固定连接有壳体,所述壳体的内侧固定连接有加热管,所述保温桶的底部设有温度传感器。
作为上述技术方案的进一步描述:
所述加热管和温度传感器均与控制器电连接。
综上所述,由于采用了上述技术方案,本实用新型的有益效果是:
1、本实用新型中,底座上设置了保温桶,保温桶内部设置了搅拌部,搅拌部设置了固定管,固定管的内侧设置了驱动轴,驱动轴上设置了搅拌刀片,搅拌刀片上设置了驱动齿轮,固定管的上端设置了密封轴承,下端设置了轴承套,轴承套的外侧设置了另一个搅拌刀片和驱动齿轮,固定管的侧面设置了传动齿轮,采用此设计的好处在于:驱动轴带动搅拌部顶部的搅拌刀片和驱动齿轮旋转,通过驱动齿轮-从动齿轮-驱动齿轮的传动结构,带动搅拌部下端的搅拌刀片反向旋转,此设计采用两个刀片,不仅可以减小单个刀片的磨损,还可以提高搅拌的均匀性,将食物破碎的更精细,从而减少营养液中大块的糊状,方便儿童使用。
2、本实用新型中,保温桶的顶部设置了密封盖,并且侧面设置了壳体,壳体的内部设置了加热管,采用此设计的好处在于:加热管设置于保温桶侧面,在加热时,相较于传统的底部加热,营养液受热更均匀,减少上下温差大的问题。



