名称:一种竖井救生机器设备
专利人: 梁富朝
专利号:202222011692.2
技术领域
本实用新型涉及救援设备技术领域,特别涉及一种竖井救生机器设备。
背景技术
竖井是洞壁直立的井状管道,实际是一种坍陷漏斗,在平面轮廓上呈方形、长条状或不规则圆形、井壁陡峭、近乎直立;竖井被广泛应用于水利水电工程的取水、引水、通排风、溜渣、补气,竖井施工具有占地面积小、对周边施工干扰少等特点,竖井在使用时,会有人员失足掉落其内部,由于竖井内部空间狭小,不方便救援;
现有的竖井进行救援时,由于救援人员的身形巨大,不能进入竖井内进行救援,并且在救援过程中,两者配合不协调,容易造成对人员的二次伤害,并且在对人员进行提升时,由于没有对人员头部进行防护,对人员头部撞击造成二次损伤,为此,提出一种竖井救生机器设备。
实用新型内容
有鉴于此,本实用新型希望提供一种竖井救生机器设备,以解决或缓解现有技术中存在的技术问题,至少提供一种有益的选择。
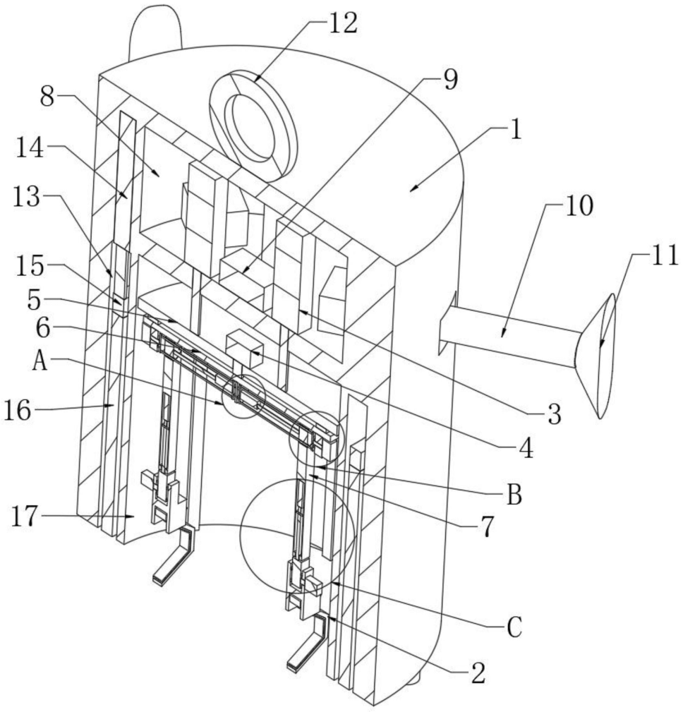
本实用新型实施例的技术方案是这样实现的:一种竖井救生机器设备,包括圆柱状支撑块和异形救生机械爪,所述圆柱状支撑块的内部开设有圆形腔,所述圆柱状支撑块的外侧壁相互对称嵌接有是三个第二电动推杆,所述圆柱状支撑块的下表面开设有圆形通孔,所述圆形腔的内侧底壁相互对称安装有四个第一电动推杆,所述第一电动推杆的活塞杆贯穿于所述圆形腔的内侧底壁且焊接有第一圆盘,所述第一圆盘的下表面通过轴承转动连接有第二圆盘,所述第一圆盘的上表面安装有第一电机,所述第一电机的输出轴贯穿于所述第一圆盘的上表面且安装于所述第二圆盘的上表面,所述第二圆盘的下表面焊接有第一固定板,所述第二圆盘的下表面对称焊接有两个第二固定板,所述第一固定板的外侧壁通过轴承对称转动连接有两个第二转盘,两个所述第二固定板相邻的一侧通过轴承分别转动连接有第一转盘,两个所述第二固定板相斥的一侧分别安装有两个第二电机,所述第二电机的输出轴贯穿于两所述第二固定板的一侧且焊接于所述第一转盘的一侧,两个所述第二转盘的一侧安装有第四电动推杆,所述第四电动推杆的活塞杆焊接有圆形转盘,所述第二转盘和所述第一转盘相邻的一侧转动连接于所述圆形转盘的外侧壁,所述圆形转盘的外侧底壁焊接有第一机械臂,所述第一机械臂的下表面活动连接有第二机械臂,所述第二机械臂的外部转动连接有第三机械臂,所述第三机械臂的下表面开设有第二通槽,所述异形救生机械爪共设置四个,两个所述异形救生机械爪的外侧壁通过轴承转动连接于所述第二通槽的内侧壁,两个所述异形救生机械爪相邻的一侧分别安装有压力传感器,两个所述异形救生机械爪相邻的一侧安装有双头伸缩液压油缸。
进一步优选的,所述第二转盘和所述第一转盘相邻的一侧均匀焊接有圆杆,所述圆形转盘的一侧均匀开设有活动通孔,所述活动通孔的内侧壁贴合于所述圆杆的外侧壁。
进一步优选的,所述第一机械臂的下表面开设有方形通孔,所述方形通孔的内侧壁开设有活动腔,所述活动腔的内侧顶壁安装有第五电动推杆,所述第五电动推杆的活塞杆安装有活动板,所述活动板的外侧壁贴合于所述活动腔的内侧壁,所述活动板的下表面焊接有连接板,所述连接板的下表面焊接于所述第二机械臂的上表面,所述连接板的外侧壁贴合于所述方形通孔的内侧壁。
进一步优选的,所述第三机械臂的上表面开设有第一通槽,所述第一通槽的内侧壁通过轴承转动连接于所述第二机械臂的外侧壁,所述第三机械臂的一侧安装有第三电机,所述第三电机的输出轴贯穿于所述第三机械臂的一侧且焊接于所述第二机械臂的外侧壁。
进一步优选的,所述压力传感器的一侧安装有橡胶垫,所述第二电动推杆的活塞杆安装有竖向椭圆橡胶定位脚。
进一步优选的,所述圆柱状支撑块的下表面开设有圆环腔,所述圆环腔的内侧顶壁相互对称嵌接有三个第三电动推杆,所述第三电动推杆的活塞杆焊接有圆环板体,所述圆环板体的下表面安装有圆环保护垫,所述圆环板体和所述圆环保护垫的外侧壁贴合于所述圆环腔的内侧壁。
进一步优选的,所述圆柱状支撑块的上表面安装有吊环,所述圆形腔的内侧底壁安装有控制器。
进一步优选的,所述圆柱状支撑块的下表面相互对称分别安装有三个摄像头、三个照明灯和三个底部支脚。
进一步优选的,所述圆形通孔的内侧壁均匀焊接有滑块,所述第一圆盘的外侧壁均匀开设有滑槽,所述滑槽的内侧壁滑动连接于所述滑块的外侧壁。
本实用新型实施例由于采用以上技术方案,其具有以下优点:
一、本实用新型通过第一电动推杆、第一电机、第一圆盘、第二圆盘、第四电动推杆、圆杆、第二转盘、圆形转盘、第一转盘、第二电机、第一机械臂、第五电动推杆、活动板、连接板、第二机械臂、第三电机、第三机械臂、异形救生机械爪、双头伸缩液压油缸和压力传感器等组合使用,便于将竖井内的被困人员救出,方便人员多角度调整操控,避免误伤人员,提高救援的安全性,其中压力传感器的设置,用于避免设备过大的力伤害被困人员。
二、本实用新型通过第二电动推杆和竖向椭圆橡胶定位脚的设置,便于固定圆柱状支撑块的位置,提高操作的安全性,其中第三电动推杆、圆环板体和圆环保护垫的设置,避免被困人员向上提升时,头部撞击竖井内壁,有效避免被困人员造成二次伤害,提高救援安全。
上述概述仅仅是为了说明书的目的,并不意图以任何方式进行限制。除上述描述的示意性的方面、实施方式和特征之外,通过参考附图和以下的详细描述,本实用新型进一步的方面、实施方式和特征将会是容易明白的。






