名称:一种用于卧床患者下肢及脚踝活动的辅助治疗仪
专利人: 庞增粉
专利号:202010528883.9
技术领域
本发明涉及医疗辅助装置技术领域,具体为一种用于卧床患者下肢及脚踝活动的辅助治疗仪。
背景技术
有些患有慢性疾病的病人,如糖尿病、血液病、肿瘤等,骨折后的病人,以及因脑中分、脑外伤而造成偏瘫的病人,在经过医院的一段时间的治疗后,就可以回到家中进行康复期治疗,由于患者卧床,导致身体肌肉、皮肤等相对松弛,需要护理人员针对肌肉和皮肤处进行相应的康复训练,避免患者在卧床期间,导致的褥疮或者肌肉退化坏死等问题。
在卧床患者康复训练中,其中有针对患者脚踝处的康复动作,踝关节的跖屈、背伸运动,中风患者仰卧位,护理人员站于患者患侧,一手握住足背部,另一手托住足跟,握住足背部的手用力推压,完成踝关节跖屈运动,然后一手握住踝关节上方,另一手托住足跟牵拉足跟部,同时利用前臂屈侧推压足底,完成踝关节屈曲运动,在护理人员通过人工手握住患者的脚踝时进行踝关节的跖屈、背伸运动时,护理人员多次按压推拿后力度不同,多次按压推拿后,护理人员手部对患者脚踝处的推压力度和频率不同,同时由于患者长期卧床后,在脚踝处的小腿肌肉相对松弛,在护理人员推压足背部时,使得小腿处的肌肉被拉伸或者收缩,在护理人员在推压足背部时,不利于脚踝的小腿处的肌肉处于相对放松、适合患者小腿以及脚踝处的康复训练,为此,我们提出了一种用于卧床患者下肢及脚踝活动的辅助治疗仪。
发明内容
本发明的目的在于提供一种用于卧床患者下肢及脚踝活动的辅助治疗仪,以解决上述背景技术中提出的问题。
为实现上述目的,本发明提供如下技术方案:一种用于卧床患者下肢及脚踝活动的辅助治疗仪,包括腿部放置架,所述腿部放置架一端设有放置脚掌的放置板,所述放置板底部连接有转轴,且转轴两端与腿部放置架两端连接,所述转轴一端连接有带动放置脚掌的放置板转动相应角度完成踝关节跖屈、背伸运动的转动件,所述放置板顶部连接有按摩脚趾的凸起件,所述腿部放置架底部连接有按摩小腿用的软板,且软板底部连接有依次顶起软板位置的顶起件,便于患者小腿部进行按摩处理。
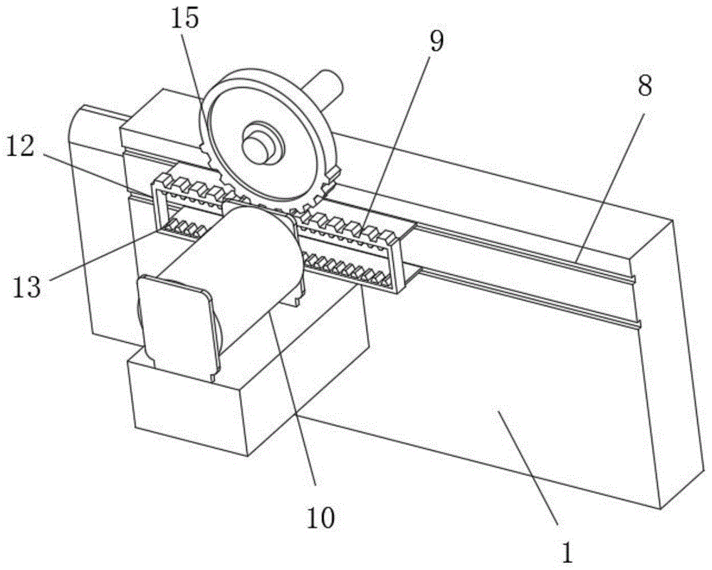
优选的,所述转动件包括安装在腿部放置架一侧的电机,所述电机输出端连接有转动齿轮,且转动齿轮外侧套接有运动框,所述运动框内圈连接有齿槽,且转动齿轮与齿槽相互啮合,所述运动框外圈连接有齿板,所述转轴一端连接有半扇齿盘,且半扇齿盘与齿板相互啮合,所述放置板两侧分别设有传动件,且两个传动件分别连接在转轴上,便于规律性使得放置板进行转动。
优选的,所述传动件包括安装在转轴上的主动齿轮,所述主动齿轮外侧套接有传动链,且主动齿轮与传动链相互啮合,所述传动链另一端啮合有从动齿轮,且从动齿轮一侧连接有小齿轮,所述从动齿轮上连接有安装轴,且安装轴一端连接有固定座,所述固定座连接在腿部放置架上,所述小齿轮与顶起件一端连接,有利于将电机的动力传动至小齿轮处。
优选的,所述顶起件包括安装在软板两侧的固定齿条,所述固定齿条一端连接有拉动齿条,且拉动齿条与小齿轮相互啮合,所述腿部放置架底部两侧之间连接有多个转动轴,所述转动轴两端分别连接有调整齿轮,且两个调整齿轮分别与固定齿条相互啮合,所述转动轴外侧连接有多个顶起凸块,且多个转动轴上了连接的顶起凸块相互错开,便于对点错位对小腿处进行按摩处理。
优选的,所述凸起件包括安装在放置板顶部的气囊带,所述气囊带上一侧连通有多个出气管,且出气管外侧连通控制出气管通断气的电磁阀,所述出气管一端连接有与脚趾相互接触的凸起胶块,便于对脚趾处进行凸起按摩。
优选的,所述放置板远离气囊带的一侧连接有绑缚带。
优选的,所述放置板一侧设有两个滑槽,所述运动框底部两侧分别连接有滑动片,且两个滑动片分别滑动连接在两个滑槽内部,便于运动框的滑动稳定。
优选的,所述拉动齿条远离固定齿条的一端连接有限位条,有利于对拉动齿条的限位。
与现有技术相比,本发明的有益效果是:
本发明,在护理人员通过使用本方案中装置对患者进行脚踝处跖屈、背伸运动时,通过所设的转动件带动放置板带动脚掌处进行运动,从而使得脚踝处进行跖屈、背伸运动,减少了现有人员通过手动带动脚踝处推拉运动的麻烦,保持每次推拉运动的时间、力度相同,同时在本方案中通过所设的顶起件将软板顶起,从而对患者小腿处进行按摩处理,便于在对脚踝处进行推拉运动时,保持小腿处肌肉的舒展。







