名称:AR影像生成装置
专利人; 严鑫雨
专利号:202210999779.7
技术领域
本发明属于AR设备技术领域,具体涉及一种AR影像生成装置。
背景技术
AR的全称是Augmented Reality,指的是增强现实技术,现有AR眼镜的显示内容主要来自外部连接的手机、电脑或者自带处理单元内部的资源,对于外界实时性的显示内容,只能通过AR眼镜的相机来获取。因此,如何实现AR眼镜显示放大的实时内容是本领域技术人员需要解决的技术问题。
发明内容
本发明旨在至少在一定程度上解决上述技术问题。为此,本发明目的在于提供一种AR影像生成装置。
本发明所采用的技术方案为:
AR影像生成装置,包括镜框,镜框内倾斜设有第一玻璃,镜框上安装有影像模块;
所述影像模块包括镜头、位于镜头后方的棱镜、位于棱镜输出光路上的感光元件以及与感光元件电性连接的显示屏,显示屏的输出光线朝着第一玻璃设置;
或者,所述影像模块包括望远镜、位于望远镜后方的第一反射镜、位于第一反射镜输出光路上的放大镜,放大镜的输出光线朝着第一玻璃设置。
优选地,所述感光元件和显示屏之间设有处理芯片,感光元件的输出图像包括一个或者多个光源,处理芯片根据光源的个数将输出图像切割为对应个数的图像,每个图像作为一个图层按照光源的中心进行放大,放大后的图层重新重叠合并为新的图像并输出至显示屏。
优选地,所述镜头前方设有潜望镜,潜望镜前方设有偏振片,潜望镜包括平行设置的第二反射镜和第二玻璃。
优选地,所述显示屏与有线接口和/或无线单元相连。
优选地,所述显示屏和感光元件与电池相连。
优选地,所述显示屏和第一玻璃之间设有放大镜。
优选地,所述棱镜的反射率为7%~30%。
优选地,所述第一玻璃倾斜45°设置,所述第一玻璃的反射率为7%~80%。
优选地,所述望远镜前方设有偏振片。
优选地,所述影像模块包括标记点。
本发明的有益效果为:
本发明所提供的AR影像生成装置,通过感光元件识别图像并放大输出显示的方式以及望远镜和放大镜物理放大输出的方式,将原始图像进行放大操作得到放大图像,实现了AR眼镜显示放大的实时内容的功能。
附图说明
图1是本发明AR影像生成装置的结构示意图。
图2是实施例一中AR影像生成装置的原理结构示意图。
图3是实施例二中AR影像生成装置的原理结构示意图。
图4是本发明处理芯片的工作原理示意图。
图5是实施例三中AR影像生成装置的原理结构示意图。
图中:1-镜框;2-影像模块;3-镜腿;4-第一玻璃;5-镜头;6-棱镜;7-感光元件;8-显示屏;9-处理芯片;10-偏振片;11-第二反射镜;12-第二玻璃;13-放大镜;14-望远镜;15-第一反射镜;16-壳体。
具体实施方式
下面详细描述本发明的实施例,所述实施例的示例在附图中示出,其中自始至终相同或类似的标号表示相同或类似的元件或具有相同或类似功能的元件。下面通过参考附图描述的实施例是示例性的,旨在用于解释本发明,而不能理解为对本发明的限制。通常在此处附图中描述和示出的本发明实施例的组件可以以各种不同的配置来布置和设计。
在本发明实施例的描述中,需要说明的是,指示方位或位置关系为基于附图所示的方位或位置关系,或者是该发明产品使用时惯常摆放的方位或位置关系,或者是本领域技术人员惯常理解的方位或位置关系,仅是为了便于描述本发明和简化描述,而不是指示或暗示所指的装置或元件必须具有特定的方位、以特定的方位构造和操作,因此不能理解为对本发明的限制。此外,术语“第一”、“第二”仅用于区分描述,而不能理解为指示或暗示相对重要性。
在本发明中,除非另有明确的规定和限定,术语“安装”、“相连”、“连接”、“固定”等术语应做广义理解,例如,可以是固定连接,也可以是可拆卸连接,或一体地连接;可以是机械连接,也可以是电连接;可以是直接相连,也可以通过中间媒介间接相连,可以是两个元件内部的连通。
下面结合附图和具体实施例对本发明进行进一步的说明。
实施例一
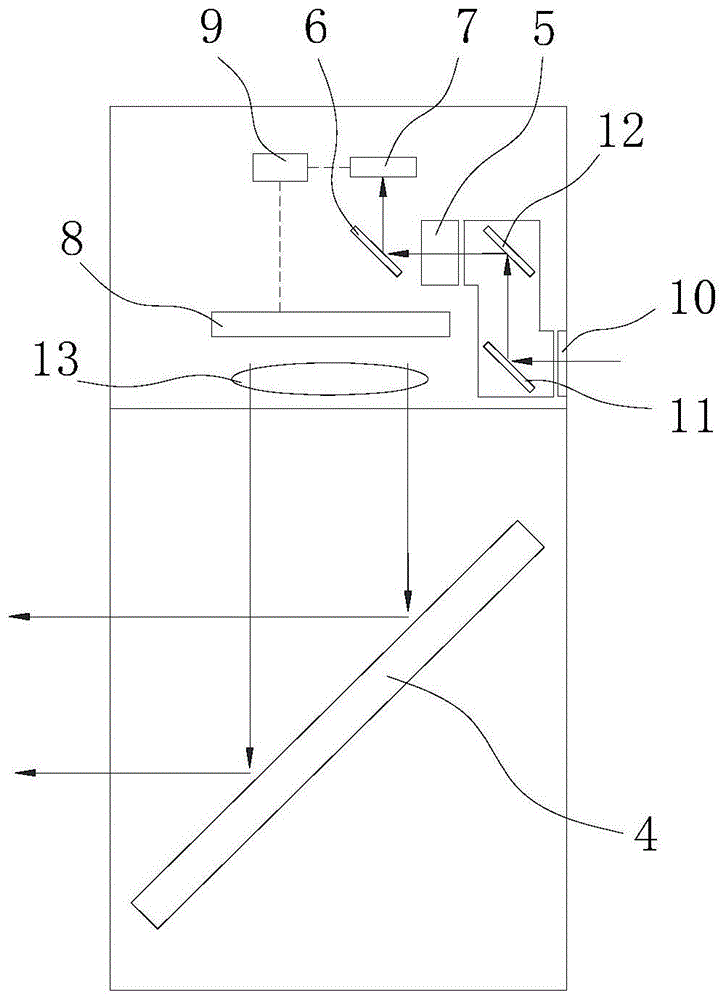
如图1和图2所示,本实施例的AR影像生成装置,包括镜框1,镜框1内45°倾斜设有第一玻璃4,镜框1上安装有影像模块2和镜腿3。影像模块2包括壳体16,壳体16与镜框1为可拆卸连接,壳体16上设有镜头5,壳体16内设有感光元件7、显示屏8和处理芯片9,其中镜头5朝向前方设置,45°倾斜设置的棱镜6位于镜头5后方,感光元件7设于棱镜6上方的输出光路上,感光元件7和显示屏8均与处理芯片9电性连接,显示屏8朝向第一玻璃4设置。
光线进入镜头5后经棱镜6反射到感光元件7,棱镜6的反射率为7%~30%,可以有效减少弱光的反射而只反射强光,将强光图像反射到感光元件7后,强光图像最终输出至显示屏8显示,显示屏8的输出光线可以直接射向第一玻璃4,并经过第一玻璃4的反射后进入人眼,第一玻璃4的反射率为7%~80%;人眼可以直接透过第一玻璃4观察前方,反射后进入人眼的影像与第一玻璃4前方直接观察到的现实影像重叠,实现AR的效果。
AR影像生成装置用于观察设置好的一个或者多个外设,每个外设即为一个强光源,感光元件7的每一帧输出图像均包括一个或多个光源,处理芯片9根据光源的个数将输出图像切割为对应个数的图像,每个图像只包括光源的显示内容,即每个图像的边界为光源的边界,每个图像作为一个图层按照光源的中心进行放大,放大后的图层按照光源由近到远重新重叠合并为新的图像并输出至显示屏8。如图4所示,AR影像生成装置观察三个同等大小的外设,每个外设为一个圆形光源,感光元件7的输出图像包括三个光源,处理芯片9对三个图层单独放大同样倍数后,再重新合并为新的图像,实现三个光源的AR显示,且由于每个光源均是作为一个单独的图层进行放大,因此放大时不会影响其余光源的变形,由于光源放大后由近到远重新重叠,部分光源放大后的图像有部分遮挡,在放大的同时更能营造立体的观感。
在其他实施例中,当感光元件7的输出图像只有一个光源时,则处理芯片9将其按照光源的边界切割为一个图像,此图像作为图层放大,放大后的图层即为新的图像。
处理芯片9与有线接口和无线单元相连,有线接口可采用USB接口,通过USB接口可以向处理芯片9输入图像,并经显示屏8投射到第一玻璃4后反射进入人眼,同样的,无线单元可以与终端通信,实现图像的无线输入。
壳体16内还设有可充电电池,可充电电池用于向感光元件7、显示屏8和处理芯片9等部件供电。感光元件7可采用CMOS感光元件。
实施例二
如图1和图3所示,本实施例的AR影像生成装置,在实施例二的AR影像生成装置的基础上,增加了放大镜13、潜望镜和偏振片10的设置。
具体的,镜头5设置在壳体16内部,镜头5前方设有潜望镜,潜望镜前方设有偏振片10,潜望镜包括平行设置的第二反射镜11和第二玻璃12,光线从偏振片10进入后,依次经过第二反射镜11的反射和第二玻璃12的反射后进入镜头5。放大镜13设置在显示屏8和第一玻璃4之间。
本实施例中的AR影像生成装置,可以用于直接观察液晶屏输出的偏振光,液晶屏输出的偏振光无法直接被人眼识别,偏振光通过偏振片10,转化为可以人眼识别的光线,第二玻璃12的反射率为7%~80%,用于过滤掉一部分弱光,再进入镜头5,经过棱镜6后被感光元件7识别,再通过显示屏8显示,并经过放大镜13放大后最后经第一玻璃4的反射后进入人眼被识别。
放大镜13的设置可以使得液晶屏可以设置为尺寸较小,最终图像经放大后依然可以保证较大的尺寸。
实施例三
如图1和图5所示,本实施例的AR影像生成装置,包括镜框1,镜框1内45°倾斜设有第一玻璃4,镜框1上安装有影像模块2和镜腿3。影像模块2包括壳体16,壳体16与镜框1为可拆卸连接,壳体16上设有偏振片10,壳体16内设有望远镜14、第一反射镜15和放大镜13,望远镜14位于偏振片10后方,第一反射镜15位于望远镜14后方,放大镜13位于第一反射镜15下方的输出光路上,放大镜13的输出光线朝着第一玻璃4设置。
本实施例中的AR影像生成装置,可以用于直接观察液晶屏,液晶屏输出的偏振光无法直接被人眼识别,偏振光通过偏振片10,转化为可以人眼识别的光线,通过望远镜14放大后经第一反射镜15反射到放大镜13,再次经过放大后经第一玻璃4的反射后进入人眼被识别,第一玻璃4的反射率为7%~80%;人眼可以直接透过第一玻璃4观察前方,反射后进入人眼的影像与第一玻璃4前方直接观察到的影像重叠,实现AR的效果。
影像模块2包括标记点,标记点位于望远镜14和偏振片10的下方,且位于第一玻璃4之前,标记点可以让使用者清楚是哪一部分光被遮住,被AR影像生成装置放大传到使用者眼睛上。
本发明不局限于上述可选实施方式,任何人在本发明的启示下都可得出其他各种形式的产品,但不论在其形状或结构上作任何变化,凡是落入本发明权利要求界定范围内的技术方案,均落在本发明的保护范围之内。



