名称:一种膝关节骨关节炎内侧自锁式撑开固定器
专利人: 姚舜杰
专利号:202220074482.5
技术领域
本实用新型涉及固定器技术领域,更具体地说,涉及一种膝关节骨关节炎内侧自锁式撑开固定器。
背景技术
骨关节炎是一种退行性病变,系由于增龄、肥胖、劳损、创伤、关节先天性异常、关节畸形等诸多因素引起的关节软骨退化损伤、关节边缘和软骨下骨反应性增生。本病多见于中老年人群,好发于负重关节及活动量较多的关节(如,颈椎、腰椎、膝关节、髋关节等)。过度负重或使用这些关节,均可促进退行性变化的发生。在骨关节炎治疗中需要用到固定器辅助治疗。现有技术中公开号为CN215129226U的专利文献提供一种膝关节骨关节炎内侧自锁式撑开固定器,该装置可用于膝骨关节炎微创手术,可大大提高手术的精确性,力线维持效果好,具有手术时间短、创伤小、恢复快、术中及术后康复基本无痛等优势。此外,该实用新型是一个标准化手术,非常利于学习和推广,可最大程度降低因手术医生经验和技巧的不足,而造成结果差异的可能,大大缩短了初学者的学习曲线。虽然该装置有益效果较多,但依然存在下列问题:该装置适用于患病较重需要手术的患者,而在一些需要恢复治疗的患者中,该装置并不适用。鉴于此,我们提出一种膝关节骨关节炎内侧自锁式撑开固定器。
实用新型内容
1.要解决的技术问题
本实用新型的目的在于提供一种膝关节骨关节炎内侧自锁式撑开固定器,以解决上述背景技术中提出的问题。
2.技术方案
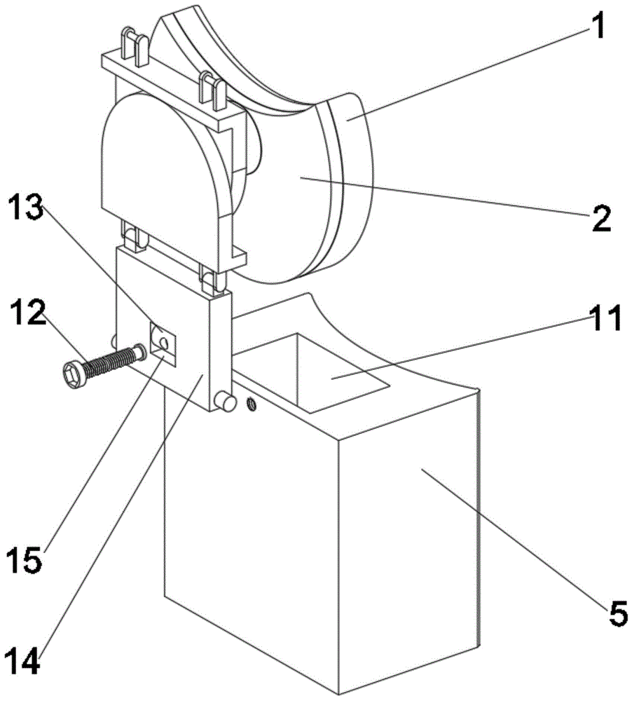
一种膝关节骨关节炎内侧自锁式撑开固定器,包括海绵垫,所述海绵垫左端面固设有固定板,所述固定板左方设有两个转块,所述转块外方均设有插框,所述插框外端面均对称开设有安装槽,所述安装槽内部滑动连接有卡舌,所述卡舌内端面对称固设有两个弹簧,所述插框外方设有固定块,所述固定块两端对称固设有插槽,所述插槽外壁均匀开设有多个调节槽,位于下方的所述固定块内部开设有矩形槽,所述矩形槽左方设有调节螺栓,所述调节螺栓右方设有转轴,所述转轴外方设有调节板,所述调节板中部开设有转槽。
优选地,所述海绵垫及固定板上部均开设有弧形槽,两个所述转块转动连接,所述插框与插槽插接配合。
优选地,所述固定板与右方的转块连接固定,所述调节螺栓与矩形槽螺纹连接,所述弹簧后端与安装槽连接固定。
优选地,所述调节板下端与矩形槽转动连接,所述调节螺栓右端与转轴转动连接。
优选地,位于右方的所述转块与插框铰接,所述调节板与左方的转块铰接,所述转轴与转槽转动连接。
3.有益效果
相比于现有技术,本实用新型的优点在于:
1.本实用新型通过设计固定块与插框配合,然后在固定块上设计插槽及调节槽,而在插框上设计弹簧与卡舌与其配合,可以实现根据不同患者腿部进行调节固定。本实用新型设计简洁合理,自锁效果好,可以根据患者腿部粗细自由调节,并在调节后自动自锁,使用简单方便,且固定效果好,在固定好之后,可以使患者小腿与大腿之间的关节撑开狭小的距离,可以避免关节摩擦,可以使患者恢复更好。
2.本实用新型通过设计调节螺栓,可以根据患者体型,通过带动转轴从而带动调节板转动,最后调节板会通过转块带动海绵垫紧贴于患者内侧关节处,可以使患者使用更加舒适,且具有很好的托举效果。
附图说明
图1为本实用新型的整体结构示意图;
图2为本实用新型的安装槽剖示意图;
图3为本实用新型的调节板结构示意图;
图中标号说明:1、海绵垫;2、固定板;3、转块;4、插框;5、固定块;6、插槽;7、调节槽;8、安装槽;9、卡舌;10、弹簧;11、矩形槽;12、调节螺栓;13、转轴;14、调节板;15、转槽。
具体实施方式
请参阅图1-3,本实用新型提供一种技术方案:
一种膝关节骨关节炎内侧自锁式撑开固定器,包括海绵垫1,海绵垫1左端面固设有固定板2,固定板2左方设有两个转块3,转块3外方均设有插框4,插框4外端面均对称开设有安装槽8,安装槽8内部滑动连接有卡舌9,卡舌9内端面对称固设有两个弹簧10,插框4外方设有固定块5,固定块5两端对称固设有插槽6,插槽6外壁均匀开设有多个调节槽7,位于下方的固定块5内部开设有矩形槽11,矩形槽11左方设有调节螺栓12,调节螺栓12右方设有转轴13,转轴13外方设有调节板14,调节板14中部开设有转槽15。
具体的,海绵垫1及固定板2上部均开设有弧形槽,两个转块3转动连接,插框4与插槽6插接配合。海绵垫1及固定板2上部均开设有弧形槽可以更好的在内侧托起膝关节。两个转块3转动连接,便于患者弯腿行走等。
进一步的,固定板2与右方的转块3连接固定,调节螺栓12与矩形槽11螺纹连接,弹簧10后端与安装槽8连接固定。
再进一步的,调节板14下端与矩形槽11转动连接,调节螺栓12右端与转轴13转动连接。
更进一步的,位于右方的转块3与插框4铰接,调节板14与左方的转块3铰接,转轴13与转槽15转动连接。转轴13与转槽15转动连接可以是调节螺栓12调节调节板14时不会卡死。
工作原理:本装置使用时,首先把下方的固定块5贴合于小腿上,然后在固定块5两端的插槽6内插入插框4,然后插框4会两端的卡舌9被插框4挤压会收缩进入安装槽8内,在卡舌9与调节槽7对齐时,此时弹簧10会弹压卡舌9卡接于调节槽7内,当需要继续调节时,继续按压插框4带动卡舌9移动至外方的调节槽7内,上方的固定块5同理固定于大腿上,然后转动调节螺栓12,此时调节螺栓12会带动转轴13移动,而转轴13会与转槽15转生转动,同时转轴13会带动调节板14转动,因为转块3与调节板14及上方的插框4铰接,所以调节板14会通过转块3带动海绵垫1与关节处贴合。

