专利名称:一种循环流水水产养殖复式池塘.
专 利 号:CN202022725634.7
专利权人:贾旭龙
项目介绍:本实用新型公开了一种循环流水水产养殖复式池塘,包括地面,所述地面上设置有一级池、二级池、三级池和四级池,且二级池内部有河水,并且二级池右端设置有第一拦鱼网,所述二级池右端外侧设置有引流装置。该循环流水水产养殖复式池塘设置有集污装置、固定座、卡合装置、把手、第二拦鱼网和渗水板,因此该装置便于清洁,其工作原理是:河水中的污垢经过第二拦鱼网进入集污装置中,松开卡合装置,握住把手将集污装置打捞上来,河水从渗水板漏出,污垢由于颗粒较大无法通过渗水板留在渗水板上,清理渗水板,然后将集污装置卡入集污沟,并将把手用卡合装置固定,清理完毕,该装置不需要放水清理池塘底部的污垢,十分方便,增加了实用性。
一种循环流水水产养殖复式池塘
技术领域
本实用新型涉及水产养殖技术领域,具体为一种循环流水水产养殖复式池塘。
背景技术
水产养殖是人为控制下繁殖、培育和收获水生动植物的生产活动。一般包括在人工饲养管理下从苗种养成水产品的全过程,广义上也可包括水产资源增殖,水产养殖有粗养、精养和高密度精养等方式。粗养是在中、小型天然水域中投放苗种,完全靠天然饵料养成水产品,如湖泊水库养鱼和浅海养贝等。精养是在较小水体中用投饵、施肥方法养成水产品,如池塘养鱼、网箱养鱼和围栏养殖等。高密度精养采用流水、控温、增氧和投喂优质饵料等方法,在小水体中进行高密度养殖,从而获得高产,如流水高密度养鱼、虾等,水产养殖复式池塘是必不可少的一种装置,但是目前市场上的水产养殖复式池塘尚有很多不足之处,就比如:
1.目前市场上的水产养殖复式池塘不便于清洁维护,由于目前市场上的水产养殖复式池塘结构存在缺陷,其缺少一种对污垢进行清理的机构,导致池塘使用时间一长,其内部容易积累大量污垢,这些污垢严重污染池塘内的水源环境,进而影响池塘内的动物正常生长,因此目前市场上的水产养殖复式池塘不实用;
2.前市场上的水产养殖复式池塘空间结构不合理、排水系统不完善,由于目前市场上的水产养殖复式池塘结构存在缺陷,其空间结构设置导致养殖空间过小,且不能很好地进行排水,导致池塘的养殖环境不能满足动物的生存需求,因此目前市场上的水产养殖复式池塘不实用。
所以我们提出了一种循环流水水产养殖复式池塘,以便于解决上述中提出的问题。
实用新型内容
本实用新型的目的在于提供一种循环流水水产养殖复式池塘,以解决上述背景技术提出的目前市场上的不便于清洁维护、空间结构不合理和排水系统不完善的问题。
为实现上述目的,本实用新型提供如下技术方案:一种循环流水水产养殖复式池塘,包括地面,所述地面上设置有一级池、二级池、三级池和四级池,且二级池内部有河水,并且二级池右端设置有第一拦鱼网,所述二级池右端外侧设置有引流装置,且二级池右侧底部设置有集污装置,并且集污装置内部设置有第二拦鱼网和渗水板,所述集污装置上端设置有把手,且把手与固定座左侧的卡合装置构成卡合机构,所述二级池下端设置有底座架构,且底座架构下端设置支撑柱,所述支撑柱上端通过螺纹杆与螺纹孔固定在底座架构的下端,所述二级池内部下端设置有集污沟,且集污沟与集污装置构成卡合机构。
优选的,所述一级池有1个,且一级池的尺寸小于地面的尺寸,并且一级池、二级池、三级池和四级池尺寸规格一致。
优选的,所述第一拦鱼网有3个,且第一拦鱼网的尺寸小于一级池、二级池、三级池和四级池的尺寸,并且第一拦鱼网为矩形。
优选的,所述引流装置有3个,且引流装置的长度小于一级池、二级池、三级池和四级池的长度,并且引流装置与水平方向平行。
优选的,所述支撑柱有6根,且支撑柱关于一级池的中心左右对称设置,并且支撑柱与水平方向垂直。
优选的,所述螺纹杆的尺寸小于螺纹孔的尺寸,且螺纹杆关于支撑柱的中心前后左右对称设置,并且螺纹杆的长度小于底座架构的高度。
与现有技术相比,本实用新型的有益效果是:
1.该循环流水水产养殖复式池塘设置有集污装置、固定座、卡合装置、把手、第二拦鱼网和渗水板,因此该装置便于清洁,其工作原理是:河水中的污垢经过第二拦鱼网进入集污装置中,松开卡合装置,握住把手将集污装置打捞上来,河水从渗水板漏出,污垢由于颗粒较大无法通过渗水板留在渗水板上,清理渗水板,然后将集污装置卡入集污沟,并将把手用卡合装置固定,清理完毕,该装置不需要放水清理池塘底部的污垢,十分方便,增加了实用性;
2.该循环流水水产养殖复式池塘设置有底座架构、支撑柱和引流装置,因此该装置空间分布合理、排水功能较好,其工作原理是:支撑柱设置在一级池的外侧,不占用一级池的内部空间,给予生物更大的活动空间,底座架构能够稳定支撑一级池,且便于拆卸维护,引流装置能够将河水更平稳地引流出去,增加了实用性。
附图说明




图1为本实用新型侧视半剖结构示意图;
图2为本实用新型正视局剖结构示意图;
图3为本实用新型图1中A处放大结构示意图;
图4为本实用新型图2中B处放大结构示意图。
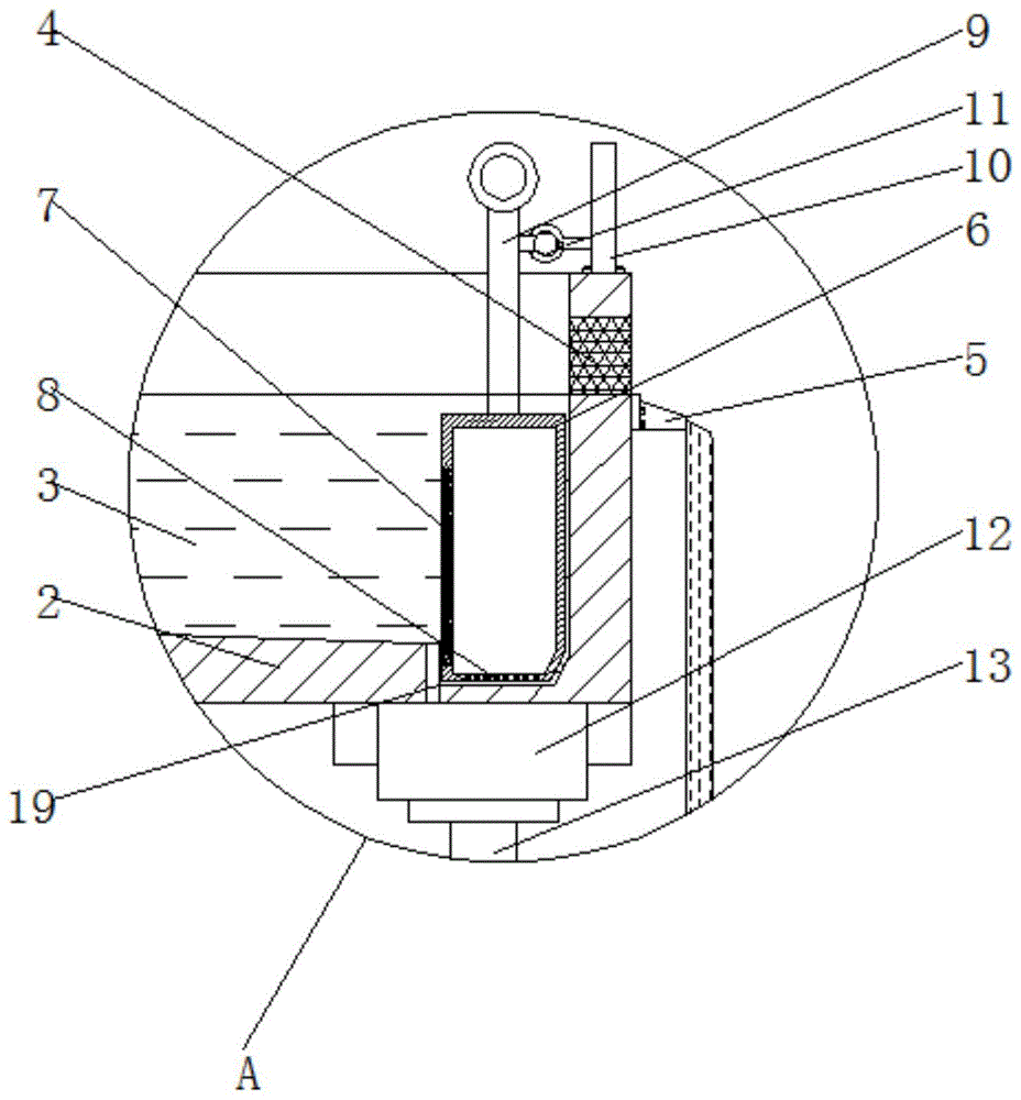
图中:1、一级池;2、二级池;3、河水;4、第一拦鱼网;5、引流装置;6、集污装置;7、第二拦鱼网;8、渗水板;9、把手;10、固定座;11、卡合装置;12、底座架构;13、支撑柱;14、螺纹杆;15、螺纹孔;16、三级池;17、四级池;18、地面;19、集污沟。
具体实施方式
下面将结合本实用新型实施例中的附图,对本实用新型实施例中的技术方案进行清楚、完整地描述,显然,所描述的实施例仅仅是本实用新型一部分实施例,而不是全部的实施例。基于本实用新型中的实施例,本领域普通技术人员在没有做出创造性劳动前提下所获得的所有其他实施例,都属于本实用新型保护的范围。
请参阅图1-4,本实用新型提供一种技术方案:一种循环流水水产养殖复式池塘,包括一级池1、二级池2、河水3、第一拦鱼网4、引流装置5、集污装置6、第二拦鱼网7、渗水板8、把手9、固定座10、卡合装置11、底座架构12、支撑柱13、螺纹杆14、螺纹孔15、三级池16、四级池17、地面18和集污沟19,地面18上设置有一级池1、二级池2、三级池16和四级池17,且二级池2内部有河水3,并且二级池2右端设置有第一拦鱼网4,二级池2右端外侧设置有引流装置5,且二级池2右侧底部设置有集污装置6,并且集污装置6内部设置有第二拦鱼网7和渗水板8,集污装置6上端设置有把手9,且把手9与固定座10左侧的卡合装置11构成卡合机构,二级池2下端设置有底座架构12,且底座架构12下端设置支撑柱13,支撑柱13上端通过螺纹杆14与螺纹孔15固定在底座架构12的下端,二级池2内部下端设置有集污沟19,且集污沟19与集污装置6构成卡合机构。
一级池1有1个,且一级池1的尺寸小于地面18的尺寸,并且一级池1、二级池2、三级池16和四级池17尺寸规格一致,保证地面18能够容放一级池1、二级池2、三级池16和四级池17,使该装置结构合理稳定,增加了实用性。
第一拦鱼网4有3个,且第一拦鱼网4的尺寸小于一级池1、二级池2、三级池16和四级池17的尺寸,并且第一拦鱼网4为矩形,保证第一拦鱼网4能够放进一级池1、二级池2、三级池16和四级池17,使该装置结构合理稳定,增加了实用性。
引流装置5有3个,且引流装置5的长度小于一级池1、二级池2、三级池16和四级池17的长度,并且引流装置5与水平方向平行,保证引流装置5能够将河水3引流出去,使该装置结构合理稳定,增加了实用性。
支撑柱13有6根,且支撑柱13关于一级池1的中心左右对称设置,并且支撑柱13与水平方向垂直,保证支撑柱13能够稳定地支撑一级池1,使该装置结构稳定合理,增加了实用性。
螺纹杆14的尺寸小于螺纹孔15的尺寸,且螺纹杆14关于支撑柱13的中心前后左右对称设置,并且螺纹杆14的长度小于底座架构12的高度,保证螺纹杆14能够安插进螺纹孔15,使该装置结构合理稳定,增加了实用性。
工作原理:在使用该循环流水水产养殖复式池塘时,首先将鱼放入一级池1、二级池2、三级池16和四级池17,由于设置有第一拦鱼网4,河水3中的鱼不会游离一级池1、二级池2、三级池16和四级池17,河水3的污垢经过第二拦鱼网7进入集污装置6中,松开一级池1右端的卡合装置11,握住集污装置6上端的把手9将集污装置6打捞上来,河水3从集污装置6底部的渗水板8漏出,污垢由于颗粒较大无法通过渗水板8留在渗水板8上,清理渗水板8,然后将集污装置6下端卡入集污沟19,并将集污装置6上端的把手9用一级池1右端的卡合装置11卡合固定,防止集污装置6倾倒,清理完毕,该装置不需要放水清理池塘底部的污垢,且支撑柱13设置在一级池1的外侧,不占用一级池1的内部空间,给予生物更大的活动空间,底座架构12能够稳定支撑一级池1,且便于拆卸维护,引流装置5能够将河水3更平稳地引流出去,从而完成一系列工作,本说明书中未作详细描述的内容属于本领域专业技术人员公知的现有技术。
尽管参照前述实施例对本实用新型进行了详细的说明,对于本领域的技术人员来说,其依然可以对前述各实施例所记载的技术方案进行修改,或者对其中部分技术特征进行等同替换,凡在本实用新型的精神和原则之内,所作的任何修改、等同替换、改进等,均应包含在本实用新型的保护范围之内。