专利权人:贺瑞华
专利名称 :一种电气混合动力汽车驱动系统
专利号 :201810719005.8
项目简介 :本发明采用的是内加热压缩空气装置,大幅度节省外面加热空气的耗电量,并达到大幅度提高发动机的输出功率,大幅度提高空气动力汽车的续航能力,这一优点,足可以提起生产汽车的厂家对本发明专利兴趣的
一种电气混合动力汽车的驱动系统
技术领域
本发明涉及一种汽车的驱动系统,特别是涉及一种电气混合动力汽车的驱动系统。
背景技术
随着汽车保有量的逐年递增,大气污染加剧,石油资源加速匮乏,严重影响了人类社会的生存环境和可持续发展。传统的内燃机汽车经过一百多年的发展,虽然在动力性、经济性以及安全舒适性等方面已相当成熟,但其受能源问题和排放等方面的技术瓶颈制约,已经难以满足日益严格的环保法规和人们的节能环保需求。
纯电动汽车没有废气排放,噪声低,摆脱了对石油的依赖,是比较理想的清洁能源汽车。但是由于当前的电池技术限制,动力电池的比能量低,单次充电的续驶里程较短,动力性能不佳,并且电池所占用的空间尺寸大,重量大,价格贵,以及相应的充电设施不完善,所以纯电动汽车短时间内很难实现大规模产业化,需要取得进一步的技术突破。现有的混合动力汽车,安装的燃油发动机保留了启动电机,并且变速器需要倒车动力变向传动机构,结构复杂,增加了控制难度。
针对上述的问题,本发明提供一种新型的混合动力汽车驱动系统,可简化发动机驱动系统,提高混合动力汽车续航能力。
发明内容
本发明的目的在于克服现有技术的不足,提供一种电气混合动力汽车的驱动系统,利用加热机构加热储气罐内的压缩空气,提高空气动力,用加热后的高压气体取代燃油产生的高压气体,驱动机车运行,发动机运行同时带动发电机运行,发电机给蓄电池充电,当压缩空气即将耗尽之时,蓄电池给电冲程机构供电,电冲程机构动作,电与气并用,保证发动机的稳定,两组储气罐交替运行,保证机车的续航能力。
为了达到上述目的,本发明采用的技术方案是:
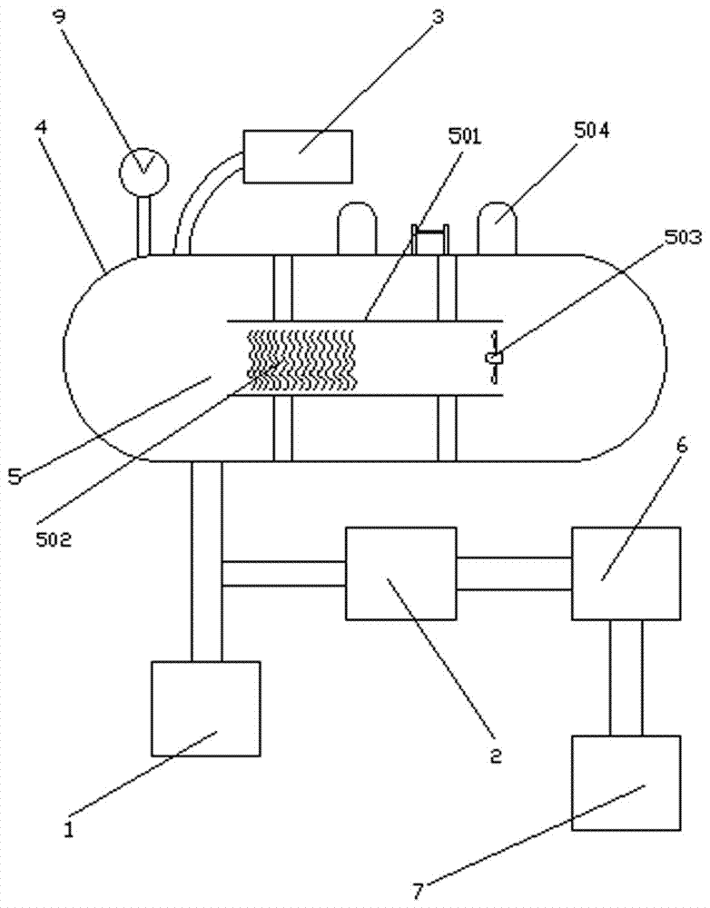
一种电气混合动力汽车的驱动系统,包括发动机、发电机,还包括空气压缩机、储气罐,所述的空气压缩机与储气罐连通,所述的储气罐至少设为两组,所述的储气罐内均安装有加热空气用的加热机构,所述的储气罐均通过管路与发动机连通,所述的发动机与发电机同步传动连接,所述的发电机电连接有蓄电池,所述的蓄电池电连接有电冲程机构,所述的空气压缩机、储气罐、加热机构、发动机均与控制器连接,所述的空气压缩机与蓄电池电连接。
作为本发明的较佳实施例,所述的加热机构包括中空的筒体、发热丝、风扇、导线套管,所述的筒体为导热性能良好的金属制成,发热丝与风扇分别安装在筒体内部两端,导线套管一端安装在筒体上,另一端延伸出筒体外,发热丝、风扇通过导线套管与蓄电池电连接。
作为本发明的较佳实施例,所述的导线套管包括耐高温外壳、绝缘隔离层以及铜芯线,所述的铜芯线套装在耐高温外壳内,所述的绝缘隔离层填充在耐高温外壳与铜芯线之间,导线套管的一端装设在储气罐内的加热机构上,另一端延伸出储气罐外,位于储气罐外的导线套管的侧方设置有支线套管,支线套管内套装有用于连接铜芯线的导线,所述的导线一端连接着蓄电池,另一端连接着铜芯线,所述的导线套管设置为两个、分别用于连通正、负电极。
与现有技术相比,本发明的有益效果是:空气压缩机与蓄电池电连接,蓄电池给空气压缩机供能,空气压缩机将空气压缩到储气罐内,然后加热机构对储气罐进行加热,利用热的压缩空气给发动机提供动力,储气罐与加热机构均设置为两组,一组储气罐驱动发动机时,空气压缩机向另一组的储气罐内压缩气体,另一组储气罐内的加热机构工作,准备接替上一组储气罐工作,发动机工作的同时带动发电机工作,发电机给蓄电池充电,当工作状态的储气罐内的压缩空气即将耗尽时,蓄电池给电冲程机构供电,电冲程机构动作,电与气并用,保证发动机的稳定,当另一组储气罐稳定的输出压缩空气后,电冲程机构停止工作,如此循环驱动机车运行,确保机车的续航能力以及机车的稳定性。
附图说明



图1是本发明的整体结构示意图;
图2是本发明的导线套管结构示意图;
图3是本发明的控制器连接结构示意图。
图中:1.发动机;2.发电机;3.空气压缩机;4.储气罐;5.加热机构;501.筒体;502.发热丝;503.风扇;504.导线套管;505.外壳;506.缘隔离层;507.铜芯线;508.支线套管;6.蓄电池;7.电冲程机构;8.控制器;9压力表。
具体实施方式
本发明的主旨在于克服现有技术的不足,提供一种电气混合动力汽车的驱动系统,利用加热机构加热储气罐内的压缩空气,提高空气动力,用加热后的高压气体取代燃油产生的高压气体,驱动机车运行,发动机运行同时带动发电机运行,发电机给蓄电池充电,当压缩空气即将耗尽之时,蓄电池给电冲程机构供电,电冲程机构动作,电与气并用,保证发动机的稳定。
下面结合实施例参照附图进行详细说明,以便对本发明的技术特征及优点进行更深入的诠释。
本发明的如图1-3所示,揭示了一种电气混合动力汽车的驱动系统,包括发动机1、发电机2,还包括空气压缩机3、储气罐4,所述的空气压缩机3与储气罐4连通,所述的储气罐4至少设为两个,所述的储气罐4内均安装有加热空气用的加热机构5,所述的储气罐4均通过管路与发动机1连通,所述的发动机1与发电机2同步传动连接,所述的发电机2电连接有蓄电池6,所述的蓄电池6电连接有电冲程机构7,所述的空气压缩机3、储气罐4、加热机构5、发动机1均与控制器8连接,所述的空气压缩机3与蓄电池6电连接。配合现有的燃油发动机的传动系统、发电机以及蓄电池,根据克拉伯龙方程式PV=NRT,体积一定的情况下,温度升高,气体压力增强,在储气罐内用加热机构加热压缩空气,用加热的压缩空气取代燃油产生的高压空气,空气压缩机与储气罐连通的管道之间装设有止逆阀(未画出),储气罐至少设置为两组,具体工作过程为,蓄电池6给空气压缩机3提供电能,空气压缩机3工作将空气压缩到储气罐4内,当空气压缩机3达到临界点,即空气无法压缩到储气罐4内,控制器8发出指令,加热机构5工作,给储气罐4内的压缩空气加热,储气罐4的罐体上装接有压力表9,压力表达到额定值,加热机构停止加热,储气罐向发动机的活塞提供与燃油相仿的空气动力,驱动机车运行,发动机与发电机联动,发动机运行时,发电机给蓄电池充电,当储气罐内的压缩空气即将耗尽时,此时发动机的动力不足,控制器控制蓄电池给电冲程机构供电,电冲程机构工作,电与气并用,确保发动机的稳定性,与此同时,压缩空气机向着另一组储气罐压缩空气,然后该组储气罐内的加热机构工作,准备接替上一组储气罐驱动发动机,如此循环驱动机车运行,大大增加了机车的续航能力。当然这里的储气罐与加热机构也可以设置为三组,蓄电池也可以电连接一种手动充电装置,确保机车的后备续航能力。
此外,所述的加热机构5包括中空的筒体501、发热丝502、风扇503、导线套管504,所述的筒体为导热性能良好的金属制成,发热丝与风扇分别安装在筒体内部两端,导线套管一端安装在筒体上,另一端延伸出筒体外,发热丝、风扇通过导线套管与蓄电池电连接。导线套管504用于连通电源,通电后发热丝502发热,产生用于加热空气的热量,同时,风扇503也启动,风扇503朝着发热丝方向吹风,类似于风筒作用,产生热风来加热空气,压缩空气在筒体内部循环流动,使得储气罐4内的空气加热更加均匀。
所述的导线套管504包括耐高温外壳505、绝缘隔离层506以及铜芯线507,所述的铜芯线507套装在耐高温外壳505内,所述的绝缘隔离层506填充在耐高温外壳505与铜芯线507之间,导线套管504的一端装设在储气罐4内的加热机构5上,另一端延伸出储气罐4外,位于储气罐4外的导线套管504的侧方设置有支线套管508,支线套管508内套装有用于连接铜芯线507的导线,所述的导线一端连接着蓄电池6,另一端连接着铜芯线507,所述的导线套管504设置为两个分别用于连通正、负电极。铜芯线507套装在耐高温外壳505内,保护铜芯线507避免被高温损伤,铜芯线507与外壳505之间填充绝缘隔离层506,避面漏电,支线套管508与导线套管504连接部位位于储气罐4外,保护支线套管508以及套装在支线套管508内的导线不被高温损坏。
本发明,空气压缩机将空气压缩到储气罐内,然后加热机构对储气罐进行加热,利用热的压缩空气给发动机提供动力,提高空气动力,用加热后的高压气体取代燃油产生的高压气体,驱动机车运行,发动机运行同时带动发电机运行,发电机给蓄电池充电,当储气罐内的压缩空气即将耗尽时,此时发动机的动力不足,控制器控制蓄电池给电冲程机构供电,电冲程机构工作,电与气并用,确保发动机的稳定性,与此同时,压缩空气机向着另一组储气罐压缩空气,然后该组储气罐内的加热机构工作,准备接替上一组储气罐驱动发动机,如此循环驱动机车运行,大大增加了机车的续航能力。
通过以上实施例中的技术方案对本发明进行清楚、完整的描述,显然所描述的实施例为本发明一部分的实施例,而不是全部的实施例。基于本发明中的实施例,本领域普通技术人员在没有做出创造性劳动前提下所获得的所有其他实施例,都属于本发明保护的范围。