申请(专利)号: CN202021053189.8
专利权人: 李学进;
名称:一种模块化瓷砖铺设支架
本实用新型公开了一种模块化瓷砖铺设支架,包括下底座、上支撑座、支撑条和稳固装置,所述下底座的顶部设置有柱形块,所述上支撑座的顶部和底部均设置有支撑块,且上支撑座底部的支撑块可置于柱形块内,所述稳固装置包括内螺纹和外螺纹,所述柱形块的内壁设置有内螺纹,上支撑座底部支撑块的外壁设置有和内螺纹螺纹旋合的外螺纹;本实用新型的有益效果是:通过设计的稳固装置,使得上支撑座和下底座组装更稳固,并可实现上支撑座和下底座的高度可调,瓷砖架设时,使得所有瓷砖保持平整;支撑条底部的凸起插入伸出块表面开设的穿口内,使得支撑条固定稳固,支撑条顶部和上支撑座顶部的支撑块顶部齐平,进一步增加瓷砖放置过程中的支撑。
一种模块化瓷砖铺设支架
技术领域
本实用新型属于瓷砖铺设技术领域,具体涉及一种模块化瓷砖铺设支架。
背景技术
瓷砖是家庭装修中地板装修常用的材料之一,瓷砖和木质地板的材质不同,铺设工艺上自然也有所不同。瓷砖铺设支架的设置,便于提高瓷砖铺设的效率。
现有的模块化瓷砖铺设支架使用时存在着以下方面的不足:
上支撑座置于下底座上时,实现上支撑座和下底座的高度可调方面存在着不足,不利于所有铺设的瓷砖保持平整。
实用新型内容
本实用新型的目的在于提供一种模块化瓷砖铺设支架,以解决上述背景技术中提出的上支撑座置于下底座上时,实现上支撑座和下底座的高度可调方面存在着不足,不利于所有铺设的瓷砖保持平整问题。
为实现上述目的,本实用新型提供如下技术方案:一种模块化瓷砖铺设支架,包括下底座、上支撑座、支撑条和稳固装置,所述下底座的顶部设置有柱形块,所述上支撑座的顶部和底部均设置有支撑块,且上支撑座底部的支撑块可置于柱形块内,所述稳固装置包括内螺纹和外螺纹,所述柱形块的内壁设置有内螺纹,上支撑座底部支撑块的外壁设置有和内螺纹螺纹旋合的外螺纹。
优选的,所述柱形块的外壁设置有多个加强筋,所述下底座的表面贯穿开设有多个固定孔。
优选的,所述上支撑座的顶部设置有四个伸出块,该伸出块的表面开设有穿口。
优选的,所述支撑条的底部设置有可置于穿口内的凸起,该凸起为圆柱形结构。
优选的,所述上支撑座的四角为圆弧过渡设计,所述支撑块为圆柱形结构。
与现有技术相比,本实用新型的有益效果是:
(1)通过设计的稳固装置,使得上支撑座和下底座组装更稳固,并可实现上支撑座和下底座的高度可调,瓷砖架设时,使得所有瓷砖保持平整;
(2)支撑条底部的凸起插入伸出块表面开设的穿口内,使得支撑条固定稳固,支撑条顶部和上支撑座顶部的支撑块顶部齐平,进一步增加瓷砖放置过程中的支撑。
附图说明



图1为本实用新型的结构示意图;
图2为本实用新型的图1中的K区放大结构示意图;
图3为本实用新型的下底座俯视结构示意图;
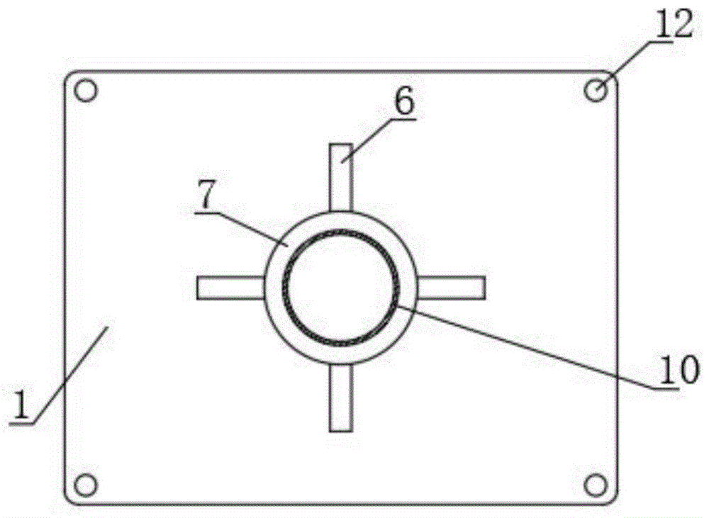
图中:1、下底座;2、上支撑座;3、伸出块;4、支撑块;5、支撑条;6、加强筋;7、柱形块;8、凸起;9、穿口;10、内螺纹;12、固定孔。
具体实施方式
下面将结合本实用新型实施例中的附图,对本实用新型实施例中的技术方案进行清楚、完整地描述,显然,所描述的实施例仅仅是本实用新型一部分实施例,而不是全部的实施例。基于本实用新型中的实施例,本领域普通技术人员在没有做出创造性劳动前提下所获得的所有其他实施例,都属于本实用新型保护的范围。
请参阅图1、图2和图3,本实用新型提供一种技术方案:一种模块化瓷砖铺设支架,包括下底座1、上支撑座2、支撑条5和稳固装置,下底座1的顶部设置有柱形块7,上支撑座2的顶部和底部均设置有支撑块4,且上支撑座2底部的支撑块4可置于柱形块7内,稳固装置包括内螺纹10和外螺纹,柱形块7的内壁设置有内螺纹10,上支撑座2底部支撑块4的外壁设置有和内螺纹10螺纹旋合的外螺纹,使得上支撑座2和下底座1组装更稳固,并可实现上支撑座2和下底座1的高度可调,瓷砖铺设时,使得所有瓷砖保持平整。
本实施例中,优选的,柱形块7的外壁设置有多个加强筋6,进一步增加柱形块7的刚性,下底座1的表面贯穿开设有多个固定孔12,便于通过螺钉穿过固定孔12,将下底座1紧固。
本实施例中,优选的,上支撑座2的顶部设置有四个伸出块3,该伸出块3的表面开设有穿口9,支撑条5的底部设置有可置于穿口9内的凸起8,该凸起8为圆柱形结构,使用时,拿起支撑条5,将支撑条5底部的凸起8插入伸出块3表面开设的穿口9内,使得支撑条5固定稳固,支撑条5顶部和上支撑座2顶部的支撑块4顶部齐平,进一步增加瓷砖放置过程中的支撑。
本实施例中,优选的,上支撑座2的四角为圆弧过渡设计,支撑块4为圆柱形结构,使得拿起上支撑座2更便利。
本实用新型的工作原理及使用流程:柱形块7的内壁设置有内螺纹10,上支撑座2底部支撑块4的外壁设置有和内螺纹10螺纹旋合的外螺纹,使得上支撑座2和下底座1组装更稳固,并可实现上支撑座2和下底座1的高度可调;
拿起支撑条5,将支撑条5底部的凸起8插入伸出块3表面开设的穿口9内,使得支撑条5固定稳固,支撑条5顶部和上支撑座2顶部的支撑块4顶部齐平;
上支撑座2和下底座1组装好,并使得下底座1置于平整的地面上,瓷砖铺设在多个上支撑座2顶部的支撑块4以及支撑条5上,根据需要调节上支撑座2和下底座1高度,使得所有瓷砖保持平整。
尽管已经示出和描述了本实用新型的实施例,对于本领域的普通技术人员而言,可以理解在不脱离本实用新型的原理和精神的情况下可以对这些实施例进行多种变化、修改、替换和变型,本实用新型的范围由所附权利要求及其等同物限定。