申请(专利)号: CN201921679283.1
申请权利人: 赵婉如;
名称:一种多功能磁力笔架
本实用新型公开了一种多功能磁力笔架,通过设置永磁体,可以悬挂部分带有磁吸材料的笔,悬挂架内部设置空腔,放置有圆规,圆规一圆规支脚上设置有测量刻度线,在需要画圆或者测量长度时,可以使用圆规,在支脚内设置空腔,可以作为笔筒使用,整体结构可以折叠,方便收纳,结构简单,适于实用。
一种多功能磁力笔架
技术领域
本实用新型涉及笔架文具,特别是涉及一种多功能磁力笔架。
背景技术
笔架亦称笔格、笔搁,是办公桌上的常见文具之一,当笔不用时,则可以将笔架设在笔架上,这样可以对笔进行整理使之摆放整齐且不会掉落,现有技术中,笔架一般为圆筒状,圆筒状笔架的筒体内容易积灰,且不便于清理,同时现有的笔架存在功能性单一的问题,现有的笔架在收纳方面比较不便,当不使用笔架的时候,整个笔架在收纳时占用空间较大。
实用新型内容
本实用新型的目的在于:为了克服上述缺陷,提供一种便于收纳,功能多样的多功能磁力笔架。
为实现上述目的,本实用新型提供如下技术方案:
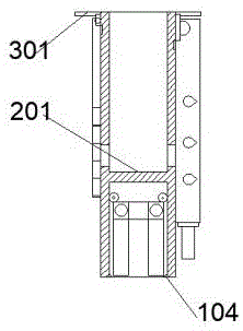
一种多功能磁力笔架,包括底座,底座向上设置有支脚,支脚上部设置有悬挂架,所述的支脚为中空结构,在支脚内设置有隔板,隔板将支脚分为上下两个腔室,在上腔室底部左右侧设置有清理孔,上腔室的深度大于下腔室,在支脚底部设置有底座,底座由两端的端板与一块中间板组成,中间板的尺寸小于支脚的下腔室尺寸,支脚的两端端板与中间板铰接,底座两端的端板可以折叠,底座两端的端板折叠状态时,垂直于中间板朝向下方,所述的底座的中间板两端设置有滑轮,在支脚的下腔室内两侧壁上设置有滑轨,滑轮与滑轨匹配互相匹配,在支脚的底部设置有限位卡,所述的限位卡是从下腔室底部向轴心处伸出一段长度,限位卡之间的宽度大于底座中间板的长度,小于滑轮最远端之间的间距,使滑轮可以在滑轨上滑动,而不会从滑轨处脱落。
进一步的,所述的悬挂架数量为两个,分别设置在支脚的两侧,两个悬挂架均在端部与支脚的顶部铰接,悬挂架可以相对支脚在竖直方向上转动,在其中一个悬挂架内部设置空腔,空腔出口设置在悬挂架远离支脚的端部,在空腔内设置有圆规,所述的圆规可以从悬挂架的外端的空腔出口拉出,在另一个悬挂架上设置有若干悬挂孔,所述的悬挂孔均匀排布在悬挂架上。
进一步的,所述的圆规包括圆规手柄、两个圆规支脚,在其中一个圆规支脚的侧边设置有测量刻度线。
进一步的,所述的上腔室底部左右侧设置有清理孔,所述的清理孔略高于隔板,避免笔从清理孔中漏出。
由于采用了上述方案,本实用新型的有益效果在于:
整体结构可以折叠,方便收纳,设置圆规,圆规上设置测量刻度线,可以用于画圆与测量,功能多样,设置多种悬挂机构,包括永磁体,挂钩,悬挂孔,笔筒,适用于多种不同的笔的放置,同时笔筒设置清理孔,更加方便清洁,避免了笔筒不易清理的问题。
结构可折叠则方便收纳、搬家、以及在运货运送过程中减小占地面积。
附图说明






图1是本实用新型主视剖视图;
图2是本实用新型俯视示意图;
图3是本实用新型圆规的结构示意图;
图4是本实用新型收纳状态剖视图;
图5是本实用新型底座的俯视示意图;
图6是本实用新型圆规处的剖面示意图;
图中:底座1,支脚2,悬挂架3,圆规4。
端板101,中间板102,滑轮103,限位卡104,隔板201,清理孔202,限位板301,挂钩302,永磁体303,悬挂孔304,卡子305,弹簧卡凸401,凹槽402。
具体实施方式
下面将结合附图对本实用新型的技术方案进行清楚、完整地描述,显然,所描述的实施例是本实用新型一部分实施例,而不是全部的实施例。基于本实用新型中的实施例,本领域普通技术人员在没有做出创造性劳动前提下所获得的所有其他实施例,都属于本实用新型保护的范围。
在本实用新型的描述中,需要说明的是,术语“中心”、“上”、“下”、“左”、“右”、“竖直”、“水平”、“内”、“外”等指示的方位或位置关系为基于附图所示的方位或位置关系,仅是为了便于描述本实用新型和简化描述,而不是指示或暗示所指的装置或元件必须具有特定的方位、以特定的方位构造和操作,因此不能理解为对本实用新型的限制。此外,术语“第一”、“第二”、“第三”仅用于描述目的,而不能理解为指示或暗示相对重要性。
实施例
一种多功能磁力笔架,包括底座1,底座上设置有支脚2,支脚上部设置有悬挂架3。
悬挂架3数量为两个,分别设置在支脚的两侧,两个悬挂架均与支脚的顶部铰接,悬挂架可以相对支脚在竖直方向上转动,支脚的顶端设置有限位板301,限位板301向两侧伸出,用于限制悬挂架在竖直方向上的旋转,使悬挂架最多可以旋转至与支脚垂直则会被限位板挡住,当两个悬挂架均与支脚垂直时,两个悬挂架位于同一水平线上,在支脚的上部与悬挂架铰接位置处设置有凹槽,凹槽处铰接有卡子305,卡子305可以在水平方向转动,当悬挂架旋转至与支脚垂直时,将卡子305转动至悬挂架下方,将悬挂架抵住,使悬挂架不能向下方转动,当需要收纳时,将卡子305折叠至支脚表面。
在其中一个悬挂架内部设置空腔,空腔出口设置在悬挂架远离支脚的端部,在空腔内设置有圆规4,所述的圆规可以从悬挂架的外端的空腔出口拉出,所述的圆规包括圆规手柄、两个圆规支脚,两个圆规支脚通过圆规柄铰轴铰接在圆规柄上,在其中一个圆规支脚的侧边设置有测量刻度线,在另一个圆规支脚内设置有笔芯,当需要测量长度时,利用圆规支脚上的测量刻度线进行长度测量,当需要画圆时,可以利用圆规进行画圆。
在圆规柄上设置有弹簧卡凸401,弹簧卡凸外伸部分为流线型结构,在空腔内设置与弹簧卡凸对应位置设置凹槽402,当圆规放置在空腔内时,弹簧卡凸伸入凹槽内,当需要使用时,将圆规拉出,弹簧卡凸的流线型结构受压使其回缩,圆规被拉出,当使用完成后,将圆规沿对应位置放回,弹簧卡凸受压回缩,运动至凹槽位置时伸出,将圆规挡住。
在空腔出口设置有弹簧卡凸,卡凸通过弹簧连接在孔内,在圆规的一个圆规支脚上设置有卡槽,当圆规位于空腔内时,卡凸在弹簧的作用下弹出与卡槽配合,将圆规固定在空腔内,所述悬挂架的外壁还设置有若干的挂钩302,可以用于悬挂毛笔,所述悬挂架底部设置有片状的永磁体303,用于悬挂在顶端设置磁吸材料的笔。
在另一个悬挂架上设置有若干悬挂孔304,所述的悬挂孔均匀排布在悬挂架上,在悬挂架远离支脚处,两侧均匀排布对称设置有若干悬挂孔,带有笔帽、挂钩的笔可以悬挂在悬挂孔内。
所述的支脚2为中空结构,在支脚内设置有隔板201,隔板将支脚分为上下两个腔室,在上腔室底部左右侧设置有清理孔202,清理孔高度略高于隔板,避免放笔时笔头从清理孔中漏出,上腔室的深度大于下腔室,上腔室在使用时可以作为笔筒,用于存放钢笔、中性笔等等。
所述的底座由两端的端板与一块中间板组成,中间板的尺寸小于支脚的下腔室尺寸,底座的两端端板101与中间板102铰接,底座两端的端板可以折叠,底座两端的端板101折叠状态时,垂直于中间板102朝向下方,所述的底座的中间板两端设置有滑轮103,在支脚的下腔室内两侧壁上设置有滑轨,滑轮与滑轨匹配互相匹配,在支脚的底部设置有限位卡104,所述的限位卡是从下腔室底部向轴心处伸出一段长度,限位卡之间的宽度大于底座中间板的长度,小于两侧相对应设置的两个滑轮之间的最远间距,使滑轮可以在滑轨上滑动,而不会从滑轨处脱落,当中间板两端的端板折叠朝下时,两端板之间外侧间距等于中间板的长度,使底座可以通过两侧的滑轨放置在支脚的下腔室内进行收纳,可收纳折叠的底座便于在不使用笔架是进行一个折叠收纳,减小占地空间,有利于包括对于搬家时、和放置在柜体内时减少占用空间。
本实用新型在使用时,悬挂架上用于悬挂不同类型的笔,其中一个悬挂架底部设置的永磁体,可以悬挂顶端设置有磁吸材料的笔,在所述悬挂架内部设置空腔,放置有圆规,圆规一圆规支脚上设置有测量刻度线,在需要画圆或者测量长度时,可以使用圆规,在另一个悬挂架上设置有若干的悬挂孔,将带有挂钩的笔均可以悬挂在悬挂孔内,两个悬挂架均与支脚铰接,可以在笔架不使用时,将两侧悬挂架折叠向下,即完成悬挂架的收纳,在支脚的底部,设置的可折叠的底座,底座可以折叠后,放置于支脚的下腔室内进行收纳,整体结构简单,功能多样,且可以进行折叠收纳,占地面积小,方便搬家和收纳储存搬运。
最后应说明的是:以上所述仅为本实用新型的优选实施例而已,并不用于限制本实用新型,尽管参照前述实施例对本实用新型进行了详细的说明,对于本领域的技术人员来说,其依然可以对前述各实施例所记载的技术方案进行修改,或者对其中部分技术特征进行等同替换。凡在本实用新型的精神和原则之内,所作的任何修改、等同替换、改进等,均应包含在本实用新型的保护范围之内。