申请(专利)号: CN201820300764.6
授权公告日: 2018.09.28
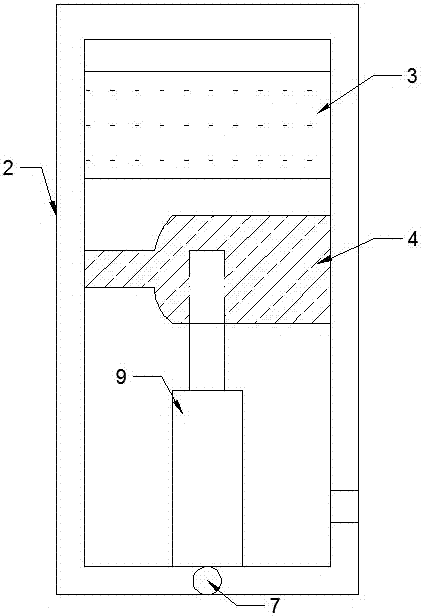
名称:一种静压桩掏土机
本实用新型提供一种静压桩掏土机,包括移动车组、固定框架、油泵、电机、液压控制阀、液压分配器、挂环、转轴A、液压顶A、竖向框架、撑地夹、液压顶B、横板A、横板B、转轴B、齿轮、链条、滑动框、滑轮、液压马达A、转轴C、机头箱、万向节、动力齿轮、从动齿轮、动力皮带轮、车组皮带轮、皮带、钻头、分配器A、分配器B、分配器C和分配器D,本实用新型的静压桩掏土机,可以完全替代人力掏土,完成质量好,效率高,并且可以设定掏土深度,开拓了新的掏土深度,解决了人力不能深度掏土的问题,并且动力源均采用电力,避免了燃油污染,绿色节能,另外其体积小,重量轻,便于移动和运输
说明书:
一种静压桩掏土机
技术领域
本发明设计建筑机械领域,特别涉及一种静压桩掏土机。
背景技术
随着我国经济的迅速发展,我国的城市建设也随之得到迅速发展,市容、市貌正在发生着巨大变化,民用住宅、办公楼、商住两用等多层建筑的大量建造已成为目前我国城市建设和发展的主流。在城市多层建筑的建造中、特别是一些沿海城市的多层建筑建造中,由于地质土层受海相沉积影响,形成软弱地基特性。为使地基对建筑物具有足够的承载能力使建筑物的沉降在使用期限内被控制在允许的范围内,常要在地基中沉入钢筋混凝土桩。目前在软弱地基上造多层建筑时向地基土层沉入的钢筋混凝土桩,一种是现场钻孔浇注而成的钢筋混凝土桩。这种钢筋混凝土桩由于沉桩施工工序多、工程量大,施工现场脏乱,不利于建筑施工。使用较多的是预制的钢筋混凝土桩,其中又以预制空心钢筋混凝土静压桩使用的较为普遍。其优点是桩基自重小、节省材料,沉桩施工噪音小,对施工现场周围居民的正常生活、休息影响小。
现有的预制空心钢筋混凝土静压桩在压进土中之后,需要对静压桩的空心孔洞进行掏土,现阶段一般采用人工掏土,人工掏土效率较低,工时较长,并且只能进行较浅深度的掏土,对高深度掏土无能为力。
发明内容
本发明为了弥补现有技术的不足,提供了一种结构简单,使用方便,高效的静压桩掏土机。
本发明是通过如下技术方案实现的:
一种静压桩掏土机,包括上端设置有固定框架的移动车组,固定框架右侧设置有竖向框架,固定框架后侧顶端设置有转轴A。
本发明的静压桩掏土机,所述固定框架上设置有油泵、电机、液压控制阀和液压分配器,所述固定框架中间向右倾斜设置有液压顶A。
本发明的静压桩掏土机,所述竖向框架底端设置有撑地夹,竖向框架内部中间水平设置有横板A和横板B,竖向框架内部竖直设置有液压顶B,液压顶B顶端设置有转轴B,转轴B两端设置有齿轮,齿轮上设置有链条,链条一端固定于横板B,链条另一端固定设置有滑动框,滑动框一侧设置有机头箱,机头箱上端设置有液压马达A,机头箱内贯通有转轴C,转轴C底端连接有钻头。
本发明的静压桩掏土机,所述固定框架的左右两侧及前侧中间位置均设置有挂环。
本发明的静压桩掏土机,所述固定框架与竖向框架之间通过转轴A活动连接。
本发明的静压桩掏土机,所述转轴C与钻头之间设置有万向节。
本发明的静压桩掏土机,所述滑动框与竖向框架之间设置有滑轮。
本发明的静压桩掏土机,所述所述液压分配器由分配器A、分配器B、分配器C和配器D组成,所述分配器A和分配器D分别通过液压油管连接有液压马达A和液压马达D。
本发明的静压桩掏土机,所述液压马达D上设置有动力齿轮,动力齿轮卡合有从动齿轮,从动齿轮上设置有动力皮带轮,动力皮带轮通过皮带连接与移动车组上的车组皮带轮。
本发明的静压桩掏土机,所述油泵、液压控制阀和液压分配器通过液压油管依次连接。
本发明的静压桩掏土机,所述液压顶A的顶端连接与横板A上。
本发明的静压桩掏土机,所述转轴C上环套有齿轮,齿轮与液压马达A中的齿轮相卡合。
本发明的有益效果是:
本发明的静压桩掏土机,可以完全替代人力掏土,完成质量好,效率高,并且可以设定掏土深度,开拓了新的掏土深度,解决了人力不能深度掏土的问题,并且动力源均采用电力,避免了燃油污染,绿色节能,另外其体积小,重量轻,便于移动和运输。
附图说明
下面结合附图对本发明作进一步说明。





图1为本发明的结构示意图;
图2为本发明的竖向框架一侧视角视图;
图3为固定框架一侧视角结构示意图;
图4为液压顶B与链条之间的连接方式结构示意图;
图5为移动车组与液压马达连接驱动结构示意图。
图中,1移动车组;2固定框架;3油泵;4电机;5液压控制阀;6液压分配器;7挂环;8转轴A;9液压顶A;10竖向框架;11撑地夹;12液压顶B;13横板A;14横板B;15转轴B;16齿轮;17链条;18滑动框;19滑轮;20液压马达A;21转轴C;22机头箱;23万向节;24动力齿轮;25从动齿轮;26动力皮带轮;27车组皮带轮;28皮带;29钻头;601分配器A;602分配器B;603分配器C;604分配器D。
具体实施方式
为了易于说明,在这里可以使用诸如“上”、“下”“左”“右”等空间相对术语,用于说明图中示出的一个元件或特征相对于另一个元件或特征的关系。应该理解的是,除了图中示出的方位之外,空间术语意在于包括装置在使用或操作中的不同方位。例如,如果图中的装置被倒置,被叙述为位于其他元件或特征“下”的元件将定位在其他元件或特征“上”。因此,示例性术语“下”可以包含上和下方位两者。
附图1-5为本发明的一种具体实施例。该实施例包括上端设置有固定框架2的移动车组1,固定框架2右侧设置有竖向框架10,固定框架2后侧顶端设置有转轴A8,移动车组1为带有皮带轮的车组,可为拖拉机车头,竖向框架10可以通管转轴A8有竖直转为水平放置于固定框架2的顶端,方便工作完之后掏土机的运输。
本发明的静压桩掏土机,所述固定框架2上设置有油泵3、电机4、液压控制阀5和液压分配器6,所述固定框架2中间向右倾斜设置有液压顶A9,电机4接通电源提供动力源,液压控制阀5用来控制系统的液压大小范围,可对系统液压进行调节,液压分配器6可以把油泵3中的液压油分配到不用的液压马达中进行工作,液压顶A9动力主要用于竖向框架10的折叠。
本发明的静压桩掏土机,所述竖向框架10底端设置有撑地夹11,两撑地夹11的宽度略宽于静压桩的直径,并且撑地夹在掏土完成后钻头拔出时进行撑地作用,防止掏土机倾斜翻转,竖向框架10内部中间水平设置有横板B14和横板A13,竖向框架10内部竖直设置有液压顶B12,液压顶B12主要用于钻头29的抬起和下落速度控制,液压顶B12顶端设置有转轴B15,转轴B15两端设置有齿轮16,齿轮16上设置有链条17,链条17主要用来保证钻头29可下降到最低端,如若钻头29和机头22固定于液压顶B12上机头22和钻头29均无法下降到最低端,相应的就缩短了掏土深度,链条17一端固定于横板B14,链条17另一端固定设置有滑动框18,滑动框一侧设置有机头箱22,机头箱22上端设置有液压马达A20,机头箱22内贯通有转轴C21,转轴C21底端连接有钻头29,转轴C21上可设置有螺旋卡扣方便加深掏土距离。
本发明的静压桩掏土机,所述固定框架2的左右两侧及前侧中间位置均设置有挂环7,挂环7用来和吊车连接,方便掏土机进出建筑工地的各个角落。
本发明的静压桩掏土机,所述固定框架2与竖向框架10之间通过转轴A8活动连接,液压顶A9向上给予竖向框架10动力,竖向框架10通过转轴由竖直变为水平放置到固定框架2的顶端。
本发明的静压桩掏土机,所述转轴C21与钻头27之间设置有万向节23,万向节23可以更好的保护钻头,放置在掏土过程中钻头受理不均而折断。
本发明的静压桩掏土机,所述滑动框18与竖向框架10之间设置有滑轮19,滑轮19减小主力方便竖向框架10的滑行。
本发明的静压桩掏土机,所述所述液压分配器6由分配器A601、分配器B602、分配器C603和分配器D604组成,所述分配器A601和分配器D604分别通过液压油管连接有液压马达A20和液压马达D,分配器A601控制液压马达A20来控制钻头29的正转反转,分配器B602控制控制液压顶B12来控制机头22和钻头29的上升和下降,分配器C603控制液压顶A9上升来让竖向框架10变为水平方便运输,液压顶A9下降来让竖向框架10由水平变为竖直,分配器D604控制液压马达D,从而控制其上的动力齿轮24进而直接利用电力和液压驱动移动车组在工作中1移动到下一静压桩上工作。
本发明的静压桩掏土机,所述液压马达D上设置有动力齿轮24,动力齿轮24卡合有从动齿轮25,从动齿轮25上设置有动力皮带轮26,动力皮带轮26通过皮带28连接与移动车组1上的车组皮带轮27,进而驱动移动车组1运动。
本发明的静压桩掏土机,所述油泵3、液压控制阀5和液压分配器6通过液压油管依次连接。
本发明的静压桩掏土机,所述液压顶A9的顶端连接与横板A13上。
本发明的静压桩掏土机,所述转轴C上环套有齿轮,齿轮与液压马达A20中的齿轮相卡合,进而有液压马达A20带动钻头转动。
掏土时,撑地夹11支撑地面,利用分配器A601控制钻头29转动对静压桩中心的孔洞进行掏土,掏土过程中静压桩内部土层被挤压出,然后利用分配器A601反向转动钻头同时控制分配器B602控制液压顶B12来控制机头22和钻头29的上升,之后控制分配器D604控制液压马达D,从而控制其上的动力齿轮24进而直接利用电力和液压驱动移动车组在工作中1移动到下一静压桩上工作,全部工作完成,分配器C603控制液压顶A9上升来让竖向框架10变为水平方便运输,挂环7结合吊车方便掏土机进出各种建筑场地。
以上对本发明的具体实施进行了详细描述,但是只是作为一个范例,本发明并不限制于以上描述的具体实施案例,对本发明进行的等同修改也在本发明的保护范围之内。