专利名称:一种气吸式育苗盘播种设备
专 利 号:CN202021270461.8
专利权人:孙学工
项目介绍:本实用新型公开了一种气吸式育苗盘播种设备,包括吸尘器本体,连接管,管头,闭合圆板,T型转轴,闭合软帘,弹簧,吸嘴,风箱,育苗盘,种子容器,按压开关;所述吸尘器本体的进气端与连接管的一端连接;所述连接管的另一端与管头尾部开口连接;所述管头的顶部开口固定于风箱背面;所述风箱的背部管头固定的一侧设有通风孔;所述通风孔外侧设有科活动的闭合软帘;所述闭合软帘的另一端可进行开合;所述闭合圆板通过T型转轴固定于管头顶部内侧;所述T型转轴的尾部横穿管头,并在尾部的端头连接有按压开关;所述T型转轴的前端两头分别与弹簧和闭合软帘的开合一端连接;所述弹簧固定于风箱的背板之上;所述风箱的底部设有吸嘴。
一种气吸式育苗盘播种设备
技术领域
本实用新型涉及农业育苗技术领域,具体涉及一种气吸式育苗盘播种设备。
背景技术
在农业播种方面,育苗是一种培育幼苗的方式,该种培育方式是指在苗圃、温室、或温室里培育幼苗,以备一直到土地里去栽种;也指各种生物细小是经过人工保护直至能独立生存的阶段;俗话说苗壮半收成就是这个道理。
育苗是一项劳动强度大、费时、技术性强的工作;在种子放入育苗盘阶段,需要人工进行操作,由于育苗盘穴数量较多,人工操作起来非常的不便,工作效率较低,如何设计一种快速播种并且成本较低的设备是我们需要解决的问题。
发明内容
根据现有技术的不足,本实用新型提供了一种气吸式育苗盘播种设备,通过利用吸尘器的吸力以及控制吸力结构可以将种子吸起,并同时放入对应育苗盘穴,相比人工操作更简单效率更高。
为实现以上目的,本实用新型通过以下技术方案予以实现:一种气吸式育苗盘播种设备,包括吸尘器本体,连接管,管头,闭合圆板,T型转轴,闭合软帘,弹簧,吸嘴,风箱,育苗盘,种子容器,按压开关;所述育苗盘表面设有穴孔;所述种子容器是存放种子的器皿;所述吸尘器本体的进气端与连接管的一端连接;所述连接管的另一端与管头尾部开口连接;所述管头为L型折弯件;所述管头的顶部开口固定于风箱背面;所述风箱的背部管头固定的一侧设有通风孔;所述通风孔外侧设有科活动的闭合软帘;所述闭合软帘的一端与风箱固定;所述闭合软帘的另一端可进行开合;所述闭合圆板通过T型转轴固定于管头顶部内侧,并随T型转轴进行转动;所述T型转轴的尾部横穿管头,并在尾部的端头连接有按压开关;所述T型转轴的前端两头分别与弹簧和闭合软帘的开合一端连接,且两端不在同一水平线;所述弹簧固定于风箱的背板之上;所述风箱内部为空心结构;所述风箱的底部设有吸嘴;所述吸嘴的顶部设有细孔。
优选地,所述管头的顶部开口固定于风箱背面中部。
优选地,所述风箱的背部管头固定一侧的通风孔数量在一个以上。
优选地,所述闭合软帘选用不透气材质。
优选地,所述闭合软帘可形变进行折弯。
优选地,所述按压开关的一端与T型转轴尾部端头固定,按压另一端控制T型转轴进行旋转。
优选地,所述T型转轴的前端于闭合软帘连接的端头部分高于与弹簧连接的一端。
优选地,所述吸嘴数量与育苗盘穴数量一致且对应。
本实用新型有益效果有以下几点:
1、相比人工操作的方式提高了育苗盘播种速度,效率较高;
2、该装置在操作时无需对吸尘器一直进行打开与关闭,通过管头处的按压开关就可实现吸力打开与关闭,吸尘器的开关的寿命不会造成影响;
3、该装置操作简单,成本低廉,适合大面积推广。
附图说明





图1为本实用新型的整体结构示意图。
图2为本实用新型的吸嘴结构示意图。
图3为本实用新型的T型转轴连接关系示意图。
图4为本实用新型的按压开关结构示意图。
图5为本实用新型的管头内部结构示意图。
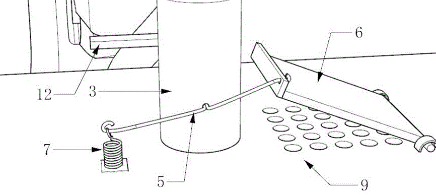
图中,吸尘器本体1,连接管2,管头3,闭合圆板4,T型转轴5,闭合软帘6,弹簧7,吸嘴8,风箱9,育苗盘10,种子容器11,按压开关12。
具体实施方式
为了更好的展示本实用新型的内容,下面结合附图对本实用新型做进一步的详细说明。
如图1,2,3,4,5所示,一种气吸式育苗盘播种设备,包括吸尘器本体1,连接管2,管头3,闭合圆板4,T型转轴5,闭合软帘6,弹簧7,吸嘴8,风箱9,育苗盘10,种子容器11,按压开关12。所述育苗盘10表面设有穴孔;种子容器11是存放种子的器皿;吸尘器本体1的进气端与连接管2的一端连接;连接管2的另一端与管头3尾部开口连接;管头3为L型折弯件;管头3的顶部开口固定于风箱9背面中部;风箱9的背部管头3固定的一侧设有通风孔,通风孔数量在一个以上,根据规格进行适当调整,保证能迅速释放压力即可;通风孔外侧设有科活动的闭合软帘6,闭合软帘6选用不透气材质,再软帘盖合时,保证有一定的气密性;且闭合软帘6质地较软,可进行形变,防止T型转轴5转动时造成阻挡;闭合软帘6的一端与风箱9固定;闭合软帘6的另一端可进行开合;闭合圆板4通过T型转轴5固定于管头3顶部内侧,并随T型转轴5进行转动,通过闭合圆板4与闭合软帘6的配合,保证泄压后,风箱9底部吸嘴8不会产生吸力,即使闭合圆板4有一定的漏风情况也会通过风箱9背部的通孔处进入等同风量,保证内外压力相等;T型转轴5的尾部横穿管头3,并在尾部的端头连接有按压开关12,按压开关12的一端与T型转轴5尾部端头固定,按压另一端控制T型转轴5进行旋转;T型转轴5的前端两头分别与弹簧7和闭合软帘6的开合一端连接,且两端不在同一水平线;弹簧7固定于风箱9的背板之上;风箱9内部为空心结构;风箱9的底部设有吸嘴8,吸嘴8数量应与育苗盘10穴数量一致且对应,保证种子能放入育苗盘10穴;吸嘴8的顶部设有细孔;要注意的是T型转轴5的前端于闭合软帘6连接的端头部分高于与弹簧7连接的一端,初始状态下保证闭合软帘6属于常开状态。按压开关12后,闭合软帘6才会闭合;风箱的背板可以与风箱拆卸开,可以使用插槽结构背板插入的方式,或者螺纹固定的方式;当需要打开时,方便拆卸。
使用时,先将吸尘器本体1通电,保证吸尘器本体1正常工作后,将风箱9底部的吸嘴8对准种子容器11内的种子,然后按动按压开关12不松手的情况下,提起风箱9;由于吸嘴8前方的细孔能将种子吸起,然后移动风箱9到育苗盘10位置,对准育苗盘10穴后松开按压开关12,内部闭合圆板4闭合,闭合软帘6也会复位打开,种子会因为失去吸力掉落。上述中,如未单独介绍其固定方式,皆使用业内技术人员通用技术手段,焊接或螺纹紧固、轴承连接的方式进行固定。
以上所述,仅为本实用新型较佳的具体实施方式,但本实用新型的保护范围并不局限于此,任何熟悉本技术领域的技术人员在本实用新型揭露的技术范围内,根据本实用新型的技术方案及其实用新型构思加以等同替换或改变,都应涵盖在本实用新型的保护范围之内。