申请(专利)号: CN201922151134.4
发明设计人: 宋飞
本实用新型属于建筑物技术领域,特别涉及一种新型多功能活动板房,包括前板、后板、顶板、底板和两块可折叠侧板,两块所述可折叠侧板均包括上侧板和下侧板,所述上侧板一端和下侧板一端铰接,所述上侧板另一端与顶板铰接,所述下侧板另一端与底板铰接,所述前板的底部两端与底板之间、后板底部两端与底板之间均通过连接件实现折叠;所述前板、后板、顶板、底板和两块可折叠侧板均使用方管焊接制作成框架形式,并铺覆有带腔塑料板,所述方管和带腔塑料板内均充有氮气。本实用新型兼具多种功能,适应性强,多种环境下均可使用,折叠运输,大大节省空间占用,实用性极强,可大范围推广使用。
一种新型多功能活动板房
技术领域
本实用新型属于建筑物技术领域,特别涉及一种新型多功能活动板房。
背景技术
活动板房在一些建筑工地、临时办公室、自然灾害后搭建的指挥部中起到十分重要的作用,活动板房能够重复利用,大大减低了施工成本。
目前的活动房大多数是钢架结构,在钢架结构上固定墙板后即可形成活动房,搭建方便,且结构简单实用。用于搭建活动板房的墙体结构通常是由内外两层铁皮以及一层夹设在铁皮之间的泡沫层构成,故现有的活动板房具有如下缺点:1、具有一定的保温功能,但是不具有防火功能,一旦温度升高是铁皮夹层的泡沫容易起火,则整个活动板房都会被危及,安全系数低;2、墙体不能重复使用,由于两层铁皮和位于其中间的泡沫层之间没有固定成一体,因此当拆除活动板房时,墙体也随之散开。3、安装工程量、拆除工程量都很大,运输也不方便,费时费力。
实用新型内容
本实用新型要解决的技术问题是克服以上技术问题,提供一种方便安装与拆除、方便运输,可重复使用,同时具备多种功能的新型活动板房。
一种新型多功能活动板房,包括前板、后板、顶板、底板和两块可折叠侧板,两块所述可折叠侧板均包括上侧板和下侧板,所述上侧板一端和下侧板一端铰接,所述上侧板另一端与顶板铰接,所述下侧板另一端与底板铰接,所述前板的底部两端与底板之间、后板底部两端与底板之间均通过连接件实现折叠;
所述前板、后板、顶板、底板和两块可折叠侧板均使用方管焊接制作成框架形式,并铺覆有带腔塑料板,所述方管和带腔塑料板内均充有氮气。
所述的,所述连接件包括连接杆,所述连接杆的底部通过与焊接于底板的螺母螺接,所述连接杆的顶部深入前板或后板两侧的方管内,且套接有套接件,所述套接件与连接杆通过紧固件紧固连接,所述套接件的外侧连接有导杆,所述导杆的一端通过导向槽伸出方管。
所述的,前板、后板、顶板、底板和两块可折叠侧板之间相互接触位置通过固定连接件连接,所述固定连接件包括焊接于方管一侧的第一连接块和用于连接两个第一连接块的第二连接块,所述第一连接块上开有内螺纹,所述第二连接块通过螺栓连接于第一连接块。
所述的,所述方管靠近带腔塑料板的一侧设有连接块,所述带腔塑料板与连接块相对应位置设有螺栓孔,所述连接块上设有内螺纹,所述带腔塑料板通过螺栓连接于连接块,所述螺栓与带腔塑料板间设有密封垫片。
所述的,所述带腔塑料板采用ABS工程塑料制作。
所述的,所述前板上设有出入门和防盗窗。
所述的,所述底板的底部固定连接有千斤顶,且千斤顶共设置有四组,每个所述千斤顶一侧固定连接有带刹车滚轮。
所述的,顶板的顶部铺覆有太阳能电池板。
本实用新型具有如下有益效果:本实用新型兼具多种功能,适应性强;活动板能在生产厂家一次性制作成型、调试完善,在现场快速安装,置放位置能按实际需要随时调整,达到了活动板房在使用上快捷方便,可随时轻便地调整整体活动板房的位置;通过折叠实现了整体产品运输空间占用率最少,在相同空间,整体运输数量大大增加;适用范围广泛,除了传统活动板房适用范围外,还可用于报亭、野外临时住所、抗震救灾用活动板房、仓库、临时办公室;顶部设置太阳能,方便节能,环保;框架由充有氮气的方管拼接而成,并铺设冲有氮气的带腔塑料板,耐候性强如防晒、防风、防雨等;通过千斤顶和转轮相结合,可使本装置悬空,减少潮气进入到板房内,居住和办公更加的舒适;当千斤顶收缩后可通过滚轮与地面接触,从而使对本装置的转移更加的方便和省力。
附图说明









图1是本实用新型一种新型多功能活动板房的结构示意图;
图2是本实用新型一种新型多功能活动板房的连接件结构示意图;
图3是本实用新型一种新型多功能活动板房的图2的左视图;
图4是本实用新型一种新型多功能活动板房的可折叠侧板折叠及铰接示意图。
图5是本实用新型一种新型多功能活动板房的折叠完整后示意图;
图6是本实用新型一种新型多功能活动板房的固定连接件结构示意图;
图7是本实用新型的方管与带腔塑料板一种对接示意图;
图8是本实用新型的一种人字形屋顶结构示意图;
图9是本实用新型的一种拱形屋顶结构示意图。
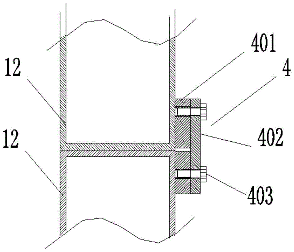
如图所示:1、前板;2、可折叠侧板;3、顶板;4、固定连接件;5、底板;6、防盗窗;7、出入门; 8、连接件;9、带刹车滚轮;10、千斤顶;11、后板;12、方管;13、带腔塑料板;14、连接块;15、密封垫片;301、顶板圈梁;401、第一连接块;402、第二连接块;801、连接杆;802、螺母;803、套接件; 804、导杆;805、紧固件;806、导向槽。
具体实施方式
下面结合附图对本实用新型做进一步的详细说明。
如图1-7所示,本实用新型一种新型多功能活动板房,包括前板1、后板11、顶板3、底板5和两块可折叠侧板2,两块所述可折叠侧板2均包括上侧板和下侧板,所述上侧板一端和下侧板一端铰接,所述上侧板另一端与顶板铰接,所述下侧板另一端与底板铰接,所述前板1的底部两端与底板5之间、后板11底部两端与底板5之间均通过连接件8实现折叠;
所述前板1、后板11、顶板3、底板5和两块可折叠侧板2均使用方管12焊接制作成框架形式,并铺覆有带腔塑料板13,所述方管12和带腔塑料板13内均充有氮气。
所述的,所述连接件8包括连接杆801,所述连接杆801的底部通过与焊接于底板5的螺母802螺接,所述连接杆801的顶部深入前板1或后板11两侧的方管12内,且套接有套接件803,所述套接件803与连接杆801 通过紧固件805紧固连接,所述套接件803的外侧连接有导杆804,所述导杆804的一端通过导向槽806伸出方管12。
所述的,前板1、后板11、顶板3、底板5和两块可折叠侧板2之间相互接触位置通过固定连接件4连接,所述固定连接件4包括焊接于方管12一侧的第一连接块401和用于连接两个第一连接块401的第二连接块 402,所述第一连接块401上开有内螺纹,所述第二连接块402通过螺栓403连接于第一连接块401。
所述的,所述方管12靠近带腔塑料板13的一侧设有连接块14,所述带腔塑料板13与连接块14相对应位置设有螺栓孔,所述连接块14上设有内螺纹,所述带腔塑料板13通过螺栓连接于连接块14,所述螺栓与带腔塑料板13间设有密封垫片15。
所述的,所述带腔塑料板13采用ABS工程塑料制作,优良耐热耐候性、尺寸稳定和耐冲击性能强。
所述的,所述前板1上设有出入门7和防盗窗6。
所述的,所述底板5的底部固定连接有千斤顶10,且千斤顶10共设置有四组,每个所述千斤顶10一侧固定连接有带刹车滚轮9。
所述的,顶板3的顶部铺覆有太阳能电池板,为其提供清洁能源,环保。
本实用新型在前板1、后板11、顶板3、底板5和可折叠侧板2上还设有吊环安装螺母,方便运输与装卸。实用新型的可折叠侧板2在折叠放置在底板上后,调节连接件8,将前板和后板分别抬升至可平放高度,以导杆806所在位置为旋转点,将前板1和后板11放置在折叠后的可折叠侧板2上,其中由于前板1和后板11放置在折叠后的可折叠侧板2上的上下位置的不确定性,需将后板11与底板5的连接件8的连接杆801,和前板 1与底板5的连接杆801的长度根据位置确定,如前板1放置在后板11上侧,则前板1与底板5间的连接杆801 的长度的大于后板11与底板5件的连接杆801的长度。
另外,为了适应环境需要,本实用新型进行适当性的改变,如图8和图9所示,利用本实用新型的折叠性能同时,图8展示了在保留顶板3的顶板圈梁301的情况下,在圈梁顶部增设人字形屋顶,图9在保留顶板 3的顶板圈梁301的情况下,在圈梁顶部增设拱形屋顶,其人字形形屋顶和拱形屋顶可根据需要设计性拼装模式方便安装运输。
本实用新型可在厂家一次性制作成型、调试完善,在现场快速安装,置放位置能按实际需要随时调整,达到了活动板房在使用上快捷方便,可随时轻便地调整整体活动板房的位置;通过折叠实现了整体产品运输空间占用率最少,在相同空间,整体运输数量大大增加,实用性能极强。
以上对本实用新型及其实施方式进行了描述,这种描述没有限制性,附图中所示的也只是本实用新型的实施方式之一,实际的结构并不局限于此。总而言之如果本领域的普通技术人员受其启示,在不脱离本实用新型创造宗旨的情况下,不经创造性的设计出与该技术方案相似的结构方式及实施例,均应属于本实用新型的保护范围。