申请(专利)号: CN202020656201.8
名称:一种防松动的组合螺栓
发明设计人: 丁云好;
本实用新型公开了一种防松动的组合螺栓,包括螺栓本体、第一螺母、螺丝套、第二螺母;所述螺栓本体包括螺栓头和螺栓杆;所述螺栓杆的外表面上设置有螺栓外螺纹;所述第一螺母的内表面上设置有与螺栓外螺纹配合的第一内螺纹;所述螺丝套的内表面上设置有与螺栓外螺纹配合的螺丝内螺纹;所述螺丝套的外表面上设置有螺丝外螺纹;所述第二螺母的内表面上设置有与螺丝外螺纹配合的第二内螺纹;所述螺栓外螺纹与螺丝外螺纹的旋向相反。本实用新型中第一螺母、螺丝套、第二螺母的配合以及螺栓外螺纹、螺丝外螺纹旋向相反的设置,均起到了防止第一螺母松动的作用,从而能够起到较好的防松效果。
一种防松动的组合螺栓
技术领域
本实用新型属于紧固件技术领域,具体涉及一种防松动的组合螺栓。
背景技术
螺栓是将两个或两个以上构件紧固在一起时所采用的机械零件,其通常与螺母配合使用,通过给螺母施加预紧力而固定。但是由于机械振动或者其他外力作用,螺栓与螺母之间易产生松动,甚至脱落,从而失去对构件的紧固作用。
目前,螺栓防松动的措施包括添加弹性垫圈的摩擦防松、采用开口销等的机械防松以及采用胶水粘合的粘接防松等。其中,采用弹性垫圈的摩擦防松方式的防松效果不佳;而采用开口销等的机械防松以及采用胶水粘合的粘接防松都是通过限制螺母与螺栓之间的相对转动来达到防松的目的,这两种防松方式会造成拆卸的不便,甚至会破坏其中的螺栓或者螺母,从而导致螺栓、螺母的重复使用性降低。
实用新型内容
本实用新型的目的是为克服上述现有技术的不足,提供一种防松动的组合螺栓。
为实现上述目的,本实用新型采用如下技术方案:
一种防松动的组合螺栓,包括螺栓本体、第一螺母、螺丝套、第二螺母;所述螺栓本体包括螺栓头和螺栓杆;
所述螺栓杆的外表面上设置有螺栓外螺纹;
所述第一螺母的内表面上设置有与螺栓外螺纹配合的第一内螺纹;
所述螺丝套的内表面上设置有与螺栓外螺纹配合的螺丝内螺纹;所述螺丝套的外表面上设置有螺丝外螺纹;
所述第二螺母的内表面上设置有与螺丝外螺纹配合的第二内螺纹;
所述螺栓外螺纹与螺丝外螺纹的旋向相反。
优选的,所述螺栓头为圆柱型或正六棱柱型。
优选的,所述螺栓本体为全牙螺栓。
优选的,所述螺丝套一端的外侧面上设置有若干组卡口切面,每组卡口切面相对设置。
优选的,所述第一螺母的厚度与第二螺母的厚度一致。
优选的,所述第一螺母外侧面的横截面与第二螺母外侧面的横截面大小一致。
优选的,所述螺栓杆的上部设置有用来防止螺丝套由螺栓杆上脱落的限位件。
优选的,所述限位件为限位销;
所述螺栓杆的上部沿轴向方向设置有若干贯通的用来安装限位销的限位孔,所述限位孔的中心轴线与螺栓杆的中心轴线相垂直;
所述螺丝套的上部设置有贯通的用来与限位销配合的定位孔,所述定位孔的中心轴线与螺丝套的中心轴线相垂直。
优选的,所述限位销的一端固定设置防脱端头;所述限位销的另一端螺纹连接有防脱螺母。
本实用新型的有益效果是:
(1)本实用新型防松动的组合螺栓通过第一螺母、螺丝套、第二螺母的配合,增加了预紧力,在一定程度上起到防止第一螺母松动的作用;同时,当受到振动或者外力作用下第一螺母有松动的趋势时,第二螺母与第一螺母接触面之间的摩擦力促使第二螺母产生与第一螺母的松动方向一致的运动趋势,而螺栓外螺纹、螺丝外螺纹旋向相反的设置,使第一螺母的松动方向与第二螺母的拧紧方向一致,即当第一螺母有松动的趋势时,第二螺母会因为相反的螺纹结构而产生自紧作用,从而防止第一螺母的松动;因此,本申请中第一螺母、螺丝套、第二螺母的配合以及螺栓外螺纹、螺丝外螺纹旋向相反的设置,均起到了防止第一螺母松动的作用,从而能够起到较好的防松效果。
(2)本实用新型防松动的组合螺栓中各个组件之间均采用螺纹连接,一方面安装、拆卸简单易操作,另一方面重复使用率高。
附图说明




构成本申请的一部分的说明书附图用来提供对本申请的进一步理解,本申请的示意性实施例及其说明用于解释本申请,并不构成对本申请的不当限定。
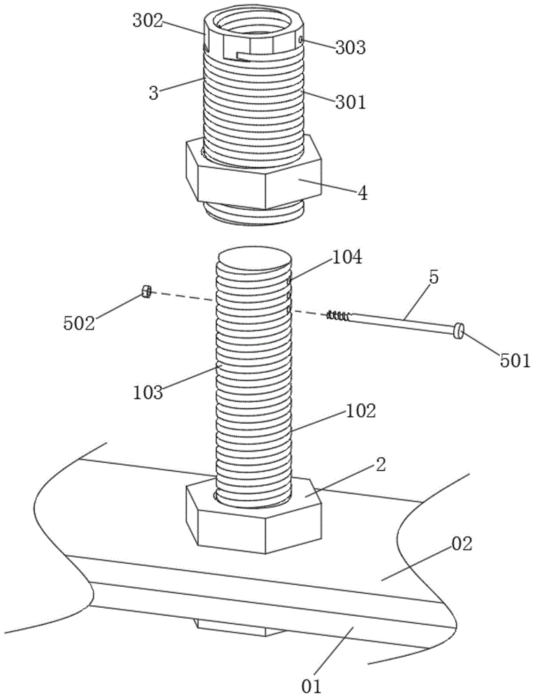
图1是实施例1中本实用新型防松动的组合螺栓的结构示意图;
图2是实施例1中本实用新型中螺丝套的结构示意图;
图3是实施例1中本实用新型防松动的组合螺栓的装配示意图;
图4是实施例2中本实用新型防松动的组合螺栓的结构示意图;
图5是实施例2中本实用新型防松动的组合螺栓的装配示意图;
其中:
01-第一构件,02-第二构件;
1-螺栓本体,101-螺栓头,102-螺栓杆,103-螺栓外螺纹,104-限位孔,2-第一螺母,3-螺丝套,301-螺丝外螺纹,302-卡口切面,303-定位孔,4-第二螺母,5-限位销,501-防脱端头,502-防脱螺母。
具体实施方式
应该指出,以下详细说明都是例示性的,旨在对本申请提供进一步的说明。除非另有指明,本文使用的所有技术和科学术语具有与本申请所属技术领域的普通技术人员通常理解的相同含义。
需要注意的是,这里所使用的术语仅是为了描述具体实施方式,而非意图限制根据本申请的示例性实施方式。如在这里所使用的,除非上下文另外明确指出,否则单数形式也意图包括复数形式,此外,还应当理解的是,当在本说明书中使用术语“包含”和/或“包括”时,其指明存在特征、步骤、操作、器件、组件和/或它们的组合。
在本实用新型中,术语如“底”、“顶”等指示的方位或位置关系为基于附图所示的方位或位置关系,只是为了便于叙述本实用新型各部件或元件结构关系而确定的关系词,并非特指本实用新型中任一部件或元件,不能理解为对本实用新型的限制。
本实用新型中,术语如“相连”、“连接”等应做广义理解,表示可以是固定连接,也可以是一体地连接或可拆卸连接;可以是直接相连,也可以通过中间媒介间接相连。对于本领域的相关科研或技术人员,可以根据具体情况确定上述术语在本实用新型中的具体含义,不能理解为对本实用新型的限制。
下面结合附图和实施例对本实用新型进一步说明。
实施例1:
如图1所示,一种防松动的组合螺栓,包括螺栓本体1、第一螺母2、螺丝套3、第二螺母4;所述螺栓本体1包括螺栓头101和螺栓杆102;
所述螺栓杆102的外表面上设置有螺栓外螺纹103;
所述第一螺母2的内表面上设置有与螺栓外螺纹103配合的第一内螺纹;
所述螺丝套3的内表面上设置有与螺栓外螺纹103配合的螺丝内螺纹;所述螺丝套3的外表面上设置有螺丝外螺纹301;
所述第二螺母4的内表面上设置有与螺丝外螺纹301配合的第二内螺纹;
所述螺栓外螺纹103与螺丝外螺纹301的旋向相反。
优选的,所述螺栓头101为圆柱型或正六棱柱型。
优选的,所述螺栓本体1为全牙螺栓。
优选的,如图2所示,所述螺丝套3一端的外侧面上设置有若干组卡口切面302,每组卡口切面302相对设置;卡扣切面302作为扳手拧紧的作用面。
优选的,所述第一螺母2的厚度与第二螺母4的厚度一致。
优选的,所述第一螺母2外侧面的横截面与第二螺母4外侧面的横截面大小一致。
一种防松动的组合螺栓,其具体实施方式如下:
当需要将图3中的第一构件01、第二构件02固定连接时,首先将螺栓杆102穿过第一构件01、第二构件02上的螺纹孔,然后将第一螺母2旋在螺栓杆102上并拧紧,使第一构件01、第二构件02夹紧固定在螺栓头101与第一螺母2之间;然后将螺丝套3旋在螺栓杆102上并拧紧,使螺丝套3的底端面顶在第一螺母2的顶端面上,螺丝套3与第一螺母2形成了双螺母的结构,在一定程度上增加了预紧力,从而能够防止第一螺母2的松动;最后将第二螺母4旋在螺丝套3上并拧紧,使第二螺母4的底端面顶在第一螺母2的顶端面上,从而完成第一螺母2、螺丝套3、第二螺母4的配合,这三者的配合增加了预紧力,进一步防止第一螺母2的松动。
当受到振动或者外力作用下第一螺母2有松动的趋势时,由于第二螺母4的底端面压紧在第一螺母2的顶端面上,因此第二螺母4与第一螺母1接触面之间存在摩擦力,该摩擦力促使第二螺母4产生与第一螺母2的松动方向一致的运动趋势;由于螺栓外螺纹103、螺丝外螺纹301的旋向相反,因此第一螺母2的松动方向与第二螺母4的拧紧方向一致;因此当第一螺母2有松动的趋势时,第二螺母4会因为相反的螺纹结构而产生自紧作用,从而防止第一螺母2的松动。
实施例2:
如图4-5所示,在实施例1的基础上,所述螺栓杆102的上部设置有用来防止螺丝套3由螺栓杆102上脱落的限位件。
优选的,所述限位件为限位销5;
所述螺栓杆102的上部沿轴向方向设置有若干贯通的用来安装限位销5的限位孔104,所述限位孔104的中心轴线与螺栓杆102的中心轴线相垂直;
所述螺丝套3的上部设置有贯通的用来与限位销5配合的定位孔303,所述定位孔303的中心轴线与螺丝套3的中心轴线相垂直。
优选的,所述限位销5的一端固定设置防脱端头501;所述限位销5的另一端螺纹连接有防脱螺母502。
当需要将图5中的第一构件01、第二构件02固定连接时,首先将螺栓杆102穿过第一构件01、第二构件02上的螺纹孔,然后将第一螺母2旋在螺栓杆102上并拧紧,使第一构件01、第二构件02夹紧固定在螺栓头101与第一螺母2之间;然后将第二螺母4安装在螺丝套3的底部,随后将螺丝套3旋在螺栓杆102,在螺丝套3的底端靠近第一螺母2的上端面时,使螺丝套3上定位孔303与最接近的限位孔104对齐,并在对齐的定位孔303、限位孔104内插入限位销5,并在限位销5的另一端旋上防脱螺母502;最后旋转第二螺母4,使第二螺母4抵在第一螺母2上。
实施例2中,当第一螺母2有松动的趋势时,第二螺母4会因为相反的螺纹结构而产生自紧作用,从而防止第一螺母2的松动。
实施例2中限位销5的安装,将螺丝套3与螺栓杆102固定在一起,能起到更好的防松动效果;同时限位销5的设置,使螺丝套3、第一螺母2、第二螺母4在振动或者外力作用下都不会发生脱落,防止部件脱落造成各个件的丢失,同时也避免了部件脱落使第一构件01、第二构件02完全脱离而带来的损失。
上述虽然结合附图对本实用新型的具体实施方式进行了描述,但并非对本实用新型的限制,所属领域技术人员应该明白,在本实用新型的技术方案的基础上,本领域技术人员不需要付出创造性劳动即可做出的各种修改或变形仍在本实用新型的保护范围以内。