欢迎中科胜创科技成果转化平台官网
首页
关于我们
关于我们
平台荣誉
新闻动态
最新动态
政策法规
媒体报道
科技成果
成果转让
技术需求
成果评价
资本对接
智能制造
智能化改造
专家智库
国内院士
诺奖得主
高尖人才
院士专家工作站
院士工作站
科技成果转化基地
科技创新中心
重点实验室
联系我们
联系电话
公众号
ACHIEVEMENT
科技成果
您现在的位置:首页 > 科技成果 > 居民服务、住宿和餐饮业、金融业和其他服务业
成果转让
技术需求
成果评价
资本对接
一种脚踏式换挡三轮步行车
2021-04-08 阅读次数:4265
专利名称: 一种脚踏式换挡三轮步行车
申请(专利)号: 201921024801.6
专利权人:丁光俊
项目简介: 本实用新型公开了一种脚踏式换挡三轮步行车,包括左右转向控制线、卡手、步行车大梁和换挡杆支架,所述换挡杆支架的上方固定安装有换挡手柄,所述换挡杆支架上安装有换挡杆上轴,所述换挡杆支架的一侧固定安装有手动助力臂复位弹簧,所述手动助力臂复位弹簧的下方通过手动助力臂转轴活动安装有手驱齿轮二,所述手驱齿轮二的下方活动通过前带转飞轮轴活动安装有前带转飞轮二,本实用新型通过一系列结构和部件协调配合使用,可使步行车在整体使用的过程中稳定性能更加好,使用过程中不容易发生倾倒侧翻,同时使用者可根据实际的需要进行配重和速度的调节,根据自己的锻炼需要调节到适当的脚踏负重,手脚均得到有效锻炼,锻炼的效果更佳。
一种脚踏式换挡三轮步行车
技术领域
本实用新型属于步行车技术领域,具体涉及一种脚踏式换挡三轮步行车。
背景技术
自行车,又称脚踏车或单车,通常是二轮的小型陆上车辆。人骑上车后,以脚踩踏板为动力,是绿色环保的交通工具。英文bicycle。其中bi意指二,而cycle意指轮,即两轮车。在中国内地、台湾、新加坡,通常称其为“自行车”或“脚踏车”;在港澳则通常称其为“单车”(其实粤语通常都这么称呼);而在日本称为“自転(转)车”。自行车种类很多,有单人自行车,双人自行车还有多人自行车。
但是脚踏自行车的锻炼效果十分有限,且所适用的人群也有所限制性,一般只适用于年轻群体,对于老年人和儿童来说容易因自身的控制力较差摔倒,从而导致身体受到伤害,而且手部也得不到相应锻炼。
实用新型内容
本实用新型要解决的技术问题是克服现有的缺陷,提供一种脚踏式换挡三轮步行车,以解决上述背景技术中提出的脚踏自行车的锻炼效果十分有限,且所适用的人群也有所限制性,一般只适用于年轻群体,对于老年人和儿童来说容易因自身的控制力较差摔倒,从而导致身体受到伤害,而且手部也得不到相应锻炼的问题。
为实现上述目的,本实用新型提供如下技术方案:一种脚踏式换挡三轮步行车,包括左右转向控制线、卡手、步行车大梁和换挡杆支架,所述换挡杆支架的上方固定安装有换挡手柄,所述换挡杆支架上安装有换挡杆上轴,所述换挡杆支架的一侧固定安装有手动助力臂复位弹簧,所述手动助力臂复位弹簧的下方通过手动助力臂转轴活动安装有手驱齿轮二,所述手驱齿轮二的下方活动通过前带转飞轮轴活动安装有前带转飞轮二,所述前带转飞轮二的一侧活动安装有手驱动链盘,所述手驱动链盘的一侧活动安装有前轮,所述前轮上固定安装有n型方向扭转轴,所述n型方向扭转轴的上方固定安装有方向控制杆;
所述前带转飞轮二的一侧通过换挡杆下轴活动安装有换挡拉杆,所述换挡拉杆的一侧通过步行车中轴活动安装有后带转飞轮、前带转飞轮一和中轴链盘,所述后带转飞轮的一侧开设有移动轴支架,所述移动轴支架下端固定在步行车大梁的下部横梁上,所述移动轴支架上端设置有支架滑槽,所述移动轴支架上部呈凹型,且凹型两侧均为支架滑槽,所述凹型内驱动杠杆的移动轴滑槽活动并列插入,所述移动轴滑槽和支架滑槽内有移动轴穿过,所述移动轴转动连接在换挡拉杆的一端,所述驱动杠杆上方通过转轴活动安装有驱动齿轮,所述驱动杠杆的一侧通过后轮轴活动安装有后轮和后轮飞轮,所述步行车中轴上安装有中轴链盘、前带转飞轮一与后带转飞轮,所述步行车中轴一侧安装有驱动齿轮轴,所述驱动齿轮轴转动安装有驱动齿轮,所述前带转飞轮二轴上转动安装有手驱动链盘、前带转飞轮一,所述后轮飞轮和中轴链盘之间有后驱动链条链接,所述前带转飞轮和手驱动链盘之间有前驱动链条链接。
优选的,所述换挡手柄上通过卡手转轴活动安装有卡手。
优选的,所述驱动齿轮的上方固定安装有步行车大梁,且步行车大梁与驱动杠杆之间固定安装有上拉弹簧。
优选的,所述驱动杠杆的一端固定安装有脚踏板。
优选的,所述换挡手柄的一侧固定安装有后轮刹车线,且后轮刹车线的一侧固定安装有左转向手柄。
优选的,所述左转向手柄的一侧设置有左转向控制线,且左转向控制线的一侧固定安装有后轮刹车线,右转向手柄上设置有前轮刹车线,所述前轮刹车线的一侧固定安装有右转向控制线。
优选的,所述左转向控制线和右转向控制线的一端分别连接在左转向手柄和右转向手柄的外延向外突出的部件上。
与现有技术相比,本实用新型提供了一种脚踏式换挡三轮步行车,具备以下有益效果:
本实用新型通过一系列结构和部件协调配合使用,可使步行车在整体使用的过程中稳定性能更加好,使用过程中不容易发生倾倒侧翻,同时使用者可根据实际的需要进行配重和速度的调节,根据自己的锻炼需要调节到适当的脚踏负重,手脚均得到有效锻炼,锻炼的效果更佳,使步行车能够适应不同的使用群体,大大提高了步行车的整体使用效率和实用性能,降低了步行车的使用限制性。
附图说明
附图用来提供对本实用新型的进一步理解,并且构成说明书的一部分,与本实用新型的实施例一起用于解释本实用新型,并不构成对本实用新型的限制,在附图中:
图1为本实用新型提出的主视图;
图2为本实用新型提出的侧视图;
图3为本实用新型提出的换挡驱动部分结构示意图;
图4为本实用新型提出的大梁骨架图;
图5为本实用新型提出的俯视图;
图6为本实用新型提出的移动轴支架工作示意图;
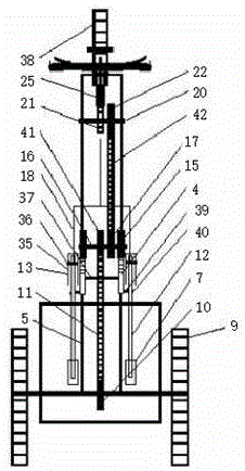
图中;1-左转向控制线;2-前轮刹车线;3-右转向手柄;4-驱动齿轮; 5-步行车大梁;6-上拉弹簧;7-脚踏板;8-后轮轴;9-后轮;10-后轮飞轮; 11-后驱动链条;12-驱动杠杆;13-移动轴支架;14-支架滑槽;15-后带转飞轮;16-步行车中轴;17-前带转飞轮一;18-换挡拉杆;19-换挡杆下轴;20- 前带转飞轮轴;21-前带转飞轮二;22-手驱动链盘;23-n型方向扭转轴;24- 方向控制杆;25-手驱齿轮二;26-手动助力臂转轴;27-手动助力臂复位弹簧; 28-换挡杆上轴;29-换挡杆支架;30-卡手转轴;31-卡手;32-换挡手柄;33- 后轮刹车线;34-左转向手柄;35-移动轴滑槽;36-移动轴;37-转轴;38-前轮;39-驱动齿轮带转轴;40-驱动齿轮带转轴孔;41、中轴链盘;42-前驱动链条;43-转轴孔;44-右转向控制线;45-手动助力臂、46-卡手固定齿轮、 47-换挡杆。
具体实施方式
下面将结合本实用新型实施例中的附图,对本实用新型实施例中的技术方案进行清楚、完整地描述,显然,所描述的实施例仅仅是本实用新型一部分实施例,而不是全部的实施例。基于本实用新型中的实施例,本领域普通技术人员在没有做出创造性劳动前提下所获得的所有其他实施例,都属于本实用新型保护的范围。
请参阅图1-6,本实用新型提供一种技术方案:一种脚踏式换挡三轮步行车,包括左转向控制线1、右转向控制线44、卡手31、步行车大梁5和换挡杆支架29,换挡杆支架29的上方固定安装有换挡手柄32,换挡杆支架29上安装有换挡杆上轴28,换挡杆手柄28下面固定安装有换挡杆47,换挡手柄32通过换挡杆上轴28在这里同换挡杆支架29转动连接,换挡杆47下端设有换挡杆下轴19,换挡杆下轴19和换挡杆18在这里转动连接,换挡杆支架29 的一侧固定安装有手动助力臂复位弹簧27,手动助力臂复位弹簧27的下方通过手动助力臂转轴26活动安装有手驱齿轮二25,手驱齿轮二25的下方活动通过前带转飞轮轴20活动安装有前带转飞轮二21,前带转飞轮二21的一侧活动安装有手驱动链盘22,手驱动链盘22的一侧活动安装有前轮38,前轮 38上固定安装有n型方向扭转轴23,n型方向扭转轴23的上方固定安装有方向控制杆24;
前带转飞轮二21的一侧通过换挡杆下轴19活动安装有换挡拉杆18,换挡拉杆18的一侧通过步行车中轴16活动安装有后带转飞轮15、前带转飞轮一17和中轴链盘41,后带转飞轮15的两侧开设有移动轴支架13,移动轴支架13下端固定在步行车大梁5的下部横梁上,移动轴支架13上端设置有支架滑槽14,移动轴支架13上部呈凹型,且凹型两侧均为支架滑槽14,凹型内驱动杠杆12的移动轴滑槽35可以活动并列插入,移动轴滑槽35和支架滑槽14内有移动轴36穿过,移动轴36转动连接在换挡拉杆18的一端,驱动杠杆12上方通过转轴37活动安装有驱动齿轮4,驱动杠杆12的一侧通过后轮轴8活动安装有后轮9和后轮飞轮10,步行车中轴16上端安装有中轴链盘 41、前带转飞轮一17与后带转飞轮15,前带转飞轮轴20上活动安装有手驱动链盘22、前带转飞轮二21,后轮飞轮10和中轴链盘41之间有后驱动链条 11链接,前带转飞轮一17和手驱动链盘22之间有前驱动链条42链接,当两个滑槽并列平行时移动轴36可在两个滑槽内左右移动,使用者可根据实际的需要进行配重和速度的调节,根据自己的锻炼需要调节到适当的脚踏负重,使锻炼的效果更佳,使步行车能够适应不同的使用群体,大大提高了步行车的整体使用效率和实用性能,降低了步行车的使用限制性。
换挡手柄32上通过卡手转轴30活动安装有卡手31,驱动齿轮4的上方固定安装有步行车大梁5,且步行车大梁5与驱动杠杆12之间固定安装有上拉弹簧6,驱动杠杆12的一端固定安装有脚踏板7,换挡手柄32的一侧固定安装有后轮刹车线33,且后轮刹车线33的一侧固定安装有左转向手柄34,左转向手柄34的一侧设置有左转向控制线1,且左转向控制线1的一侧固定安装有后轮刹车线33,右转向手柄3上设置有前轮刹车线2,前轮刹车线2 的一侧固定安装有右转向控制线44,左转向控制线1和右转向控制线44的一端分别连接在左转向手柄34和右转向手柄3的外延向外突出的部件上。
本实用新型的工作原理及使用流程:使用时,使用本步行车之前需要对本步行车进行检查,检查完毕后方可进行使用,当需要进行步行车使用时,首先可通过左脚向下踏左侧脚踏板7,左侧驱动杠杆12就会沿着移动轴36向下转动,驱动齿轮4的一端固定安装有驱动齿轮带转轴39,驱动齿轮带转轴39 从驱动杠杆12上的驱动齿轮带转轴孔40中穿过,转动的驱动杠杆12在转动时就会带动驱动齿轮4沿着转轴37转动,驱动齿轮4和后带转飞轮15是齿合的,驱动齿轮4就会带动后带转飞轮15转动,后带转飞轮15就会带动步行车中轴16转动,步行车中轴16上的中轴链盘41和后轮飞轮10之间有后驱动链条11链接,联动关系就会带动后轮9转动,步行车就会向前行,当左脚踏板7踏到底部后,右脚又向下踏下右侧脚踏板7,左侧驱动杠杆12的上端与脚踏板7固定连接,且在上拉弹簧6的拉力作用下开始向上移动,右脚下踏右侧踏脚板7同样原理又将步行车向前驱动,左右两脚如此往返,步行车就不停的向前驱动。
当需要进行换挡时,左右脚踏板12同时踏到最底,这时左右驱动杠杆12 处于并列水平状态,大小一样的支架滑槽14和移动轴滑槽35并列重合,换挡拉杆18呈水平放置,换挡拉杆18两侧的顶端分别转动连接左右移动轴36,移动轴36同时从支架滑槽14和移动轴滑槽35从内向外穿过,换挡拉杆18 的另一端和换挡杆47的下端在换挡杆下轴19处是转动连接,换挡杆47和换挡杆支架29在换挡杆上轴28处转动连接,换挡杆47上部固定连接有换挡手柄32,换挡手柄32向内拉动,换挡杆47就会沿着换挡杆上轴28转动,将换挡拉杆18向前拉动并将卡手31在卡手固定齿轮46处固定后,因换挡拉杆18 和移动轴36是转动连接在一起的,这时移动轴36在换挡拉杆18的作用下,在移动轴滑槽35和支架滑槽14内向前滑动,这时移动轴36就远离驱动齿轮 4下端的驱动齿轮带转轴39,阻力臂就加长,此时驱动杠杆12费力,但驱动齿轮4外延移动距离长,适于平地和下坡行走,脚踏板7踏下一次步行车走的距离就会长一些,当换挡手柄32向反方向压动固定,换挡拉杆18就推动移动轴36向移动轴滑槽35和支架滑槽14后方移动,这时移动轴36就会接近驱动齿轮带转轴39,阻力臂就变小,驱动杠杆12就省力,但驱动齿轮4外延移动的距离就会变短,驱动杠杆12就会省力。
当脚踏累了需要用手驱动步行车前行时,左右转向手柄34和3的中部横梁同手动助力臂45的上端固定连接,手动助力臂45的下端和手驱齿轮二25 固定连接,当左右手分别握住左右转向手柄34和3向内侧拉动时,就会带动手动助力臂45沿着手动助力臂转轴26转动,下端的手驱齿轮二25与前带转飞轮二21齿合,手驱齿轮二25就带动前带转飞轮二21转动,前带转飞轮二 21和手驱动链盘22一同固定连接在前带转齿轮轴20上,手驱动链盘22同前带转飞轮一17之间有前驱动链条42链接,手驱动链盘22通过前驱动链条42 带动前带转飞轮一17转动,前带转飞轮一17又带动步行车中轴16转动,联动关系又带动步行车向前行驶,所有步行车上安装的飞轮只能朝着一个方向转动,在步行车驱动过程中,不管是脚驱动,手驱动,还是手脚并用驱动,均互不相影响。
在运行过程中需要进行方向控制时,步行车方向不用扭转“龙头”来控制,是由手柄两端的旋转部件控制,手柄的两端是由左转向手柄34和右转向手柄 3两个可以前后自由旋转的部件组成,左转向控制线1的一端连接在左转向手柄34外延向外突出的一个部件上,右转向控制线44的一端连接在右转向手柄3外延向外突出的一个部件上,左右转向控制线的另一端分别与方向控制杆24的两端连接,比如,当左转向手柄34向内侧捏转时,与左转向手柄34 连接的左转向控制线1跟着向内侧移动,就会拉动方向控制杆24向左侧旋传,方向控制杆24中部同n型方向扭转轴23顶端连接,n型方向扭转轴23底部同前轮38的轮轴穿连,就会带动前轮38向左侧转动,完成步行车方向向左侧转动,同样,当右转向手柄3向内侧捏转时,通过右转向控制线的作用,完成步行车的向右转动。
尽管已经示出和描述了本实用新型的实施例,对于本领域的普通技术人员而言,可以理解在不脱离本实用新型的原理和精神的情况下可以对这些实施例进行多种变化、修改、替换和变型,本实用新型的范围由所附权利要求及其等同物限定。
上一篇: 安装稳固且便于无痕拆除的金属膨胀螺栓
下一篇:齿轮传动式省力螺丝刀
Copyright © 北京中科胜创国际科技发展中心 2020. All Rights Reserved
京ICP备20017519号-1