专利名称:一种防松脱的螺栓、螺母组件
申请(专利)号:
专利权人:张大川
项目简介: 本实用新型公开了一种防松脱的螺栓、螺母组件,包括螺栓、螺纹连接在所述螺栓的螺杆上的螺母、位于所述螺母外端设于所述螺杆顶面中部的凸块、设于所述螺母外端的第一环形凹槽、套在所述凸块上一端伸入所述第一环形凹槽与所述第一环形凹槽的底面抵接的卡件、设于所述环形凹槽侧壁中部的环形卡槽、卡接在所述环形卡槽上以限制所述卡件轴向移动的卡簧。与现有技术相比,本实用新型提出的防松脱的螺栓、螺母组件,自锁能力强,不易松脱,紧固效果较好,可靠性高,消除了安全隐患。
一种防松脱的螺栓、螺母组件
技术领域
本实用新型涉及紧固装置技术领域,更具体地说,是涉及一种防松脱的螺栓、螺母组件。
背景技术
随着社会的发展,科技的不断进步,螺栓与螺母的紧固组合被广泛应用于工业生产中的各个行业,目前的螺母、螺栓在配合使用中,通常是添加平垫片和弹簧垫以增加紧固效果,防止松脱。这种结构无法从根本上起到防松脱的作用,防松脱效果不够好,因螺母松动而引起的事故很多。在很多尖端、军工或铁路桥梁领域,对螺栓、螺母组件的紧固要求更高,一旦发生松脱,后果不堪设想,具有一定的安全隐患。因此,急需要一种紧固效果较好,能够有效防止松脱的螺栓、螺母组件以满足用户的需要。
实用新型内容
本实用新型为了解决现有技术中存在的问题,提供了一种防松脱的螺栓、螺母组件,以解决现有技术中存在的螺母容易松脱,紧固效果不好的问题。
为了实现上述的目的,本实用新型的技术方案是:
一种防松脱的螺栓、螺母组件,包括螺栓、螺纹连接在所述螺栓的螺杆上的螺母、位于所述螺母外端设于所述螺杆顶面中部的凸块、设于所述螺母外端的第一环形凹槽、套在所述凸块上一端伸入所述第一环形凹槽与所述第一环形凹槽的底面抵接的卡件、设于所述环形凹槽侧壁中部的环形卡槽、卡接在所述环形卡槽上以限制所述卡件轴向移动的卡簧。
所述卡件设有轴向通孔,所述轴向通孔的形状尺寸与所述凸块的形状尺寸相应,所述卡件通过所述轴向通孔套在所述凸块上以限制其转动。
所述凸块的横截面为多边形。
所述凸块的横截面为正方形或长方形。
所述卡件包括主体,所述主体伸入所述第一环形凹槽一端处的外侧壁上设有径向伸出的凸环。
所述凸环的厚度与所述环形卡槽和所述第一环形凹槽底面之间的距离相应,当所述卡簧置于所述环形卡槽内时,所述卡簧的底面与所述凸环的顶面抵接。
所述主体靠近所述凸环的端面上设有第二环形凹槽,所述第二环形凹槽的直径大于所述螺杆的外径。
所述第一环形凹槽的侧壁上位于所述环形卡槽两侧分别设有一圈间隔设置的凹槽,所述凸环的外圆周表面设有与所述凹槽配合卡接的凸起,两圈凹槽中在轴向上相应位置的两个凹槽的位置一致。
所述轴向通孔与所述凸块之间留有间隙。
所述螺栓包括头部,所述螺杆的一端垂直连接于所述头部的一端,所述凸块位于所述螺杆上远离所述头部的一端。
本实用新型的有益效果:
与现有技术相比,本实用新型提出的防松脱的螺栓、螺母组件,自锁能力强,螺母不易松脱,紧固效果较好,可靠性高,消除了安全隐患。
附图说明







下面结合附图对本实用新型的具体实施方式作进一步详细说明,其中:
图1是本实用新型的工作状态示意图。
图2是图1的A-A剖视图。
图3是本实用新型的螺栓的结构示意图。
图4是本实用新型的螺母的立体图。
图5是本实用新型的螺母的剖视图。
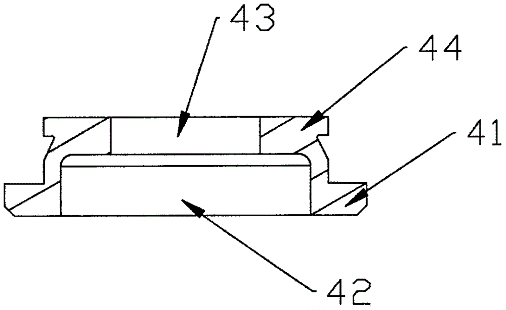
图6是本实用新型的卡件的立体图。
图7是本实用新型的卡件的剖视图。
具体实施方式
为了使本实用新型解决的技术问题、采用的技术方案、取得的技术效果易于理解,下面结合具体的附图,对本实用新型的具体实施方式做进一步说明。
需要说明的是,为了便于描述,附图中仅示出了与本实用新型有关的部分而非全部结构。
如图1、2所示,在本实用新型的一具体实施例中,提供了一种防松脱的螺栓、螺母组件,包括螺栓1、螺纹连接在螺栓1的螺杆12上的螺母2、位于螺母2外端设于螺杆12顶面中部的凸块13、设于螺母2外端的第一环形凹槽21、套在凸块13上一端伸入第一环形凹槽21与第一环形凹槽21的底面抵接的卡件4、设于第一环形凹槽21侧壁中部的环形卡槽22、卡接在环形卡槽22上以限制卡件4轴向移动的卡簧3。
如图3所示,螺栓1包括头部11,头部11为六角形,在一些其它实施例中,也可以采用其它形状,例如四角形等,螺杆12的一端垂直连接于头部11的一端,凸块13位于螺杆12上远离头部11的一端,螺杆12上设有外螺纹,头部11、螺杆12及凸块13为一体成型结构。
如图4所示,螺母2为六角形,也可以为四角形等,其内孔设有与螺杆12上的外螺纹匹配的内螺纹。
螺栓1、螺母2优选采用不锈钢制成,卡件4和卡簧3优选采用弹簧钢制成。卡簧3采用标准件,故没有画出详细的结构图或立体图。螺母2用于锁紧安装在螺栓1的头部11与螺母2之间的工件5,卡件4用于顶住螺母2防止其轴向移动,凸块13用于限制卡件4防止其围绕螺杆12的轴向转动,卡簧3用于顶住卡件4,防止其沿着螺杆12的轴向移动,从而当螺母2将工件5锁紧在螺杆12上时,螺母2与卡件4及卡簧3之间具有较好的自锁能力,螺母2不易松脱,紧固效果较好,可靠性高,消除了安全隐患。
如图6、7所示,卡件4包括主体44,主体44伸入第一环形凹槽21一端处的外侧壁上设有径向伸出的凸环41。在本实施例中,主体44为圆柱状,也可以根据需要采用其它与第一环形凹槽21适配的形状。
卡件4设有轴向通孔43,轴向通孔43的形状尺寸与凸块13的形状尺寸相应,卡件4通过轴向通孔43套在凸块13上以限制其转动。
优选地,为了便于加工,凸块13的横截面为正方形或长方形。
凸环41的厚度与环形卡槽22和第一环形凹槽21底面之间的距离相应,当卡簧3置于环形卡槽22内时,卡簧3的底面与凸环41的顶面抵接。
主体44靠近凸环41的端面上设有第二环形凹槽42,第二环形凹槽42的直径大于螺杆12的外径。当工件5的高度不够时,方便卡件4的主体44的底部通过第二环形凹槽42套在螺杆12上,以便适应工件的高度,便于装配。
如图2、4、5、6所示,进一步地,第一环形凹槽21的侧壁上位于环形卡槽22的上下两侧分别设有一圈间隔设置的凹槽23,凸环41的外圆周表面设有与凹槽23配合卡接的凸起411,两圈凹槽23中在轴向上相应位置的两个凹槽23的位置一致,以便于凸环41上的凸起411能够与两圈凹槽23同时对正,使其顺利插进第一环形凹槽21并与内侧的一圈凹槽23卡接。凸起411与凹槽23卡接可以进一步的限制卡件4转动。
优选地,通孔43与凸块13之间留有间隙。便于卡件4可以小角度转动以方便凸起411与凹槽23对位,避免因为加工误差等原因而对位不准的现象出现。
如图1所示,使用时,带有内孔的工件5套在螺栓1的头部11与螺母2之间的螺杆12上,螺母2与螺杆12螺纹连接并将工件5锁紧,卡件4的凸环41置于螺母2外端的第一环形凹槽21内并通过卡簧3固定防止其轴向移动,卡件4的通孔43与凸块13配合以及卡件4的凸环41上的凸起411与螺母2上凹槽23的配合,双重限制卡件4围绕螺杆12的轴向转动,从而达到了较好的锁紧效果,螺母2及工件5都不会松动。当工件5的高度与螺杆12的长度具有较小偏差时,可以通过在工件5的两端添加垫片来进行调整,如果偏差较大,可以考虑更换螺杆12的长度,拆卸时,卡簧3可以通过工具别出或夹出等方式取出来。
以上实施例和附图仅用于说明本实用新型的技术方案,并非构成对本实用新型的限制。应当说明的是,本领域普通技术人员可以对前述实施例所记载的技术方案进行修改,或者对其中部分或全部技术特征进行等同替换,而这些修改或者替换应包括在本实用新型权利要求书保护的范围内。